Interiors 1900 CMP86AB Table Light

Installation and Safety Instructions
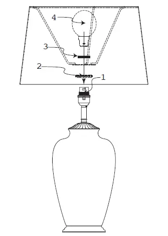
Table Light
Safety Warnings
These instructions are for your safety. Please read through them thoroughly before use and retain them for future reference. If you are in any doubt about installing this product, consult a qualified electrician.
This product is only suitable for connection to a 220-240V~ 50Hz supply. It is for indoor use only, and not suitable for a bathroom location.
This is a Class l product and must be Earthed. The terminal blocks are supplied according to requirements of the fitting.
Do not attempt to plug in or use this product until it has been fully assembled. Disconnect from mains during assembly or maintenance. this product must be used on a stable, flat surface.
Under no circumstances must this lamp be covered with any material as this could pose a safety hazard.
This product is not suitable for persons under 14 years of age.
This product may contain delicate parts – be careful during handling and maintenance to avoid breakage.
The lamp must be protected by a 3 amp fuse in the mains plug.
Never fit bulbs of a higher wattage than those specified on the label as these may damage the fitting.
Never put anything on the product or hang anything on any part of this product.
If the external flexible cable or cord of this luminaire is damaged, it must only be replaced by a qualified electrician to avoid any electrical hazards.
Waste electrical products should not be disposed of with household waste. Please recycle where facilities exist. Check with your Local Authority or local store for recycling advice.
Care and maintenance
For bulb replacement, switch off the product (preferably, isolate it at the distribution board) and allow it to cool down (Caution: bulb gets hot during use).
Clean with a dry cloth only. Do not use liquid or abrasive cleaners on this product.
Troubleshooting
When the bulb does not light after installation:
- Please plug in and operate the switch to turn your lamp on.
- Please check the bulb.
- Please check the 3 amp fuse in the plug and ultimately check the relevant fuse in your fuse box.
If you have any doubt about installation/use of this product, consult a qualified electrician.
Assembly Instructions
Base style may vary. Shade/Bulb be ordered separately.



















