NOVA LIFE 30178-150-28 Interior Table Lamp Instruction Manual
Warning
- Only use bulbs as directed on the label on the lamp.
- Turn off the lamp before replacing the bulb and wait until the bulb has cooled. Take special care to touch the lamp when the lamp is lit. It can be hot.
Package Contents

| Part | Description | Quantity |
| A | The fixture with wire | 1 |
| B | Wrench | 1 |
Light source
- 230V E27 1 x 40W Max (not include)
- Recommend LED bulb
Care and Cleaning
EXTERIOR MAINTENANCE
- To clean the outside of the fixture, use a dry or slightly dampened clean cloth (use clean water, never a solvent) to wipe the surface of the fixture.
- Do not use any cleaners with chemicals, solvents or harsh abrasives. Use only a dry soft cloth to dust or wipe carefully.
Pre-Installation
PLANNING THE INSTALLATION
Read all instructions before assembly and installation. Before starting installation of the fixture or removal of a previous fixture, disconnect the power by turning off the circuit breaker or by removing the fuse at the fuse box. To avoid damaging this product, assemble it on a soft, non-abrasive surface such as carpet or cardboard.
TOOLS REQUIRED
Installation
- Step 1.
Connect the top pipe to the middle pipe:
- Step 2.
Connect the middle pipe to the bottom pipe:
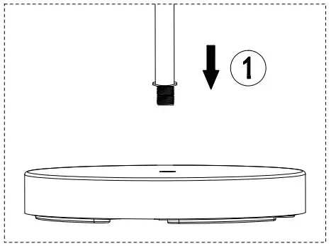
- Step 3.
Insert the whole pipe into the base:
- Step 4.
Locking the nut and the gaskets on to the pipe as above:
- Step 5.
Insert the correct light bulb:
Max E27 230V 40W; Recommend LED bulb.

Operation
- Turn on power at the circuit breaker or fuse box.
- Turn the light switch on to activate the fixture.


























