TREND TP60022 Table Lamp

TP60022 (Pendant Installation)
Please read carefully and save these instructions, as you may need them at a later date.
CAUTION
- WARNING: Risk of Fire. Consult a qualified electrician to ensure the correct branch circuit conductor. Min 90ºC supply conductors.
- Turn off the main power at the circuit breaker before installing the fixture, in order to prevent possible shock.
GENERAL
All electrical connections must be in accordance with local and National Electrical Code (N.E.C.) standards. If you are unfamiliar with proper electrical wiring connections obtain the services of a qualified electrician. Remove the fixture and the mounting package from the box and make sure that no parts are missing by referencing the illustrations on the installation instructions.
ASSEMBLY AND INSTALLATION
- Put swivel (14) through the center hole on canopy (12) and secure with lock nut (11).
- Choose your desired length of stems (17)(18)(19), and then pass the power supply cord and ground wire through stems (16) (17)(18), washer (15), swivel (14), canopy (12), and lock nuts (11).
- Connect stems (16) (17)(18) one by one, then attach the lower end of the stem (18) onto the lamp body (19) and the upper end of the stem (16) into the swivel (14).
- Thread canopy screws (08) into the mounting bar(06) and secure with hex nuts (10).
- Attach mounting bar (06) to outlet box (01) with box screws (09).
- Make a wire connection with white wire (02) and black wire (03). Use wire connectors (05) to secure the connections. Secure ground wire (04) and ground wire from the fixture to the mounting bar (06) with ground screw (07).
- Raise the canopy(12) over the outlet box(01) and secure it with the ball nut(13).
INSTALLATION IS NOW COMPLETED
PARTS AND ASSEMBLY
- OUTLET BOX
- WHITE WIRE
- BLACK WIRE
- GROUND WIRE
- WIRE CONNECTORS
- MOUNTING BAR
- GROUND SCREW
- CANOPY SCREWS
- BOX SCREWS
- HEX NUTS
- LOCK NUTS
- CANOPY
- BALL NUT
- SWIVEL
- WASHER
- STEM (L3’’)
- STEM (L6’’)
- STEM (L12’’)
- LAMP BODY

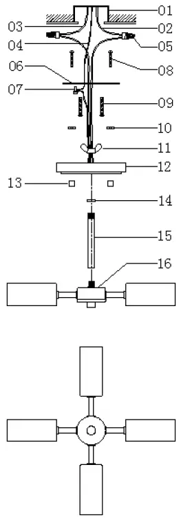
TP60022 (Semi-Flush Installation)
Please read carefully and save these instructions, as you may need them at a later date.
CAUTION
- WARNING: Risk of Fire. Consult a qualified electrician to ensure correct branch circuit conductor. Min 90ºC supply conductors.
- Turn off the main power at the circuit breaker before installing the fixture, in order to prevent possible shock.
GENERAL
All electrical connections must be in accordance with local and National Electrical Code (N.E.C.) standards. If you are unfamiliar with proper electrical wiring connections obtain the services of a qualified electrician. Remove the fixture and the mounting package from the box and make sure that no parts are missing by referencing the illustrations on the installation instructions.
ASSEMBLY AND INSTALLATION
- Pass the power supply cord and ground wire through the stem (15), washer (14), canopy (12), and lock nuts (11).
- Attach the lower end of the stem (15) to the lamp body (16) and the upper end to the canopy. Secure with a lock nut (11).
- Thread canopy screws (08) into the mounting bar(06) and secure with hex nuts (10).
- Attach mounting bar (06) to outlet box (01) with box screws (09).
- Make a wire connection with white wire (02) and black wire (03). Use wire connectors (05) to secure the connections. Secure ground wire (04) and ground wire from the fixture to the mounting bar (06) with ground screw (07).
- Raise the canopy(12) over the outlet box(01) and secure it with the ball nut(13).
INSTALLATION IS NOW COMPLETED
PARTS AND ASSEMBLY
- OUTLET BOX
- WHITE WIRE
- BLACK WIRE
- GROUND WIRE
- WIRE CONNECTORS
- MOUNTING BAR
- GROUND SCREW
- CANOPY SCREWS
- BOX SCREWS
- HEX NUTS
- LOCK NUT
- CANOPY
- BALL NUT
- WASHER
- STEM
- LAMP BODY





















