Chug QIC38 Wireless Charging Station User Guide
Product Description

Quick tips
- Alignment matters -centering the device on the charging surface ensures the fastest and most efficient charge
- Thick phone cases as well as some materials can interfere with the ability to charge
- This is a high speed wireless charger. Make the most of the charger by using the USB-C cable and Quick Charge 3.0 wall plug that were packaged with it. Using a different power source may charge your device at a slower speed.
Included
- Wireless charger
- USB-A to USB-C charging cable
- Quick Charge 3.0 wall plug
Indicators
- Solid Red – Charging your device
- Solid White – Fully charged
- Flashing Red – Foreign object detection, pieces of metal or other materials may cause overheating and damage your charger or phone. Remove them immediately.
Charging
- Place the charger on a sturdy at surface.
- Connect the quick charger 3.0 wall plug to the wall out let using the USB-C cable
- If you need to use a different power source make sure it is a USB power supply of DC 9V 2A minimum warning: please use UL compliant power supply.
- Place your QI-enabled device on to the wireless charger and align the device with
- the center of the charging surface or the device will not charge
- Remove credit cards or any card with a magnetic strip to prevent damage to the cards before charging
- Charge time will vary by device
Setting up the cradle
- See the additional page for help setting up the charging cradle
Troubleshooting
- Double check that the USB-C cable and quick charger 3.0 wall plug are plugged in
- Certain phone cases may interfere with wireless charging. Remove the phone case for best results.
- Double check the placement of the device on the wireless charger. For best results, the center of the device should be on the center of the wireless charger
- Wireless charging is compatible with iPhone 8 and newer as well as other Ql-enabled devices. Please consult your devices user manual if you are unsure if your device is compatible.
need some help?
Can’t get it to charge? Just have a question?
call u at: 877-698-4883 or: 877-MyTgtTech
e-mail us at: TargetTechSupport.com
Safety
- Remove credit cards and other cards with magnetic strips to prevent damage to the cards
- Keep the charger away from heat and direct sunlight
- Do not modify or repair this device
- Do not use in high temperatures or extreme weather
- Do not use chemical detergents to clean your device, use a soft dry cloth
- Immediately unplug it from its power source if it gets wet
- Remove the protective film on the Quick Charge 3.0 wall plug before using
Charging cradle
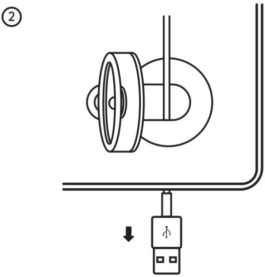
- First lift the cradle up and out of the organizer so it is in the upright position. Be sure not to force the cradle as it only goes to about a 75º incline. It will automatically click into that position.

- Next take your Apple Watch Magnetic Charging Cable and put the USB end through the bottom slot on the charging stand.

- Pull the charge cable through the base and place the charger into the back of the cradle.

- There are two notches on the bottom of the organizer to hold the cable in place:

- At the top of the first bend.
- Where the cable exits the stand. Make sure the cable has slack, so the cradle is adjustable.
Installation tips
- If you’re having issues getting the cradle to the upright position, try pushing from the bottom side of the base
- Take care when removing the charger from the cradle, as too much force may damage the stand.
need some help?
Can’t get the cradle upright? Have a question or comment?
call us at: 877-698-4883 or: 877-MyTgtTech
online at: TargetTechSupport.com
FCC ID: 2AO23-QIC38 Model: QIC38 Input DC 5V/2A 9V/1.7A 12V/1.25A Output: 10W Max Made in China
This device complies with Part 15 of the FCC rules. Operation is subject to the following two conditions: 1) this device may not cause harmful interference, and 2) this device must accept any interference received, including interference that may cause undesired operation.
Warning: Changes or modifications to this unit not expressly approved by the party responsible for compliance could void the user’s authority to operate the equipment.
NOTE: This equipment has been tested and found to comply with the limits for a Class B digital device, pursuant to Part 15 of the FCC Rules. These limits are designed to provide reasonable protection against harmful interference in a residential installation. This equipment generates, uses and can radiate radio frequency energy and, if not installed and used in accordance with the instructions, may cause harmful interference to radio communications.
However, there is no guarantee that interference will not occur in a particular installation. If this equipment does cause harmful interference to radio or television reception, which can be determined by turning the equipment of and on, the user is encouraged to try to correct the interference by one or more of the following measures:
- Reorient or relocate the receiving antenna.
- Increase the separation between the equipment and receiver.
- Connect the equipment into an outlet on a circuit different from that to which the receiver is connected.
- Consult the dealer or an experienced radio/TV technician for help.
This equipment complies with FCC radiation exposure limits set forth for an uncontrolled environment. This equipment should be installed and operated with minimum distance 20cm between the radiator and your body. This transmitter must not be co-located or operating in conjunction with any other antenna or transmitter.
Target Corp. Mpls. MN, 55403 Phone: 612-304-6073






















