Kamoer FX-STP WIFI Peristaltic Pump

Product Information
Introduction
The FX-STP is a high precision peristaltic pump with Wi-Fi control. This unit is designed for continuous running and is perfectly suited for suppling water to a Calcium reactor or Nitrate reactor. The durable stepper motor and robust design make this a low maintenance, reliable unit.
Product features
- Compact design, 250Lx90Wx70H mm including pump head.
- Can be controlled using the Kamoer Remote app or built in manual control dial.
- LCD Display
- Heavy duty pump head with 6 rollers.
- Pharmed BPT pump tube offers long life, heat resistance, acid/alkali resistance and ozone/UV resistance.
- Min flow rate 0.1ml/minute, Max flow rate 120ml/minute.
- Easily calibrated via the Kamoer Remote app or manual control dial.
- The Kamoer Remote app supports iOS and Android to control the pump through WIFI.
- The FX-STP firmware can be updated via the app.
- Requires 2.4G WiFi connection.
Unpacking
Please check for delivery damage before unpacking.
Once opened, please inspect the product for any visible damage and check all parts are included. If any defects are found when unpacking, please contact your retailer immediately.
Box Contents
- FX-STP pump body.
- 24v DC power adapter.
- 3.2×6.4mm Silicone tube.
- 6.4×9.6mm Silicone tube.
- Grease.
- 2 x Tube connectors
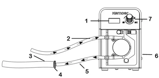
Product Layout

- LCD Display
- Controll Dial
- Pump head adjustment screw
- Inlet
- Outlet
Installation
Positioning the pump
- The FX-STP is a self-priming pump so can sit above or below the water level in the aquarium or sump. To avoid excess pressure on the pump head the tubing should be kept as short as possible.
- Please carefully check that the inlet and outlet tube connections are correct on the pump head and that the hoses are pushed fully onto connections before installation.
- The pump head adjustment screw should never be over tightened, this will cause excessive wear on moving components. Only tighten enough to ensure a reliable pinch on the Pharmed hose.
- The pump should be secured into place or installed in a stable location not above open water, in areas prone to splashing or in very humid environments.

- LCD Display
- Inlet tube 3.2 x 6.4mm
- Outlet tube 6.4 x 9.6mm
- Tube connector
- Outlet tube 3.2 x 6.4mm
- Power connection
- Control Dial
Installing the Kamoer Remote app for Wi-Fi control
Option 1: Scan the QR code and download the app corresponding to the icon below.

Option 2: Apple users visit the Apple App Store, Android users visit the Google Play store, search for “Kamoer Remote”, and download the app with the corresponding icon above.
Kamoer Remote app supports Android 4.4 and above and supports iOS 9.1 and above.
Register your cloud account
You will need to register an account and login on the Kamoer remote app before using your pump. Choose to register via E-mail or mobile then follow the onscreen instructions to complete registration and login.

Connecting the pump to the Kamoer Remote app
- Make sure your mobile device is connected to your home network, the location services on the mobile device are enabled and that the Kamoer Remote app permissions are set correctly from your mobile devices’ settings page.
- Please note the device does not support 5G Wi-Fi and cannot use a 5G Wi-Fi hotspot. If your internet supplier’s router is running a mixed mode 2.4ghz/5ghz Wi-Fi network please check their online instructions, website or support forum to de-synchronise the bands into two separate 2.4 and 5ghz networks before attempting to connect the pump.
- Connect the power supply to the DC socket on the back of the pump and plug in to a mains power source.
- Open the App, click the ‘+’ button in the upper right corner to add the device.
- Under the Kamoer heading select ‘FX-STP 2’and confirm that your mobile device is connected to the Wi-Fi network.

- Enter you 2.4G Wi-Fi network password and then when prompted tap next.
- On the front of the FX-STP pump turn the control dial to the left or right to bring up the menu, continue to turn the dial until ‘Wi-Fi’ is highlighted. Press the control dial to select. The display should now display the Wi-Fi setup mode options and will be flashing between STA Set and AP Set.
- STA set will select the standard set up mode and AP will set the pump up in access point mode. Both will result in the same operation of the pump and connectivity once connected to the app. AP mode can be useful for connecting to a router where the 5g channel cannot be separated easily from the 2.4g channel.
- Turn the dial to highlight the alternating STA Set and AP Set. Continuing to turn the dial will then allow you to choose the setup mode you want to use. Once chosen press the dial to select, the display will now show either ‘STA setting….’ or ‘AP Setting….’ depending on your choice.

Continuing the setup in Standard (STA) Mode
- The screen on the pump will display ‘STA Setting…’ to show it is ready to connect, in the app tap on the blue bar at the bottom of the screen to initiate the connection.
- After the connection is successful, the app will confirm the successful connection and the display on the pump will return to the Wi-Fi settings menu.
- At this point the dosing pump is connected to the cloud and the dosing program can be set via the app.

Continuing the setup in Access Point (AP) Mode
- The screen on the pump will display ‘AP Setting…’ to show it is ready to connect, in the app tap on ‘By AP’ in the top right corner to switch to Access Point mode setup then select the blue bar at the bottom of the screen to continue.
- Tap on ‘Go to set device Wi-Fi’ located in the middle of the screen and then into the Wi-Fi options on your mobile device. In the list of available networks you should see ‘KAMOER_’ followed by the serial number for the pump, choose this network and allow your mobile device to connect. Once connected return to the Kamoer Remote app and tap on the blue bar at the bottom of the screen to confirm that you are connected to the device Wi-Fi and initiate the connection. As the pump is connecting
- ‘Please switch back to your home router’ will flash on the screen, at this point you can return back to the Wi-Fi settings on your mobile device and reconnect to the home network. It is not essential to do this as it will happen automatically once the connection process has finished.

Programming the pump
- To program the pump, open the Kamoer Remote app and select the device you want to program from the available devices list.
- With the device selected the manual page will be displayed.
- From this the flow rate of the pump can be set by tapping on the flow setting number and entering the desired flow rate or by moving your finger along the flow curve above the number.
- When the desired flow rate has been selected tap on the start button and the pump will begin to run. Operation can be stopped by tapping this button again.
- The flow rate can be adjusted without stopping the pump by tapping on the flow setting number and entering the new flow rate or by moving your finger along the flow curve above the number.
- When changing the flow rate in the app the LCD on the pump will automatically update to show the new setting.
- The manual page in the app will also display the rotation speed of the pump head and the tube time. The tube time can be set to indicate when the Pharmed tube will need replacing

Manual app override
- It is possible to manually override the app settings on the pump. When changing the settings via the app ‘Wi-Fi Control’ will be displayed at the top of the LCD on the pump. This will remain for approximately 30 seconds when an app setting has been changed. After this the pump LCD will display ‘Work Mode’. When this is displayed the normal manual controls can be used to turn the pump on or off and change the flow rate.
- Please note if the app is open when the pump settings are manually adjusted the app will not update to display the new settings. To refresh the displayed app settings you will need to return to the app home screen and then re-select the device.
Manual pump operation
- The FX-STP Wi-Fi does not need to be connected to the app for basic operation.
- To set the flow rate of the pump press the control dial to set the pump running then turn the dial left or right to select the flow rate.
- To stop the pump running press the control dial.
- Please note in manual mode the pump must be running to change the flow rate.
Calibration
- When the Dosing pump is initially set up, pump head tube has been changed, or if the unit has been in service for a period of time it is worth calibrating pump head to ensure accuracy.
- Calibration using the Kamoer Remote app
- If the pump has been connected to the app then open the app and select the device.
- On the top right corner of the manual screen tap the settings symbol then select ‘Flow Calibration’ from the list.
- When calibrating the pump, it is best to use a head speed setting that is appropriate to the flow rate you will be operating. For example, if you are planning to set the pump at a flow rate of 60ml/min then use a rotation speed of 150rpm. If the pump has already been set to the desired flow rate this will automatically display a suitable head speed for calibration.
- If the speed needs adjusting for calibration tap on ‘Rotation’ and enter the speed setting.
- Make sure the inlet hose for the pump is submerged and that the outlet hose is directed into a suitable collection container.
- Tap on ‘Start Priming’ to prime the pump head and hose. Once all air has been expelled and the line is fully primed tap ‘Emptying, click to stop’.
- Move the outlet hose into a suitable measuring cylinder.
- Set the time for pump calibration by selecting ‘Add time’ and scrolling through to the desired time. This can be set up to 60 seconds. For increased accuracy, a longer calibration time is best. Please be aware the measuring cylinder needs to be large enough to hold the volume of the water for the calibration.
- Tap on ‘Start Add’ and the pump will run for the time selected in the previous step.
- Once the pump has stopped remove the outlet hose from the measuring cylinder and stand the measuring cylinder on a flat level surface. Use the scale on the side to determine the volume of liquid.
- Enter the volume of liquid collected in ml by tapping in the space next to “Enter volume”.
- Select calibration complete at the bottom of the page and the pump will calculate the flow rate from the time and volume you have entered. The pump is now calibrated.

Manual calibration using the control dial
- If the pump is not being controlled via the app calibration can be done using the LCD display and control dial on the unit.
- If the pump is running press the control dial to stop it running.
- Turn the control dial to enter the menu on the pump. Scroll the dial until ‘Cal’ is highlighted then press the control dial.
- Select the calibration speed, then using the control dial change the speed until the flow rate at the bottom of the screen is set roughly at the normal programmed operating flow rate.
- Make sure that the inlet hose is submerged underwater, the outlet hose is in a suitable measuring cylinder for the calibration volume and that all hoses are primed fully with no air bubbles.
- Turn the control dial to select ‘60s’ then press.
- The pump will run for 60 seconds, as it does the time will countdown on the LCD screen.
- When finished place the measuring cylinder on a flat level surface and use the scale to determine the volume of liquid. This volume can then be entered in the highlighted flow rate by turning the control dial. When the volume is set press the control dial to save the calibration.
- Calibration is now complete.

Advanced Settings
Settings in Kamoer Remote app
At the top right corner of the ‘Manual’ page there is a settings option.

In this you can:
- Rename the pump.
In settings tap on ‘Name’ and the settings page will open. Enter the new name and tap ‘Save’ in the top right corner. - Update firmware.
If the firmware on the device is up to date ‘No Update’ will be displayed. If updates are available tap on the update and follow the instructions on screen. Do not close the app or power down the unit during this process. - Set tube service life
This option is used as a reminder of when the Pharmed tube in the pump head needs replacing. It is advisable to do this to keep optimal performance of the pump and to prevent the chance of a worn hose splitting. Select tube life and enter the number of operating hours that the tube is to be used for before replacing. This will vary depending on the flow rate that the pump is set at. At higher flow rates the hose is compressed more frequently by the rollers and as a result will need replacing sooner. Lubricating the rollers with a silicone grease on a frequent basis will help to ensure that the maximum life can be achieved and that the head runs smoothly. - Calibrate the pump
Used to calibrate the unit to ensure correct flow rate. Please see calibration in this instruction manual. - Reset program to factory setting
Use this function to factory reset the pump. This will remove all programmed settings. To reset tap on ‘Factory Settings Reset’ and select reset. The unit will beep and temporally go offline. When the LCD screen shows ‘Work Mode NET 0’ the unit is reset and ready to programme, this may take a couple of minutes. The pump will not be removed from the app or cloud. Do not power off the unit during this process. - Remove device from the app
To remove the device from the app tap on ‘Remove Device’ and select remove. The unit will still be connected to the associated router. The FX-STP can be added back to a mobile device connected to the same network using the Kamoer Remote App. Tap on the ‘+’ symbol in the devices page and choosing the pump from ‘Local Devices’.
The pump can also be removed in the app device page. Press and hold the icon of the device you want to delete. A prompt will appear at the bottom of the screen. Tap on the trash can symbol in the bottom left to confirm.
Manual Reset of the dosing pump program
The FX-STP can be reset manually in the settings option on the pump itself. Enter the menu, select settings then select restore and OK. This will remove the program settings from the FX-STP. If the pump is connected to the app the settings in the app will also be removed when you log in to the device.
Network Status
The network status is displayed in the top right corner of the LCD screen built into the pump.
- NET 0 : Indicates that the network is connected and functioning.
- NET S : The pump is in distribution state and is ready to be connected to the Wi-Fi.
- NET 1 : Connection to a router has failed.
- NET 2 : The pump is connected to the router but not to the cloud.
Screen Saver
If settings on the FX-STP have not been changed for a period of time or it has not been selected in the Kamoer Remote app the LCD screen will lock displaying a letter L. To unlock the display, press the control dial for 1-2 seconds.
WARRANTY:
Should any defect in material or workmanship be found within 12 months of the date of purchase D-D The Aquarium Solution Ltd undertakes to repair, or at our decision, replace the defective part free of charge. Our policy is one of continual technical improvement and we reserve the right to modify and adjust the specification of our products without prior notification.


























