munchkin 38304 UV Diaper Pail

KEEP FOR FUTURE REFERENCE
Please read the instructions carefully before using this product.
Important Information
IMPORTANT SAFETY INSTRUCTIONS
When using electrical products, especially when children are present, basic safety precautions should always be followed, including the following:
READ ALL INSTRUCTIONS BEFORE USING THE UV DIAPER PAIL
DANGER: To reduce the risk of electrocution:
- Always unplug this product immediately after using.
- Do not use while bathing.
- Do not place in or drop into water or other liquid.
- Do not reach for product that has fallen into water. Unplug immediately if fallen into water.
WARNING: To reduce the risk of burns, electrocution, fire or injury to persons:
- Eye damage may result from directly viewing the light produced by the lamp in this apparatus. Always turn off LED before opening protective cover.
- UV LED radiation can cause serious skin burn and eye injury.
- UV light exposure may degrade plastic, fabric and rubber over time.
- Do not look directly at UV light while in operation.
- Never use this device on pets and/or food.
- Do not tamper the lid interlocks to prevent UV exposure.
- The UV Diaper Pail should never be left unattended when plugged in.
- Close supervision is necessary when the UV Diaper Pail is used by, on or near children or disabled people.
- Do not use attachments not recommended by Munchkin.
- Never operate the UV Diaper Pail if it has a damaged USB cord or plug, if it is not working properly, if it has been dropped or damaged, or dropped into water.
Return the UV Diaper Pail to the Munchkin service center for examination and repair. - Keep the cord away from heated surfaces.
- Never use while sleeping or drowsy.
- Never drop or insert any object into USB port opening.
- This product is for indoor use only.
- Do not allow the UV Diaper Pail to be used as a toy. Close attention is necessary when used by or near children.
- Use only as described in this manual. Use only Munchkin’s recommended attachments.
- Do not pull or carry by the cord, use the cord as a handle, close a door on the cord, or pull the cord around sharp edges or corners. Do not run appliances over the cord.
- Do not unplug by pulling on the cord. To unplug, grasp the plug, not the cord.
- Do not handle the plug or appliance with wet hands.
- Have servicing performed by a qualified repair person using only identical replacement parts. This will ensure that the safety of the product is maintained.
- This appliance can be used by children aged from 8 years and above and persons with reduced physical, sensory or mental capabilities or lack of experience and knowledge if they have been given supervision or instruction concerning use of the appliance in a safe way and understand the hazards involved. Children shall not play with the appliance. Cleaning and user maintenance shall not be made by children without supervision.
- This appliance is only to be used with the USB cord and power adapter provided.
- The UV Diaper Pail must be supplied at a safe extra low voltage corresponding to the marking on the appliance. The UV Diaper Pail is compatible with 5VDC, 2A power supply through a micro USB port.
- Do not use UV Diaper Pail in excess of its output rating. Overloading outputs above rating may result in a risk of fire or injury to persons.
- Use of a power supply or charger not recommended or sold by the UV Diaper Pail manufacturer may result in a risk of injury to persons.
- Do not dispose of the UV Diaper Pail in a fire. Dispose of the UV Diaper Pail in a household hazardous waste disposal facility or authorized recycling facility in accordance with local ordinance and regulations.
- Do not use a UV Diaper Pail that is damaged or modified. Damaged or modified UV Diaper Pail may exhibit unpredictable behavior resulting in fire, explosion or risk of injury.
- Never operate the UV Diaper Pail with the air openings blocked. Keep the air openings free of lint, hair, and the like.
- Do not operate where aerosol (spray) products are being used or where oxygen is being administered.
- Unplug from outlet before putting on or taking off parts.
- Declaration of Conformity: the applicable provisions of applicable US Federal requirements, including 21 CFR, Chapter 1, Subchapter J, Radiological Health.
WARNING: This cover is provided with an interlock to reduce the risk of excessive ultraviolet radiation. Do not defeat its purpose or attempt to service without removing.
SAVE THESE INSTRUCTIONS
FCC INFORMATION
This device complies with part 15 of the FCC Rules. Operation is subject to the following two conditions:
- this device may not cause harmful interference
- this device must accept any interference received, including interference that may cause undesired operation.
WARNING: To reduce the risk of electrocution: Changes or modifications to this unit not expressly approved by the party responsible for compliance could void the user’s authority to operate the equipment.
NOTE: This equipment has been tested and found to comply with the limits for a Class B digital device, pursuant to part 15 of the FCC Rules. These limits are designed to provide reasonable protection against harmful interference in a residential installation. This equipment generates, uses and can radiate radio frequency energy and if not installed and used in accordance with the instructions, may cause harmful interference to radio communications. However, there is no guarantee that interference will not occur in a particular installation. If this equipment does cause harmful interference to radio or television reception, which can be determined by turning the equipment off and on, the user is encouraged to try to connect the interference by one or more of the following measures:
- Reorient or relocate the receiving antenna.
- Increase the separation between the equipment and receiver.
- Connect the equipment into an outlet on a circuit different from that to which the receiver is connected.
- Consult the dealer or an experienced radio/TV technician for help.
This CLASS(B) DIGITAL APPARATUS complies with CAN ICES-3 (B)/NMB-3(B)
INTRODUCTION
- The UV Diaper Pail helps to elimate bacteria and odor causing germs in and around the pail’s internal surface and rim via scientifically proven ultraviolet (UV) technology.
- UV technology has been successfully used in the healthcare industry for air and surface disinfection. It’s ozone-free and leaves no residue or chemicals behind.
- The UV Diaper Pail has multiple fail-safe’s to protect you and your family. If the lid is opened during a UV sanitizing cycle, the built-in safety protection system will turn the UV lights off automatically.
COMMON GERMS ELIMINATED
Organism (bacteria)
- Escherichia coli (ATCC 8739)
- Peudomonas aeruginosa (ATCC 9027)
- Staphylococcus aureus (ATCC 6538)
- Cronobacter spp. (Cronobacter sakazakii) (ATCC 29544)
- Salmonella enterica (ATCC 14028)
- Klebsiella pneumoniae (ATCC 4352)
INCLUDED PARTS

- UV Indicator Light
- Power Indicator Light
- Cover Detection Switch
- Door Detection Switch
- USB-C Port
- UV LEDs
How to Use
SAFETY FEATURES
- If lid or front door is opened during use, UV LED lights will automatically shut off to protect skin and eyes from UV exposure.
- UV lights will not turn on if lid or front door is open.
POWERING ON
The unit is powered through the USB port on the rear of the unit. Simply plug in the power adapter to a wall outlet and connect the USB cable to the USB-C port. The power light will turn on to indicate the UV Diaper Pail is ready for use.
USB cable can be inserted into:
- Electrical outlet using a USB power adapter.
- USB computer port.
- Input power: 5VDC, 2A (min)

USING THE UV DIAPER PAIL

- Open the lid. Roll a used diaper tightly, push it through the bag’s seal into the pail opening, and shut lid completely. As lid is closed, the pail opening will twist to seal in odors.
- Once lid is completely closed and the front door of the pail is tightly shut, the UV indicator light will glow until the 2 minute sterilizing cycle is complete. This device disinfects all surfaces exposed to the UV LED light.
- When 2 minute sterilizing cycle is complete, the UV indicator light will stop glowing and shut off.
NOTE: If lid or front door is opened during sterilizing cycle, UV LED lights will automatically shut off due to built-in safety features.
NOTE: New 2 minute sterilization cycle will restart every time the lid is closed.
INDICATOR LIGHT CHART
| UV Indicator Light | Mode |
| Blinking Light | Sterilizing cycle in process (2 minutes) |
| No Light | Sleep (Sterilizing cycle complete) |

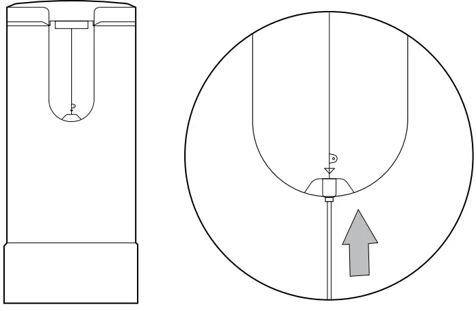
INSTALLING THE REFILL

- Open the front door by pressing the door release button on the silver inner lid and swing the front door open from the left side.
- Press the button on the silver inner lid and swing the front door open from the left side.
- Lift the silver inner lid by pressing the lid release button just beneath the silver inner lid.
- Press the release button just beneath the silver inner lid and lift the silver inner lid up.
FOR DIAPER PAIL REFILL RINGS

- Pull film out of the cartridge, then down through the center opening of the refill ring.
- Tie a knot at the end to create a bag and feed it through the sealing flaps.
- Place the ring inside the opening with the tabs lined up with the grooves so that the ring locks into place.
- Pull the bag all the way down with at least 3 inches resting on the floor of the pail.
- Close silver inner lid and front door firmly to ensure a proper closure.
TO REMOVE BAG WHEN FULL:

- Open the front door and slide the top of the bag through the cutter located beneath the silver inner lid. Tie a knot to close the bag and discard.
- Pull the remaining material down and tie a knot at the bottom to create another bag. At least 3 inches should rest on the floor of the pail.
NOTE: For best results, empty the pail regularly and keep clean.
FOR SNAP, SEAL & TOSS™ BAGS

- Feed the bottom of the bag through the sealing flaps and pull down tightly.
- Push down to snap the ring under the locking tabs in all 4 locations.
- Close silver inner lid and front door firmly to ensure a proper closure.
TO REMOVE BAG WHEN FULL:

- Open the front door and lift the inner lid. Snap the plastic ring closed.
- Push the closed refill down through the sealing flaps.
- Remove and replace with a new bag.
NOTE: For best results, empty the pail regularly and keep clean.
COMPATIBLE REFILLS
- Munchkin UV Snap, Seal & Toss bags and Diaper Pail Refill Rings are specifically designed to allow UV light to penetrate the bag to further help kill bacteria and reduce odor causing germs in the bag.
- Your UV Diaper Pail is compatible with all Munchkin branded refills, Nursery Fresh, Up & Up, and Comforts for Baby.
- Your UV Diaper Pail also accepts all Snap, Seal & Toss bags.
CLEANING
- This device is not waterproof. Do not immerse in water. Unplug from outlet before cleaning.
- To clean, wipe surface of unit with a clean dry cloth.
MAINTENANCE
- Operation Temperature: 32~104°F (0~40°C)
- Operation Humidity: 5~90% RH
- Please DO NOT use a rigid or wet object to contact the UV light.
- Product service should be performed by an authorized service representative.
TROUBLESHOOTING
If the unit will not turn on:
- See if power indicator light on rear of unit is illuminated. If so, the unit has power.
- Check if USB cable is connected properly to the power source. Remove the cable and re-insert securely into the port.
- If the internal circuit is damaged, contact Munchkin.
The UVC light will not shut off after the lid is opened:
- Check USB input on power adapter or computer USB port is able to deliver a minimum required power rating of 5VDC, 2A, or 10 Watts.
- If the cover detection switch is broken or the internal circuit is damaged, contact Munchkin.

Customer Service
ONE-YEAR LIMITED WARRANTY
Munchkin’s UV Diaper Pail includes a 1-year limited warranty against defects from the date of purchase. In the event of a malfunction or defect during the in-warranty period, Munchkin, Inc. at its option, will replace or repair the product under warranty. Upon receipt of the product and proof of purchase with a valid date of purchase, the defective part will be immediately repaired or replaced and returned to you free of charge (USA only). Please send defective unit, proof of purchase and a description of the problem you have encountered to:
- Munchkin, Inc.
- 7835 Gloria Avenue
- Van Nuys, CA 91406 USA
- Attn: UV Diaper Pail Warranty
NOTE: This warranty does not cover misuse, abuse, abnormal wear & tear, negligence, environmental exposure, alteration or accident. Any alteration or removal of the product date code invalidates all claims against the manufacture.
CONTACT US
If you have any questions or wish to provide comments about this product, feel free to contact our Customer Satisfaction team at 1-800-344-BABY (2229) (M-TH 8:00am–
5:00pm PST, F 8:00am–1:00pm PST) or visit our website at www.munchkin.com.
TO ORDER REFILLS
Visit our website at www.munchkin.com.

TECHNICAL SPECIFICATIONS
- Product Name: Munchkin® UV Diaper Pail
- Model: MKCA0805
- Power Input: Unit is powered through USB-C 5VDC, 2A (USB powered)
- Input Connector: USB-C
- Rated Input: Power Adapter Input Power: 100-240VAC 50/60Hz, 0.3A
- USB Input Power: 5VDC, 2A
- Dimensions: 27 in. (686mm) x 12 in. (305mm) x 12 in. (305mm)
- Net Weight: 8.6 lbs. (3.9kg)
- UVC LED Life: 3000 Hours
- Working Temperature: 32~104°F (0~40°C)
- Storage Temperature: −4~131°F (−20~55°C)
ABOUT COMPANY
2021 MUNCHKIN, INC. 7835 GLORIA AVE., VAN NUYS, CA 91406. MADE IN INDONESIA. 38304-IS-ID-3 WWW.MUNCHKIN.COM/PATENTS AND OTHER INT’L PATENTS PENDING.





















