Smarter tools AMATEA090437 Mega-550S Auto Darkening Welding Helmet

We Appreciate Your Business
Thank you and congratulations on choosing Smarter Tools. Now you can stop working harder and start working smarter.
This Operating Manual has been designed to instruct you on the correct use and operation of your Smarter Tools’ product. Your satisfaction with this product and its safe operation is our ultimate concern. Therefore please take the time to read the entire manual, especially the Safety Precautions. They will help you to avoid potential hazards that may exist when working with this product.
![]() | WARNING! READ AND UNDERSTAND ALL SAFETY PRECAUTIONS IN THIS MANUAL BEFORE OPERATING. FAILURE TO COMPLY WITH INSTRUCTIONS IN THIS MANUAL COULD RESULT IN PERSONAL INJURY, PROPERTY DAMAGE, AND/ OR VOIDING OF YOUR WARRANTY. SMARTER TOOLS WILL NOT BE LIABLE FOR ANY DAMAGE BECAUSE OF FAILURE TO FOLLOW THESE INSTRUCTIONS. |
Symbol Usage
DANGER! – Indicates a hazardous situation which, if not avoided, will result in death or serious injury. The possible hazards are shown in the adjoining symbols or explained in the text.
Indicates a hazardous situation which, if not avoided, could result in death or serious injury. The possible hazards are shown in the adjoining symbols or explained in the text.
NOTICE – Indicates statements not related to personal injury.
Indicates special instructions.
This group of symbols means Warning! Watch Out! ELECTRIC SHOCK, MOVING PARTS, and HOT PARTS hazards. Consult symbols and related instructions below for necessary actions to avoid the hazards.
Arc Welding Hazards
Only qualified persons should install, operate, maintain, and repair this unit.
ARC RAYS can burn eyes and skin.
Arc rays from the welding process produce intense visible and invisible (ultraviolet and infrared) rays that can burn eyes and skin. Sparks fly off from the weld.
- Wear a welding helmet fitted with a proper shade of filter to protect your face and eyes when welding or watching (see ANSI Z49.1 and Z87.1 listed in Safety Standards). Refer to Lens Shade Selection on page 6.
- Wear approved safety glasses with side shields under your helmet.
- Use protective screens or barriers to protect others from flash, glare, and sparks; warn others not to watch the arc.
- Wear protective clothing made from durable, flame-resistant material (leather, heavy cotton, and wool) and foot protection.
- Before welding, adjust the auto-darkening lens sensitivity setting to meet the application.
- Stop welding immediately if the auto-darkening lens does not darken when the arc is struck.
- See the Owner’s Manual for more information.
WELDING HELMETS do not provide unlimited eye, ear, and face protection.
Arc rays from the welding process produce intense visible and invisible (ultraviolet and infrared) rays that can burn eyes and skin. Sparks fly off from the weld.
- Use impact resistant safety spectacles or goggles and ear protection at all times when using this welding helmet.
- Do not use this helmet while working with or around explosives or corrosive liquids.
- Do not weld in the overhead position while using this helmet. · Inspect the auto-lens frequently. Immediately replace any scratched,
cracked, or pitted cover lenses or auto-lenses.
NOISE can damage hearing.
Noise from some processes or equipment can damage hearing.
- Wear approved ear protection if noise level is high.
READ Instructions
Read and follow all labels and the Owner’s Manual carefully before installing, operating, or servicing unit. Read the safety information at the beginning of the manual and in each section.
- Use only genuine replacement parts from the manufacturer.
- Perform maintenance and service according to the Owner’s Manuals,
industry standards, and national, state, and local codes.
FUMES AND GASES can be hazardous.
Welding produces fumes and gases. Breathing these fumes and gases can be hazardous to your health.
- Keep your head out of the fumes. Do not breathe the fumes.
- If inside, ventilate the area and/or use local forced ventilation at the arc to remove welding fumes and gases.
- If ventilation is poor, wear an approved air-supplied respirator.
- Read and understand the Material Data Sheets (MDS) and the manufacturer’s instructions for metals, consumables, coatings, cleaners, and degreasers.
- Work in a confined space only if it is well ventilated, or while wearing an air-supplied respirator.
- Always have a trained watchperson nearby. Welding fumes and gases can displace air and lower the oxygen level causing injury or death. Be sure the breathing air is safe.
- Do not weld in locations near degreasing, cleaning, or spraying operations. The heat and rays of the arc can react with vapors to form highly toxic and irritating gases.
- Do not weld on coated metals, such as galvanized, lead, or cadmium plated steel, unless the coating is removed from the weld area, the area is well ventilated, and while wearing an air- supplied respirator. The coatings and any metals containing these elements can give off toxic fumes if welded.
Proposition 65 Warnings
Welding or cutting equipment produces fumes or gases which contain chemicals known to the State of California to cause birth defects and, in some cases, cancer. (California Health & Safety Code Section 25249.5 et seq.)
This product contains chemicals, including lead, known to the state of California to cause cancer, birth defects, or other reproductive harm. Wash hands after use.
SAFETY INSTRUCTIONS
WARNING! FOR YOUR SAFETY & PROTECTION, READ ALL SAFETY WARNINGS AND INSTRUCTIONS CAREFULLY AND COMPLETELY BEFORE USING THIS PRODUCT. FAILURE TO DO SO MAY CAUSE DAMAGE OR PERSONAL INJURY.
- Do not place the helmet on a hot surface
- Do not immerse the filter in water or any other liquid
- Protect the filter from being in contact with liquid or dirt. Clean filter surface regularly.
- The front cover lens is not unbreakable and does not provide extraordinary protection against flying particles, splash, spray, and spatter. The helmet will only protect the eyes and face from radiation and sparks.
- Never open or tamper with the Auto-Darkening filter
- The outside of the lens must be equipped with an outside protection plate (included) to prevent potential non-repairable hazards.
- Keep away from children, children must never be allowed in the work area. DO NOT! let them handle machines, tools, or extension cords.
- DO NOT! Use if the filter does not darken immediately upon striking the arc.
- DO NOT! Use the helmet as a hand shield. Wear the helmet correctly.
- Wear approved safety glasses with side shields under your helmet. · Use protective screens or barriers to protect others from flash and glare; warn others not to watch the arc.
WARNING! CAREFULLY READ AND UNDERSTAND ALL INSTRUCTIONS BEFORE USING YOUR NEW AUTO- DARKENING WELDING HELMET
The Auto-darkening welding helmet is designed to protect the eyes and face from specks, spatter, and harmful radiation under normal welding conditions. The Autodarkening filter automatically changes from a light state to a dark state in only 1/25000S when an arc is struck and it returns to the light state when welding stops.
This product is suitable for a variety of welding processes.
- When the arc is struck, the Auto-darkening filter will turn from a clear state to a dark state. The response time is less than 1/25000S.
- The helmet provides the user’s eyes and face full protection against UV and IR radiation during the entire welding process, even in the clear state. The UV/IR protection level is up to the shade 13 (DIN) at all times.
- The product is in full conformity with related DIN, EN safety standards, and ANSI Z87.1 standards.
Operating Instructions
Function
The Auto-Darkening Welding Helmet is designed to protect the eyes and face from sparks, splatter, and harmful radiation under normal welding conditions. The Auto-Darkening Filter automatically changes from a clear state to a dark state when an arc is struck, and it returns to the clear state when welding stops.
Before Welding
The Auto-Darkening Welding Helmet comes ready for use. The only things you need to do before welding are to
- cremove the protective film from both sides of the lens (if not already done),
- adjust the position of the headband,
- select the correct shade number for your application, and
- test the helmet for proper operation as described following.
Check the Front Cover Lens to make sure that It Is clean, and that no dirt is covering the two sensors on the front of the Filter Cartridge. Also check the Front/Inside Cover Lens and the Front Lens Retaining Frame, and make sure that they are secured in place. Inspect all operating parts before each use for signs of wear or damage. Any scratched, cracked, or pitted parts should be replaced immediately before using again to avoid severe personal injury.
Shade Number and Grinding Mode Selection
- Select the shade number you need (see Shade Guide Chart on page 6) by turning the Shade Control Knob. Be sure that the shade number of the Welding Helmet is the correct shade number for your application.
- Note: If selections of shades are recommended for your application, try the darkest setting first.
- The shade number can be set from 9 to 13 by turning the Shade Control Knob until points to the desired shade number. See Figure B.
- Remember to check with the Shade Guide Chart on page 6 to determine the proper shade number for your application.
- Important Note: Test the helmet auto-darkening filter lens before welding. While wearing the helmet, briefly strike an arc, keeping your face and eyes turned slightly away, and to one side. The lens should darken evenly when not directly facing the arc. If it does not darken properly, do not use the Welding Helmet.

Adjusting Headband
Adjust the Headband so that the helmet is seated securely on your head as low as possible and close to your face.
Adjust the Headband width by turning the Ratcheting Headband Knob to make sure the Front Cover Lens is aligned with your eyes.
Adjust the Headband height by tightening or loosening the top strap until the Helmet fits snug on your head.
Once the Headband is properly adjusted, lower the Helmet over your face until the proper angle is found. Then turn the Tension Adjustment Knobs on either side of the helmet, locking the helmet’s angle in place.
Solar Cells
This Welding Helmet utilizes high performance solar cells as power supply, and has one CR2032 lithium battery as power backup.
Shades
User-selectable variable shades from 9 to 13 are adjusted at the turn of a shade knob (shade variable).
Filters
The ultra high performance of UV and IR Auto-Darkening filters provides to user’s eyes and face full protection against UV and IR radiation during entire welding process, The UV/IR protection level is up to shade 13 at all times.
TECHNICAL SPECIFICATIONS
| Model | MEGA 550S |
| Weight | 16 oz |
| Viewing Area | 3.6” x 1.65” (92 x42mm) |
| Cartridge Size | 4.3” x 3.5” (110 x 90mm) |
| Uv/IR Protection | Up to shade DIN13 at all times |
| Light State/ Grind Mode | Din 4 |
| Dark State | Variable shade 9-13 |
| Shade Control | External, Variable |
| Sensitivity Control | Low- High – infinite dial knob |
| Switch Time (Light to Dark) | 1/25000s |
| Dark to Light Time Delay | 0.1-1.0s – infinite dial knob |
| Power On / Off | Fully Automatic |
| Arc Sensor | 2 |
| TIG Amp Range | DC≥ 10 AC≥ 10 |
| Operating Temperature | 23° F to 131°F (-5°C to +55°C) |
| Storing Temperature | -4°F to 158°F (-20°C to +70°C) |
| Self-check | Self-Test button |
| Compliance | ANSI Z87.1-2010, CSA Z94.3 |
| Low voltage indicator | Yes |
| Power Supply | Solar Cell and 1 x CR2032 Lithium battery |
DARK SHADER SELECTION
- Select the shade level according to the welding process and the value of the welding current by turning the potentiometer knob on the left side of the helmet
- The shade number can be between DIN9 to DIN13. Select a shade number by turning the shade knob until the arrow points to the required setting (See Shade Guide Table)
- ALWAYS use suggested shade numbers instead of minimum shades.
- Provide additional task lighting that suits welders’ needs.
- ALWAYS use the same shade as the welder’s if you are directly observing the welding arc.
LENS SHADE SELECTOR
Shade numbers are given as a guide only and may be varied to suit individual needs.
| Process | Electrode Size in. (mm) | Arc Current (Amperes) | Minimum Protective Shade | Suggested* Shade No. (Comfort) |
| Shielded Metal Are Welding (SMAW) | Less than 3/32 (2.4) 3/32-5/32 (2.4-4.0) 5/32-1/4 (4.0-6.4) More than ¼ (6.4) | Less than 60 60-160 160-250 250-550 | 7 8 10 11 | 10 12 14 |
| Shielded Metal Are Welding (SMAW) | Less than 60 60-160 160-250 250-550 | 7 10 10 10 | 11 12 14 | |
| Gas Tungsten Arc Welding (GTAW) | Less than 50 50-100 150-500 | 8 8 10 | 10 12 14 | |
| Air Carbon Arc Cutting (CAC-A) | Less than 500 500-1000 | 10 11 | 12 14 | |
| Plasma Arc Welding (PAW) | Less than 20 20-100 100-400 400-800 | 6 8 10 11 | 6 to 8 10 12 14 | |
| Plasma Arc Cutting (PAC) | Less than 20 20-40 40-60 60-80 80-300 300-400 400-800 | 4 5 6 8 8 9 10
| 4 5 6 8 9 12 14 |
*As a rule of thumb, start with a shade that is too dark to see the weld zone. Then go to a lighter shade which gives sufficient view of the weld zone without going below the minimum.
SENSITIVITY and DELAY SELECTION
Sensitivity Control: The Sensitivity Control is designed to make the filter lens more responsive to different light levels. Welding applications and processes produce differing light levels which in turn necessitate varying filter lens sensitivity adjustments. Manually adjust the sensitivity level as required for application.
Delay Control: The delay control is used to adjust the hold time of the Filter Lens after welding is completed (i.e. it is used to adjust the time taken for the Filter Lens to transition from dark to light state after the completion of welding). Manually adjust delay time to desired level as required by application.
Low Battery
The low battery light will indicate when the battery is low and need to be replaced with a CR2032 battery.
LENS & HELMET MAINTENANCE
- DO NOT! use corrosive solvent on the filter screen or any of the helmets components
- DO NOT! immerse the filter lens in water or any other liquid
- If helmet is not in use, please keep it in a dry place. Be aware that the Auto-darkening filter should not be placed in direct light to avoid unnecessary filter adjustments. It may cause damage to control system.
- Clean the filter lens with a clear lint-free tissue or cotton cloth
- You should inspect this helmet frequently and immediately replace worn or damaged parts.
Replace the Front Lens Cover if it is damaged (cracked, scratched, soiled or pitted).
- To Replace the Cover:
A. Lift up on the tab at the bottom of the outer frame to unsnap the frame and access the lens cover. Pull out the lens cover.
B. Remove the protection film from both sides of the new Lens if it comes with a film covering.
C. Place the new lens into place and snap the frame securely to hold the lens in place. - Clean the filter lens with a clean lint free tissue or cotton cloth.
- Do not immerse the lens in water or any other liquid. Do not use abrasives, solvents or oil based cleaners.
- Do not remove the auto–darkening filter from the Auto Darkening
Welding Helmet. Do not try to open the filter. - Storage temperature -4° F to 158° F.
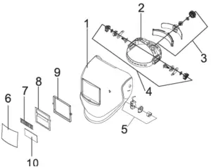
Parts List and Diagram
| Part# | Description |
1 | Self-test button |
2 | Low voltage indicator |
3 | Delay time control knob |
4 | Sensitivity control knob |
5 | lithium batteries |
6 | LCD |
7 | Arc sensor |
8 | Solar cell |
9 | UV/IR filter |

| Part# | Description |
1 | Helmet shell |
2 | Headband height adjusting pin |
3 | Headband diameter adjusting |
4 | Headband angle adjusting Knob |
5 | Shade control knob |
6 | Front cover lens |
7 | Solar panel |
8 | Fixed plate |
9 | Cartridge frame |
10 | Filter lens |

Trouble Shooting
- Irregular Darkening Or Dimming
a. Headband has been set unevenly on both sides of helmet (unequal distances from the eyes to filter’s lens).
b. Reset Headband to reduce difference in distances to filter, if necessary. - Auto-Darkening Filter Does Not Darken Or Flickers
a. Front Cover Lens is dirty or damaged (clean or change the cover lens).
b. Sensors are dusty or dirty (clean surface of the sensors).
c. Grind mode Is selected (Adjust shade from 9 to 13) - Slow Response
a. Operating temperature is too low (do not use at temperatures below 23″‘ F). - Poor Vision
a. Front/Inside Cover Lens and/or filter dirty or damaged (clean or replace lens).
b. Insufficient ambient light.
c. Shade number is incorrectly set (reset shade number). - Welding Helmet Slips
a. Headband is not adjusted properly (must be lowered).
Warning!!
Stop using the Helmet Immediately If any of the mentioned problems cannot be corrected.
LIMITED WARRANTY
This information applies to Smarter Tools products purchased in the USA and Canada.
September 2015
LIMITED WARRANTY: Smarter ToolsTM, Inc. warrants to customers of authorized distributors (“Purchaser”) that its products will be free of defects in workmanship or material. Should any failure to conform to this warranty appear within the warranty period stated below, Smarter Tools shall, upon notification thereof and substantiation that the product has been stored, installed, operated, and maintained in accordance with Smarter Tools’ specifications, instructions, recommendations and recognized standard industry practice, and not subject to misuse, repair, neglect, alteration, or damage, correct such defects by suitable repair or replacement, at Smarter Tools’ sole option, of any components or parts of the product determined by Smarter Tools to be defective. This warranty is exclusive and in lieu of any warranty of merchantability, fitness for any particular purpose, or other warranty of quality, whether express, implied, or statutory.
Limitation of liability: Smarter Tools shall not under any circumstances be liable for special, indirect, incidental, or consequential damages, including but not limited to lost profits and business interruption. The remedies of the purchaser set forth herein are exclusive, and the liability of Smarter Tools with respect to any contract, or anything done in connection therewith such as the performance or breach thereof, or from the manufacture, sale, delivery, resale, or use of any goods covered by or furnished by Smarter Tools, whether arising out of contract, tort, including negligence or strict liability, or under any warranty, or otherwise, shall not exceed the price of the goods upon which such liability is based. No employee, agent, or representative of Smarter Tools is authorized to change this warranty in any way or grant any other warranty, and Smarter Tools shall not be bound by any such attempt. Correction of non-conformities, in the manner and time provided herein, constitutes fulfillment of Smart Tools’ obligations to purchaser with respect to the product. This warranty is void, and seller bears no liability hereunder, if purchaser used replacement parts or accessories which, in Smarter Tools’ sole judgment, impaired the safety or performance of any Smarter Tools product. Purchaser’s rights under this warranty are void if the product is sold to purchaser by unauthorized persons. The warranty is effective for the period of 3-years beginning on the date that the authorized distributor delivers the products to the Purchaser. Notwithstanding the foregoing, in no event shall the warranty period extend more than the time stated plus one year from the date Smarter Tools delivered the product to the authorized distributor.
Warranty repairs or replacement claims under this limited warranty must be submitted to Smarter Tools Customer Service (888-241-8498 or http://www.usesmartertools.com/customerservice) or an authorized Smarter Tools repair facility within thirty (30) days of purchaser’s discovery of any defect. Smarter Tools shall pay no transportation costs of any kind under this warranty. Transportation charges to send products to an authorized warranty repair facility shall be the responsibility of the Purchaser. All returned goods shall be at the Purchaser’s risk and expense. Smarter Tools™ is a Trademark of Smarter Tools, Inc.
Operating Manual Number 0-STM550S715
Smarter Tools M550S Auto Darkening Welding Helmet Part No. M550S
Published by:
Smarter Tools, Inc.
12195 Harley Club Drive
Ashland, VA 23005
(804) 798.8588
Copyright © 2015 by Smarter Tools, Inc.
Reproductions of this work, in whole or in part, without written permission of the publisher are strictly prohibited.
The publisher does not assume and herby disclaims any liability to any party for any loss or damage caused by any error or omission in this Manual, whether such error results from negligence, accident, or any other cause. Publication Date: 07.31.15



















