Navy Flatline
7640 – 7642 – 7645
7650 – 7655
7660 – 7665

INSTRUCTIONS FOR SAFETY AND USE
Further information on Navy products, accessories and services may be found on the internet: www.novy.com
These are the directions for use for the appliance as shown on the front. The installation instructions are in a separate booklet supplied with the appliance.
These directions for use make use of a number of symbols.
The meanings of the symbols are shown below.
| Symbol | Meaning | Action |
| Indication | Explanation of an indication on the device. | |
| Warning | This symbol indicates an important tip or a dangerous situation. |
- This appliance complies with the applicable safety instructions. However, improper use may cause personal injury or damage to the appliance.
- Read the directions for use and the installation instructions before installing and using this appliance. You will find important information here for the assembly and use of the appliance.
- Safety is guaranteed only with expert installation in accordance with the installation manual. The installing technician is responsible for proper operation at the installation location.
- The appliance is intended exclusively for household use (preparation of food) and excludes all other domestic, commercial or industrial use. Do not use the appliance outside.
- Check the condition of the appliance and the installation fittings as soon as you remove them from the packaging. Remove the appliance from the packaging with care. Do not use sharp knives to open the packaging.
- Do not install the appliance if it is damaged, and in that case inform Navy.
- Keep good care of this manual and pass it on to any person who may use the appliance after you.
- Novy is not liable for damage resulting from incorrect assembly, incorrect connection, incorrect use or incorrect operation.
- Do not touch live components.
- Do not convert or alter the appliance.
- Remove labels and stickers on the appliance with tips for use or installation. The type sticker is to be found behind the grease filter in the appliance. Do not remove it.
Safety instructions with children in the house
- The appliance’s packaging forms a hazard for children.
Do not let children play with the packaging materials.
Keep packaging materials away from children. - Children from the age of 8 years and older may use this appliance only under the supervision of a person who is responsible for their safety, or if they have been taught how to use this piece of equipment under safe circumstances.
- Keep an eye on children in order to ensure that they do not play with the appliance.
- Children younger than 8 years should be kept away from the appliance and the connection cable.
- Cleaning and maintenance of the appliance may not be carried out by children.
- The appliance’s lighting is extremely bright and may damage the eyes. In particular, ensure that babies do not look directly into the lights.
- Ensure that batteries are stored out of children’s reach. Do not allow children to replace batteries without supervision.
- People with restricted physical, sensory or intellectual capacities, or people lacking in knowledge or experience, may use this appliance only under the supervision of a person who is responsible for their safety, or if they have been taught how to use this piece of equipment under safe circumstances.
- Flambéing under the appliance is not allowed under any circumstances.
- Whenever you are frying, roasting, grilling or deep-frying, always stay close. Overheated oil and fat can rapidly catch alight and as a result damage the extractor hood.
- Clean the grease filter regularly in accordance with the instructions in these directions for use. Failure to follow the cleaning instructions will lead to grease deposits in the filter with a resultant fire hazard.
- Never use the appliance without the grease filters in order to prevent dirt and grease penetrating the appliance, which may impact the operation and functioning over time.
- In the event of fire, always switch the appliance off.
- Never douse burning fats with water, but cover the pan with a suitable lid or fire blanket.
- Note that certain parts of the appliance within reach of the hands may become hot while cooking.
- Gas burners can build up a lot of heat while operating. Make sure that this heat cannot increase too much in the cooker hood. The cooker hood installed above the gas burners may become damaged or catch fire.
- Only operate the gas burners with cookware on them.
- Turn off the gas burner when you remove the cookware from the gas.
- When using several gas burners at the same time, set the cooker hood to position 2 or higher.
- Never operate large burners of more than 5 kW with the highest flame for longer than 15 minutes, e.g. a wok.
- Switch on the appliance a few minutes before starting to cook for effective extraction of the cooking vapours.
- Make use of the delay position if the appliance has one. The instructions for the delay position are set out in these directions for use.
- Avoid all draughts above the cooking surface.
- Position your cooking utensils in such a way that rising vapour is directed under the extraction surface of the hood.
- Cooking with induction: set the intensity of the appliance and hob as low as possible in order to limit excess vapour.
- If the appliance has an bottom panel, ensure that it is always properly closed. Take care that it is properly inserted into the clamps and cannot come free. When opening the bottom panel, do not put your hands on the side of the hinges in order to prevent being crushed.
- Do not place objects on top of the appliance, as these may fall and cause a dangerous situation.
[!] If the extraction is used at the same time as a combustion system (for example heaters fired by gas, oil, wood or coal, hot water boilers using gas, gas hobs and gas ovens), combustion gases may be sucked back in and lead to poisoning.
A combustion system uses air from the room as combustion air. Combustion gases arise as a result, which are removed to the outside by an extraction system.
The appliance sucks in air from the kitchen and adjacent rooms. Negative pressure occurs if the air supply is inadequate. The toxic gases are then sucked back from the chimney or extraction duct into the room.
With simultaneous use of the appliance and combustion appliances in the same room, the negative pressure may not exceed 4 Pa (=0.04 mBar). Negative pressure can be prevented by allowing sufficient air into the room through openings that cannot be closed (for example through windows or doors, in combination with a ventilation cabinet in the wall).
Have an expert assess the overall ventilation system in your home for a proposal on suitable measures in the area of air supply.
When using the appliance with an internal or external motor (unit) with air extraction to the outside, there must be adequate air supply in the room where the appliance has been installed / is positioned, so that fresh air can flow in. Fresh air can be provided by tilting a window, opening a door or installing an inlet grille.
With an appliance with recirculation, there must be a minimum of ventilation in the room where the appliance has been installed / is positioned. Ventilation can be provided by the overall ventilation in the home or by tilting a window or opening a door.
Certain appliances are fitted with a connection for a window contact switch (see the technical specifications for your appliance). If the appliance is to operate at the same time as a heating appliance that needs air from the room, and if the required supply can only take place through a single open window, there is the option of connecting the appliance to a window contact switch (not included). This ensures that the appliance operates only when the window is open. If the window is closed, the fan cannot be switched on.
Contact your technician for the correct accessories for your appliance.
- The correct installation method is described in the installation instructions. Read these instructions through carefully.
- The installation and electrical connection of the appliance should be left to a recognized expert.
- NOVY cannot accept liability for any damage arising from incorrect installation or connection.
- Check the distance between the hob and the appliance. The minimum and maximum heights are shown in the installation instructions.
- If a fault occurs, switch off the appliance and disconnect the power supply.
- Repairs should be carried out only by specialized personnel. Do not under any circumstances open the equipment yourself. Contact the Novy service department.
ENVIRONMENTAL PROTECTION
Tips for saving energy
The new appliance is exceptionally efficient and economical with energy. Some tips follow below for making your appliance even more energy-efficient.
- Switch the appliance on at the lowest speed when you start cooking to adjust the relative humidity and eliminate cooking odours.
- Only use the highest speed when absolutely necessary.
- Only increase the speed of the appliance when the quantity of vapour so requires.
- Keep the appliance filter/filters clean to optimize grease and odours filtering efficiency.
- Switch to higher power in good time if much vapour is released. This is more efficient than using the appliance for a long time, and catching vapour already spread in the kitchen.
- Do not allow the appliance to unnecessarily ventilate after cooking.
- Switch the lighting off when leaving the kitchen or if the kitchen is already light enough.
- Ensure adequate air supply in the room, so that the appliance can operate efficiently and economically.
- Put lids on the pots to reduce cooking vapours and condensation.
Recycling the transport packaging and the old appliance
This appliance is protected against damage during transport by packaging. The materials used are not harmful to the environment and are suitable for recycling. Ensure environmentally-friendly disposal of the packaging. Your appliance also contains many materials that can be recycled.
![]()
For this reason, used appliances should be separated from other waste. Recycling of old appliances arranged by your manufacturer will in this way be carried out under the best circumstances. For recycling your appliance, we refer you to the recent European guidelines in force concerning electrical and electronic waste. Ask your municipality or your salesperson about the closest collection point for your old appliance.
Keep old appliances out of the reach of children.
Recycling batteries
Do not put batteries into the standard household refuse.
Ask your municipality or your salesperson about the closest battery collection point. Keep batteries out of the reach of children.
CONTROLS AND FUNCTIONS
Operating the device

| 1 Switch on / off 2 Decrease speed level 3 Increase speed level | 4 Illumination 5 Indication lights green speed 1,2,3 6 Indication light red Power mode |
Turning the extraction on and off
Turning the extraction on off
Press button 1 to turn on the extractor. The extractor always starts in the function last used (lighting and/or motor).

Turning the extraction off with delay mode
To set delay mode press key 1 once.
The first indicator light flashes, the other indicator lights come on at the last position set. After 10 minutes the motor and lighting automatically switch off.

The delay time is set by default to 10 minutes in extraction mode. It is advised to always fully allow this function to work.
Switching extraction off without delay mode
Press key 1 twice.

Extractor power level
To increase the power level press key 3.

To decrease the power level press key 2 .

- Three green LEDs 5 show positions one to three.
- The red LED 6 shows the Power position. The Power position is only used if there are strong odours, or a lot of smoke or vapour. Its use must be kept to a minimum because of the large extraction of air in this position.
- The Power position automatically goes back to speed three after 6 minutes.
- The motor has a thermal switch that switches the motor off with overheating. After cooling the motor will switch on again.
To avoid the extractor hood from staying on, the motor is automatically switched off after 3 hours (only if in 3 hours operation has not been changed). The extractor hood lighting stays on.
Lighting
To turn the lighting on or off press 4 .
The light works independent of the motor.

The LED lighting has a soft-on/soft-off function, meaning the lighting will go gently on and off.
When switching the lighting on it will always go to full power and can also be used when the fan is switched off.
Dimming the LED lighting
When the LED lighting is switched on you can dim it by keeping key 4 pressed.
Programming recirculation (optional)
If recirculation is selected programming must take place once.
Model 7645 / 7655 / 7665 – This cooker hood, which is connected to an external motor from Navy, can only be used with an extraction duct to the outside and is not suitable for recirculation.
This programming function activates the replacement indicator of the monobloc recirculation filter and the delay time is changed.
Activating programming
- The motor must be switched off
- Press the 2 and the 3 keys at the same time for 3seconds until the red LED flashes 5 times.

The following functions then operate:
- Replacement indicator of the monobloc filter is activated.
After a set time a red indicator light on the appliance shows that the monobloc filter must be replaced. - The delay time is set to 30 minutes (instead of the default 10 minutes).
Use the delay time of 30 minutes so the cooking odours can be properly removed in the monobloc filter.
Read paragraph 3.4 for more information about replacement of the monobloc recirculation filter.
Deactivating programming
- The motor must be switched off
- Press 2 and 3 at the same time for 3 seconds until the 3rd green LED flashes 3 times.

The delay time is again set to 10 minutes (instead of 30 minutes) and cleaning indicator for recirculation is switched off.
InTouch
Visit the website for the different models of induction hobs with InTouch.
The 2nd and 3rd LEDs flash 3 times to confirm (the apply- acne must be switched off).

To switch the InTouch function off press the 1 and 2 keys at the same time for 3 seconds and the 2nd and 4th LEDs flash 3 times to confirm. (The appliance must be switched off).

Turning off the InTouch function on the cooker hood results in the connection between cooker hood and Novy induction hob with InTouch and/ or remote control is also disabled.
Programming InTouch on the induction plate
- Connect the plate to the mains supply.
- Touch simultaneously the keys
and
on the induction plate until you hear a beep signal (prox. 7 sec.). - The cooker plate now searches automatically for the hood code.
- Wait until the cooker hood illumination begins to flashing OR you hear a “click” sound when you have an extractor hood without lighting (Be patient, this can betake a while).
- Does the light blink or you hear the “click” sound; press immediately on any InTouch key or
or
or
or
on the induction hob. - You will hear a “beep” signal to indicate the link between the two devices.
Now you can operate the hood with the keys on the induction plate.
You can find more information about using the InTouch functions in the InTouch manual for the hob.
The InTouch function between cooker hood and hob works with a fixed code.
If the set code disrupts other transmitters, another code can be selected.
There are 10 different codes..
A remote control is required to change the code.
More information on reprogramming with the remote control can be found in the manual of the remote control.
You can obtain a remote contol from a dealer or the Novy website.
Article number remote control : 840.029.
CLEANING AND MAINTENANCE
General maintenance
Allow the lighting to cool down sufficiently before you start cleaning the extractor hood.
Never use aggressive, abrasive or chlorinated products.
Do not use a high pressure or steam cleaner.
Stainless steel
Clean with a cleansing tissue with mild cleaning agent then dry with a soft cloth. Maintenance of the stainless steel can be performed with the Novy cleaner (906060).
Coated parts of the extractor hood
The extractor hood can be cleaned with a damp cleansing tissue and a mild cleaning agent.
Glass
Glass parts of the extractor hood can be cleaned with a soft cloth and a glass cleaner.
Removing the bottom panel
If the bottom panel is to be removed from the cooker hood for cleaning, proceed as follows:
- Grasp the bottom panel at the left and right ends.
- Slowly tilt the bottom panel downwards and continue to hold it in place.
- As soon as the bottom panel is at a 90º angle downwards, the bottom panel can be slid to the right to remove it from the hinges. Here you will feel some resistance. Do this with caution to prevent damage to the cooker hood. Make sure you hold the bottom panel securely at all times.
- The bottom panel can then be cleaned by hand. The bottom panel is not suitable for cleaning in the dishwasher.
- Before reinstalling the bottom panel, immediately clean the accessible parts on the inside of the cooker hood.
- To replace the bottom panel, grasp the bottom panel at the left and right ends and hold it in place. Make sure you hold the bottem panel securely at all times.
- Hold the bottom panel in a 90º angle downwards and slide the bottom panel to the left over the hinges until you notice a click.
- The bottom panel cannot be closed if the bottom panel is not fully positioned over the hinges.
- The bottom panel can then be closed.
Grease filter
If the following instructions are not carried out, serious soiling can cause a fire hazard.
Indication cleaning grease filter
Indication: 4 flashing indicator lights

When you replace the grease filter after cleaning, it is sufficient to press the 2 key for 5 seconds to again set the indicator.

If you do not do this the indicator light will continue to flash when switching on the extractor hood.
Accessing the grease filter
The grease filter can be removed by grasping the bottom panel on the left and right with both hands and pulling it downwards. The grease filter can now be removed by pushing the lock or pulling the lip attached to the filter.
Cleaning the grease filter
The metal grease filter can be cleaned by hand or in a dishwasher.
We recommend cleaning the grease filter by hand.
Cleaning the filter by hand:
- Immerse the filter in a solution of boiling water to which a degreasing detergent has been added.
- Use a brush for cleaning
- Then rinse the filters with warm water under a tap and allow them to dry.
Cleaning the filter in a dishwasher:
- Use a customary dishwasher detergent
- Do not put the saturated grease filters together with crockery in the dishwasher
- Select a programme with a low temperature
- After cleaning allow the filter to drain.
When cleaning in a dishwasher the filter may discolour as a result of the salt content. This does not affect its operation.
Replacing the grease filters
- Before replacing the grease filter, clean the edges of the part in the extractor hood in which the filter is placed.
- Grasp the filter with 2 hands.
- Make sure that the lock or the lip on the filter is on the bottom side.
- Insert the back of the filter in the opening, press the filter upwards at the front and make sure it clicks tight.
You can obtain a new grease filter from a dealer or the Novy website. Article number grease filter: 7400020.
Monoblock recirculation filter (optional)
If recirculation is chosen the appliance is connected to an outlet box with a monobloc recirculation filter, or a monobloc recirculation filter is fitted in the extractor hood behind the grease filter.

After a set time a red indicator light on the appliance shows that the monobloc filter must be replaced.
Reset the replacement indicator
The motor must be on. When you fit the new monobloc filters, it is sufficient to press the 2 and 3 keys for 5 seconds at the same time to reset replacement indication.

You can obtain a new monobloc filter from a dealer or the Novy website. Article number monobloc filter: 7600060.
Replacement of the lighting
Make sure there is no power on the hood and the lighting has sufficiently cooled.
Open the bottom panel.
Undo the screws and slide the cover off.

Removing the LED light

A. First disconnect the cable that runs to the LED to be replaced. Disconnect by loosening the lock by exerting slight pressure while pulling loose.
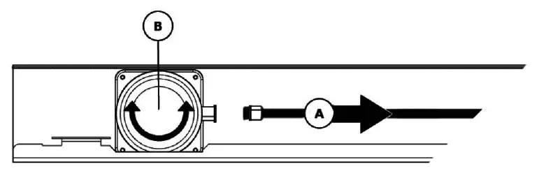
B. Remove the LED to be replaced with a gentle rotating movement to the left.
Fitting the new LED light

A. Fit the new LED light in the bayonet ring
B. Make a rotating movement to the right until the LED light is tight
C. Fasten the power cable. Put the cover back and tighten the screws. Close the bottom panel.
Faults
If there is a fault you can contact your (kitchen) supplier and/or Novy Customer Service.
| Belgium | Tel.: +32 (0)56 36 51 02 |
| France | Tel.: +33 (0)3 20 94 06 62 |
| Germany | Tel.: +49 (0)511 54 20 771 |
| The Netherlands | Tel.: +31 (0)88 011 91 10 |
| United Kingdom | Tel.: +44 (0) 207 866 2493 |
For all other countries: your local installer or Novy in Belgium: +32 (0)56 36 51 02
To be able to deal with the fault promptly and efficiently it is necessary that the Repaired Service knows which type of appliance you have.
You can find the type number on a sticker in the inside of the extractor hood. This becomes visible as soon as you take the filter out of the extractor hood.
You can note the type number here:
QUICKGUIDE
Settings

| EXPOSED | ACTION | INDICATION | NOTE | PAG. |
| Switching on the engine | 1 | p 36 | ||
| Switching off the motor 0with delay mode | 1 | Green LED flashes | Engine stays on for 10 minutes | p 36 |
| Switching off the motor without delay mode | 2 x 1 | Engine goes off immediately | p 36 | |
| Increase engine speed | 3 | p 36 | ||
| Decrease engine speed | 2 | p 36 | ||
| Lighting on | 4 | p 36 | ||
| Dimming the lighting | Continue to press 4 | p 36 | ||
| Recirculation on | 2 + 3 for 3 seconds | Red LED flashes 5x | ! Motor must be switched off ! | p 37 |
| Recirculation off | 2 + 3 for 3 seconds | Third green LED flashes 5x | ! Motor must be switched on ! | p 37 |
| Reset cleaning indicator grease filters | 2 for 5 seconds | p 38 | ||
| Reset replacement indicator Monoblock | 2 + 3 for 3 seconds | Red LED flashes 3x | ! Motor must be switched on ! | p 39 |
| InTouch on | 2 + 3 for 3 seconds | 2nd en 3th LED flashes | ! Motor must be switched off ! | p 37 |
| InTouch off | 2 + 3 for 3 seconds | 2nd en 4th LED flashes | ! Motor must be switched off ! | p 37 |
Indications
| INDICATION | EXPOSED | NOTE | PAGE |
| Four flashing LEDs | Grease falter must be cleaned | If the cleaning instructions are not followed, excessive contamination, risk of fire and loss of efficiency will result. | p 38 |
| Red indication LED lights up | Time to replace the monobloc recirculation filter used | p 39 |
WARRENTY CONDITIONS
Novy Nederland B.V.
T (088)-0119100
E [email protected]
I www.novynederland.nl
NOVY nv reserves the right at any time and without reservation to change the structure and the prices of its products.

NOVY nv
Noordlaan 6
B – 8520 KUURNE
Tel. 056/36.51.00
Fax 056/35.32.51
[email protected]
www.novy.com
United Kingdom: +44 (0)207 866 2493


















