INVENTUM KK471B Free Standing Cooler
Reversing the door opening
The door of the appliance can be opened on the right or left side. In order to reverse the door opening, please observe the instructions below. It would be best to do this with two people.
Attention: switch off the thermostat and remove the plug from the socket. Remove all items from the appliance, including the shelf, before reversing the door opening.
- Remove the upper hinge cap.
- Using a sharp object, pry out the plug buttons.
- Remove the Philips screws that connect the upper hinge on the right side of the appliance.
- Carefully lift the door and place it on a padded surface to prevent it from scratching.
- Remove the plug and transfer it to the uncovered hole at the right side. Be sure to press the plug firmly into the hole.
- Then tilt the appliance backwards by a maximum 45°. Remove the bolts that hold the lower hinge on the right side.
- Remove the pen from the hinge. Rotate the hinge 180 degrees and place the pen back in the hinge.
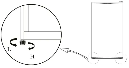
- Remove the screw-type leveling front leg and transfer it to the right side.
- Secure the lower hinge. Carefully place the appliance upright again.
- Set the door into it’s new place. Make sure the door is straight in relation to the exterior of the appliance.
- Secure the upper hinge and replace the upper hinge cap. Insert the plug buttons on the uncovered holes on (right side).
- Allow the appliance to rest for 3 hours before inserting the plug in the socket.
Safety instructions
- Please read these instructions before operating the appliance and retain for future use.
- Only use this appliance for the purposes described in the instruction. The appliance is suitable for storing food.
- Only connect the appliance to alternate current, to an earthed wall socket, with a mains voltage that corresponds with the information provided on the information plate of the appliance.
- Do not use single/multiple adapters or extension cords.
- Do not use the appliance if the plug, cord or appliance are damaged, or if the appliance no longer functions properly or if it is damaged in any other way. If this is the case, consult the shop or our technical service. Never replace the plug or cord yourself.
- The appliance must be moved and installed by two or more persons.
- Be careful when moving the appliance to prevent the floor from getting damaged.
- During installation, do make sure the power cable is not damaged.
- Check that the appliance is not placed too close to a heat source.
- In order to ensure proper ventilation, a free space of 10 cm should be maintained around the appliance.
- Never cover the ventilation openings.
- Make sure the cooling pipes do not get damaged.
- Install the appliance on a sturdy, flat and stable surface.
- Install the appliance in a dry and well ventilated room. The appliance is intended for use in a room where the ambient temperature falls within the applicable class, depending on the climate class found on the information plate on the back of the appliance.
| Climatic class | Ambient temperature |
| SN | From 10°C to 32°C |
| N | From 16°C to 32°C |
| ST | From 16°C to 38°C |
| T | From 16°C to 43°C |
- Do not store explosive or highly flammable substances in the appliance. The vapours could cause a fire hazard or an explosion.
- Do not store glass bottles or jars with liquids in the freezer, as they could break when frozen.
- Do not use mechanical, electrical or chemical agents to speed up the defrosting process.
- Make sure that children are unable to play with the appliance, such as hide in it. This is dangerous.
- Keep the appliance out of reach of children. Children do not see the dangers when handling electrical appliances. Therefore, never allow children to work with electrical appliances without supervision. Keep the appliance and cord out of reach of children younger than 8 years of age.
- Note: Children aged from 3 to 8 years are allowed to load and unload refrigerating appliances.
- The appliance can be used by children of 8 years and older and persons with a limited physical, sensory or mental capacity or lack of experience or knowledge, provided they use the appliance under supervision or have been instructed about its safe use and understand the hazards involved.
- The appliance may not be cleaned or maintained by children, unless this is done under supervision.
- Repairs to electrical appliances should only be performed by skilled persons. It is dangerous to perform a repair whereby the base unit of the appliance must be opened.
- Only use and store the appliance indoors.
- Never bend the power cord sharply or allow it to run across hot parts.
- Always remove the plug from the socket when the appliance must be cleaned or repaired.
- Never use the appliance with parts that are not recommended or supplied by the manufacturer.
- Do not pull the cord and/or appliance to remove the plug from the wall socket. Never touch the plug with wet or moist hands.
- Be careful with ice cubes and ice pops. If these are consumed directly out of the freezer, there is a risk of frostbite.
- Never submerge the appliance, cord or plug in water.
- The appliance cannot be used with a timer or separate remote control.
- This appliance is only suitable for household use. If the appliance is not used as intended, no compensation can be claimed in case of defects or accidents and the warranty will be invalidated.
If you decide not to use the appliance anymore due to a defect, we recommend cutting off the cord after removing the plug from the wall socket. Household appliances are not normal waste. Take the appliance to the waste processing department concerned of your municipality.
Refrigerant
- The refrigerant isobutene (R600a) is contained within the refrigerant circuit of the appliance, a natural gas with a high level of environmental compatibility, which is nevertheless flammable.
- During transportation and installation of the appliance, ensure that none of the components of the refrigerant circuit becomes damaged. The refrigerant (R600a) is flammable.
WARNING: Refrigerators contain refrigerant and gases in the insulation. Refrigerants and gases must be disposed of professionally as they may cause eye injuries or ignition. Ensure that the tubing of the refrigerant circuit is not damaged prior to proper disposal.
WARNING: Risk of fire/ flammable materials
If the refrigerant circuit should be damaged:
- Avoid open flames and sources of ignition.
- Thoroughly ventilate the room in which the appliance is situated.
- It is dangerous to alter the specifications or modify this product in any way. Any damage to the cord may cause a shortcircuit, fire, and/or electric shock.
Product description

- Thermostat
- Door compartments
- Bottle compartment
- Glass shelf
- Vegetable drawer
- Adjustable feet
Using the appliance for the first time

Before using the appliance for the first time, you should proceed as follows: carefully unpack the appliance and remove all packaging material and any promotional stickers. Keep the packaging (plastic bags, polystyrene and cardboard) out of the reach of children. After unpacking the appliance, check it for external damage that may have occurred during transport. Place the appliance on a sturdy, flat surface and make sure there is enough space all around for sufficient ventilation. A minimum space of 10 cm is required between the appliance and the surrounding walls. In this way the appliance is able to release heat properly, cool well and function in an energy efficient way. You can use the adjustable feet to level the appliance. Do not place the appliance near heat sources such as central heating or a stove. Do take note of the climate class of the appliance. When placed in a room that is too cold, the refrigerator will not function properly.
After placing the appliance, leave it for at least 3 hours before inserting the plug in the socket. First clean the interior of the appliance. Use warm soapy water with, for instance, washing-up liquid, all-purpose cleaner or soda. Wipe the inside of the appliance after cleaning with clean water and properly wipe everything dry. Leave the appliance to dry for 1 to 2 hours.
Use
The control unit of the appliance is located on the inside. Check that the thermostat is in position OFF. Check that the voltage corresponds with what is stated on the information plate and insert the plug in the socket.
Adjusting the temperature
By means of the thermostat, you are able to turn the appliance on and change the temperature in the refrigerator. The possible positions of the thermostat:

- Position OFF: no cooling, power on
- Position COOL: highest temperature, least cold
- Position NORMAL: optimum temperature
- Position COOLER: lowest temperature, coldest
Set the temperature with the thermostat and select a position between MIN and MAX. We recommend setting the appliance to position MED. The appliance will now cool continuously until the set temperature has been reached. Allow the appliance to reach the required temperature with no food. Usually this will take 2 to 3 hours. After that, you can set the thermostat to the required position and fill the appliance with food. To switch the appliance off, set the thermostat to position OFF and unplug the appliance.
Attention: The ambient temperature, the frequency of opening the door and the position of the appliance have an effect on the temperature in the appliance. Take this into account when setting the thermostat.
- Do not place hot food in the appliance.
- You should never place hazardous, highly flammable or explosive substances such as alcohol, acetone or petrol in the appliance, because there will be a hazard of explosion.
- Carefully package meat and fish to prevent unpleasant smells.
- Do not place food items in contact with the cold wall at the back of the appliance.
- Leave sufficient space between the different foods, to allow the air to circulate properly.
- Do not leave the door open for longer than necessary.
Tips
- High ambient temperatures have a negative effect on energy use. Keep the appliance in a position away from direct sunlight or other sources of heat.
- Keep ventilation openings free. Clogged openings lead to higher use of energy.
- Try not to open the door too often, especially when the weather is wet and hot. Once you open the door, mind to close it as soon as possible.
- Turn the thermostat to a lower setting when the circumstances allow it.
- Before storing fresh cooked food, make sure the food has cooled at least to room temperature.
- Ice and frost layer increase energy consumption, so clean the appliance as soon as the layer is 3 to 5 mm thick.
- If the gasket is damaged or if it turns out that the sealing is poor, the energy consumption is substantially higher. To restore efficiency, replace the gasket.
- Always consider the instructions, otherwise the energy consumption is substantially higher.
To avoid contamination of food, please respect the following instructions
- Opening the door for long periods can cause a significant increase of the temperature in the compartments of the appliance.
- Clean regular surfaces that can come in contact with food and accessible drainage systems.
- Store raw meat and fish in suitable containers in the refrigerator, so that it is not in contact with or drip onto other food.
- Two-star frozen-food compartments are suitable for storing pre-frozen food, storing or making ice cream and making ice cubes.
- One-, two- and three-start compartments are not suitable for the freezing of fresh food.
| Order | Compartments TYPE | Target storage temp. [°C] | Appropriate food |
| 1 | Fridge | +2 ~ +8 | Eggs, cooked food, packaged food, fruits and vegetables, dairy products, cakes, drinks and other foods are not suitable for freezing. |
| 2 | (***)*-Freezer | ≤-18 | Seafood (fish, shrimp, shellfish), freshwater aquatic products and meat products (recommended for 3 months, the longer the storage time, the worse the taste and nutrition), suitable for frozen fresh food. |
| 3 | ***-Freezer | ≤-18 | Seafood (fish, shrimp, shellfish), freshwater aquatic products and meat products (recommended for 3 months, the longer the storage time, the worse the taste and nutrition), suitable for frozen fresh food. |
| 4 | **-Freezer | ≤-12 | Seafood (fish, shrimp, shellfish), freshwater aquatic products and meat products (recommended for 3 months, the longer the storage time, the worse the taste and nutrition), suitable for frozen fresh food. |
| 5 | *-Freezer | ≤-6 | Seafood (fish, shrimp, shellfish), freshwater aquatic products and meat products (recommended for 3 months, the longer the storage time, the worse the taste and nutrition), suitable for frozen fresh food. |
| 6 | 0-star | -6 ~ 0 | Fresh pork, beef, fish, chicken, some packaged processed foods, etc. (Recommended to eat within the same day, preferably no more than 3 days). Partially encapsulated processed foods (non-freezable foods). |
| 7 | Chill | -2 ~ +3 | Fresh/ frozen pork, beef, chicken, freshwater aquatic products, etc. (7 days below 0°C and above 0°C is recommended for consumption within that day, preferably no more than 2 days). Seafood (less than 0 for 15 days, it is not recommended to store above 0°C. |
| 8 | Fresh food | 0 ~ +4 | Fresh pork, beef, fish, chicken, cooked food, etc. (Recommended to eat within the same day, preferably no more than 3 days) |
| 9 | Wine | +5 ~+20 | Red wine, white wine, sparkling wine, etc. |
Note: please store different foods according to the compartments or target storage temperature of your purchased products.
- If the refrigerating appliance is left empty for long periods, switch off, defrost, clean, dry, and leave the door open to prevent mould developing within the appliance.
Water dispenser cleaning (special for water dispenser products):
- Clean water tanks if they have not been used for 48 h; flush the water system connected to a water supply if water has not been drawn for 5 days.
WARNING: Food needs to be packed in bags before putting into the refrigerator, and liquids need to be packed in bottles or capped containers to avoid the problem that the product design structure is not easy to clean.
Cleaning and maintenance
- Regularly clean the refrigerator to ensure proper operation. Before cleaning, switch off the appliance by setting the thermostat to position OFF and unplugging the appliance.
- Remove the food. Clean the interior of the appliance. Simply remove the shelves, door compartments and vegetable drawer to clean them by hand. Use warm water and a neutral detergent, such as baking soda, to prevent any bad smells from occurring.
- Use two tablespoons and a quart liter of warm water. After cleaning, rinse the interior with clean water and leave the door open to let it air dry for 1 to 2 hours before the power is turned on. Be careful not to affect the electrical insulation properties when rinsing with water.
- For areas that are difficult to clean in the refrigerator, such as narrow gaps or corners, it is recommended to wipe them regularly with a soft rag, soft brush, etc. When necessary use some auxiliary tools, such as thin sticks (tooth picks), to ensure no contamination can accumulate in these areas.
- Clean the outside of the refrigerator and the door gasket with mild soap and water. Use a soft moist cloth.
- We recommend that you dust the back of the appliance and on the floor with a cloth or vacuum cleaner once a year in order to maintain a good output and low energy consumption.
- Do not use hard brushes, cleaning steel wire balls, wire brushes, abrasives, such as toothpaste, organic solvents (such as alcohol, acetone, oils, etc.), boiling water, acid or alkaline items to clean the refrigerator considering that this may damage the fridge surface and interior. Boiling water and benzene may deform or damage plastic parts.
Resolving failures yourself
| Breakdown | Cause | Solution |
| The appliance no longer works | There is an interruption in the power supply. | – check that the plug is properly inserted in the socket – check that the power cable is not damaged – check that there is voltage on the socket by connecting a different appliance, such as a night lamp – ensure that the appliance is on by not setting the thermostat to the OFF position |
|
Temperature in the refrigerator is too high or too low | Wrong setting of the thermostat. | – turn the thermostat to a different position |
| The ambient temperature is higher or lower than the temperature indicated in the table with technical data. | The appliance is intended for operation in an ambient temperature indicated in the table with technical data supplied with the appliance. | |
| The appliance is located in direct sunlight or near a heat source. | Change the location of the appliance according to the information in the instruction manual. | |
| The ventilation at the rear of the appliance is hindered. | Keep the appliance 10 cm away from the walls, for sufficient ventilation. | |
| The door of the refrigerator is opened too frequently or remains open for too long. | Open the door less often and/or reduce the time that the door remains open. | |
| The door is not closed properly. | Make sure the foods are placed in such a way that they do not hinder the door when it is being closed. | |
| The compressor does not work often enough. | Check that the ambient temperature is not lower than the range of the climate class. | |
| The door rubber is loose. | Fasten the door rubber or have it replaced. | |
| The appliance is working continuously. | Wrong setting of the thermostat. | – turn the thermostat to a higher position |
| There is water in the lower section of the refrigerator. | The opening of the defrost water drain is clogged. | Clean the opening of the defrost water drain by means of the skewer. |
| The ventilation within the refrigerator section is hindered. | Check that the food does not make contact with the rear wall of the refrigerator. |
| Unusual or loud noises | The appliance is not level and stable. | Level the appliance with the adjustable feet. |
| The appliance is standing against something. | Place the appliance in such a way that it is not standing against anything. |
During normal use of the cooling appliance, different types of noises can occur that do not have any effect on the correct operation of the appliance.
Noises that can be easily remedied:
- Noise due to the fact that the appliance is not level – position the appliance using the front adjustable feet. If necessary, place soft material under the rear wheels, particular in case of a tiled floor.
- Friction against other furniture – move the appliance.
- Grinding of drawers or shelves – remove the shelf or drawer and then place it back.
- Noise of colliding bottles – place the bottles apart.
Noises that can be heard during normal use of the appliance are caused by the operation of the thermostat, compressor (activation), cooling system (shrinkage and expansion of the material under the influence of temperature differences and flow of cooling liquid).
General terms and conditions of service and warranty
5-year Inventum warranty
- Customers enjoy a 5-year full manufacturer’s warranty on all Inventum products.
- Within this period, a defective product or part, which makes normal functioning of the product or part impossible, will always be repaired free of charge or, if repair is not possible and/or does not provide a solution, replaced (by the same or equivalent product). The assessment of this lies with Inventum.
- In order to make a claim under the 5-year Inventum warranty you must, within two months after discovering the fault or defect, either return the product to the shop where you bought it, or contact the Inventum customer service department by using the form at www.inventum.eu/service.
- The warranty period starts from the date stated on the product’s original sales receipt.
- To invoke the warranty, you must always send a copy of the original proof of purchase with the service request and present the original proof of purchase to the service technician.
- The 5-year warranty applies only to normal domestic use of Inventum products within the Netherlands.
Warranty exclusions
- The 5-year Inventum guarantee does not apply in case of: normal wear and tear, consumables, improper use, insufficient or incorrect maintenance, incorrect and/or inexpert assembly and installation of the appliance, repairs by unauthorized third parties, business or commercial use, missing serial number, damage caused by an external cause. This enumeration is not exhaustive.
- B-choice products and products that have been built-in in a showroom are not covered by the 5-year Inventum warranty. All optical damage such as dents, scratches and slight traces of use are excluded from any warranty.
Reporting malfunctions on Inventum products
- Faults or defects on Inventum products can be reported by using the service request form on the website www.inventum.eu/service or through the seller of the product.
- A copy of the original proof of purchase must be included with the request.
- Inventum’s service department determines whether the product will be repaired or replaced, based on the request and the sales receipt.
Important to know
- Products sent without prior notification will not be accepted. Further to the notification you will be informed by Inventum whether a warranty applies and whether you must return the product.
- The replacement or repair of a defective product, or a part thereof, does not lead to an extension of the original warranty period.
- Products eligible for replacement or repair must be emptied and clean.
For a detailed explanation of the warranty conditions and items excluded from them, please visit Inventum’s website www.inventum.eu/algemene-voorwaarden
These general warranty and service conditions apply to Inventum brand products purchased after 27 April 2022 and intended for use within the Netherlands. For Inventum products used outside the Netherlands, but within a EU Member State, the warranty rules of that country apply. Inventum provides warranty and service by a white goods technician only in the Netherlands.
As a consumer, you are entitled by law to a properly working product. Does the product break down sooner than you might expect? This means that the product is not in conformity. In that case, the law offers you, the buyer, with a number of legal remedies for your protection. This legal protection is not affected by the above commercial warranty given by Inventum on Inventum products used within the Netherlands.
Inventum Huishoudelijke Apparaten B.V., Meander 901, 6825 MH Arnhem, The Netherlands
Inventum Apparaten B.V.
- Postbus 5023 6802 EA Arnhem
![]()
- www.inventum.eu
- facebook.com/inventum1908
- pinterest.com/inventum1908
- youtube.com/inventum1908
- instagram.com/inventum1908
Modifications and errors reserved.




















