LR76CUC16 Washing Machine
User Manual

LR76CUC16 Washing Machine
FOR PERFECT RESULTS
Thank you for choosing this AEG product. We have created it to give you impeccable performance for many years, with innovative technologies that help make life simpler – features you might not find on ordinary appliances. Please spend a few minutes reading to get the very best from it.
Visit our website to:
| Get usage advice, brochures, trouble shooter, service and repair information: www.aeg.com/support | |
| Register your product for better service: www.registeraeg.com | |
| Buy Accessories, Consumables and Original spare parts for your appliance: www.aeg.com/shop |
CUSTOMER CARE AND SERVICE
Always use original spare parts.
When contacting our Authorised Service Centre, ensure that you have the following data available: Model, PNC, Serial Number.
The information can be found on the rating plate.
| Warning/Caution-Safety information | |
| General information and tips | |
| Environmental information |
SAFETY INFORMATION
Before beginning the installation and use of this appliance, carefully read the supplied instructions. The manufacturer is not responsible for any injuries or damage that are the result of incorrect installation or usage. Always keep the instructions in a safe and accessible location for future reference.
1.1 Children and vulnerable people safety
- This appliance can be used by children aged from 8 years and above and persons with reduced physical, sensory or mental capabilities or lack of experience and knowledge if they have been given supervision or instruction concerning the use of the appliance in a safe way and understand the hazards involved.
- Children between 3 and 8 years of age and persons with very extensive and complex disabilities shall be kept away from the appliance unless continuously supervised.
- Children of less than 3 years of age should be kept away from the appliance unless continuously supervised.
- Children should be supervised to ensure that they do not play with the appliance.
- Keep all packaging away from children and dispose of it appropriately.
- Keep detergents away from children.
- Keep children and pets away from the appliance when the door is open.
- If the appliance has a child safety device, it should be activated.
- Children shall not carry out cleaning and user maintenance of the appliance without supervision.
1.2 General Safety
- This appliance is for washing domestic-type, machine washable laundry only.
- This appliance is designed for single household domestic use in an indoor environment.
- This appliance may be used in, offices, hotel guest rooms, bed & breakfast guest rooms, farm guest houses and other similar accommodation where such use does not exceed (average) domestic usage levels.
- Do not change the specification of this appliance.
- The appliance maximum load is 10.0 kg. Do not exceed the maximum load of each programme (refer to the “Programmes” chapter).
- The operating water pressure at the water entry point from the outlet connection must be between 0.5 bar (0.05 MPa) and 10 bar (1.0 MPa).
- The ventilation opening in the base must not be covered by a carpet, mat, or any floor covering.
- The appliance must be connected to the water mains using the new supplied hose sets, or other new hose sets supplied by the Authorised Service Centre.
- Old hose sets must not be reused.
- If the mains power supply cable is damaged, it must be replaced by the manufacturer, its Authorised Service Centre or similarly qualified persons to avoid an electrical hazard.
- Before any maintenance operation, deactivate the appliance and disconnect the mains plug from the socket.
- Do not use high pressure water sprays and/or steam to clean the appliance.
- Clean the appliance with a moist cloth. Use only neutral detergents. Do not use abrasive products, abrasive cleaning pads, solvents or metal objects.
SAFETY INSTRUCTIONS
2.1 Installation
The installation must comply with relevant national regulations.
- Remove all the packaging and the transit bolts including rubber bush with plastic spacer.
- Keep the transit bolts in a safe place. If the appliance is to be moved in the future they must be reattached to lock the drum to prevent an internal damage.
- Always take care when moving the appliance as it is heavy. Always use safety gloves and enclosed footwear.
- Follow the installation instructions supplied with the appliance.
- Do not install or use a damaged appliance.
- Do not install or use the appliance where the temperature can be less than 0°C or where it is exposed to the weather.
- The floor area on which the appliance is to be installed must be flat, stable, heat resistant and clean.
- Make sure that there is air circulation between the appliance and the floor.
- When the appliance is in its permanent position, check if it is levelled correctly with the aid of a spirit level. If it is not, adjust the feet accordingly.
- Do not install the appliance directly above a floor drain.
- Do not spray water on the appliance and do not expose it to excessive humidity.
- Do not install the appliance where the appliance door cannot be fully opened.
- Do not put a closed container to collect possible water leakage under the appliance. Contact the Authorised Service Centre to ensure which accessories can be used.
2.2 Electrical connection
WARNING!
Risk of fire and electric shock.
- WARNING: This appliance is designed to be installed/connected to a grounding connection in the building.
- Always use a correctly installed shockproof socket.
- Make sure that the parameters on the rating plate are compatible with the electrical ratings of the mains power supply.
- Do not use multi-plug adapters and extension cables.
- Make sure not to cause damage to the mains plug and to the mains cable. Should the mains cable need to be replaced, this must be carried out by our Authorised Service Centre.
- Connect the mains plug to the mains socket only at the end of the installation. Make sure that there is access to the mains plug after the installation.
- Do not touch the mains cable or the mains plug with wet hands.
- Do not pull the mains cable to disconnect the appliance. Always pull the mains plug.
2.3 Water connection
- The inlet water shall not exceed 25 °C.
- Do not cause damage to the water hoses.
- Before connection to new pipes, pipes not used for a long time, where repair work has been carried out or new devices fitted (water meters, etc.), let the water flow until it is clean and clear.
- Ensure that there are no visible water leaks during and after the first use of the appliance.
- Do not use an extension hose if the inlet hose is too short. Contact the Authorised Service Centre for the replacement of the inlet hose.
- When unpacking the appliance, It is possible to see water flowing from the drain hose. This is due to the testing of the appliance with the use of water in the factory.
- You can extend the drain hose to maximum 400 cm. Contact the Authorised Service Centre for the other drain hose and the extension.
- Make sure that there is access to the tap after the installation.
2.4 Use
WARNING!
Risk of injury, electric shock, fire, burns or damage to the appliance.
- Follow the safety instructions on the detergent packaging.
- Do not put flammable products or items that are wet with flammable products in, near or on the appliance.
- Do not wash fabrics which are heavily soiled with oil, grease or other greasy substances. It can damage rubber parts of the washing machine.
Prewash such fabrics by hand before loading them into the washing machine. - Do not touch the glass door while a programme operates. The glass can get hot.
- Make sure that all metal objects are removed from the laundry.
2.5 Service
- To repair the appliance contact the Authorised Service Centre. Use original spare parts only.
- Please note that self-repair or nonprofessional repair can have safety consequences and might void the guarantee.
- The following spare parts will be available for 10 years after the model has been discontinued: motor and motor brushes, transmission between motor and drum, pumps, shock absorbers and springs, washing drum, drum spider and related ball bearings, heaters and heating elements, including heat pumps, piping and related equipment including hoses, valves, filters and aqua stops, printed circuit boards, electronic displays, pressure switches, thermostats and sensors, software and firmware including reset software, door, door hinge and seals, other seals, door locking assembly, plastic peripherals such as detergent dispensers. Please note that some of these spare parts are only available to professional repairers, and that not all spare parts are relevant for all models.
- Concerning the lamp(s) inside this product and spare part lamps sold separately: These lamps are intended to withstand extreme physical conditions in household appliances, such as temperature, vibration, humidity, or are intended to signal information about the operational status of the appliance. They are not intended to be used in other applications and are not suitable for household room illumination.
2.6 Disposal
WARNING!
Risk of injury or suffocation.
PRODUCT DESCRIPTION
3.1 Special features
Your new washing machine meets all modern requirements for an effective treatment of laundry with low water, energy and detergent consumption and proper care of fabric.
- The Wi-Fi connection and Remote Start enable you to start a cycle, to interact with your washing machine and to check the washing cycle status in remote control.
- The Universal Dose drawer with a compartment dedicated to each type of detergent, including a compartment for PODS, equipped with a system able to spread and mixing the detergent in an optimal way, and to dissolve the detergent residues after each cycle.
- The Pro Sense technology detects the laundry load size defining the programme duration in 30 seconds.
The washing programme is tailored to the laundry load and the type of fabric without consuming more time, energy and water than necessary. - The steam has a quick and easy way to refresh the clothes. The gentle steam programmes remove odours and reduce creases in dry fabrics so they need little ironing.
The Plus Steam option, finishes every cycle with gentle steam that relaxes the fibres and reduces fabric creasing. Ironing will be easier! - The AEG Steam Fragrance, thanks to the steam programmes offers the perfect solution for refreshing even the most delicate garments without washing. Use the delicate fragrance exclusively developed by AEG to add a pleasant feeling of “just-washed” garment to the removing odours and wrinkles action.
3.2 Appliance overview

- Worktop
- Detergent dispenser
- Control panel
- Door handle
- Rating plate
- Drain pump filter
- Feet for levelling the appliance
- Drain hose
- Inlet hose connection
- Mains cable
- Transit bolts
- Hose support
https://example.qrcode.electrolux.com
The rating plate reports:
A. QR code
B. model name
C. product number
D. electrical ratings
E. serial number
TECHNICAL DATA
| Dimension | Width/Height/Total depth | 59.7 cm /84.7 cm /66.0 cm |
| Electrical connection | Voltage | 230 V |
| Overall power | 2200 W | |
| Fuse | 10:00 AM | |
| Frequency | 50 Hz | |
| Level of protection against ingress of solid particles and moisture ensured by the protective cover, except where the low voltage equipment has no protection against moisture | IPX4 | |
| Water supply pressure | Minimum | 0.5 bar (0.05 MPa) |
| Maximum | 10 bar (1.0 MPa) | |
| Water supply 1) | Cold water | |
| Maximum Load | Cotton | 10.0 kg |
| Spin Speed | Maximum spin speed | 1551 rpm |
1) Connect the water inlet hose to a water tap with a 3/4” thread.
INSTALLATION
WARNING!
Refer to Safety chapters.
5.1 Unpacking
WARNING!
Remove all the packaging and the transit bolts before installing the appliance.
WARNING!
Use the gloves.
- Remove the external film. If necessary, use a cutter.

- Remove the cardboard top and the polystyrene packaging materials.

- Remove the internal film.

- Open the door and remove the polystyrene piece from the door seal and all the items from the drum.

- Carefully put the appliance down on its rear side.
- Put the front polystyrene packaging element on the floor under the appliance.
Make sure not to damage the hoses.
- Remove the polystyrene protection from the bottom.

- Pull up the appliance in vertical position.

- Remove the power supply cable and the drain hose from the hose holders.
It is possible to see water flowing from the drain hose. This is due to the testing with water of the appliance in factory.
- Remove the three bolts by using the spanner supplied with the appliance.

- Pull out the plastic spacers.
- Put the plastic caps, that you find in the user manual bag, in the holes.

We recommend that you keep the packaging and the transit bolts for any movement of the appliance.
5.2 Positioning and levelling
- Install the appliance on a flat hard floor.
Make sure that carpets do not stop the air circulation below the appliance.
Make sure that the appliance does not touch the wall or other units. - Loosen or tighten the feet to adjust the level.
WARNING!
Do not put cardboard, wood or equivalent materials below the appliance feet to adjust the level.
The appliance must be level and stable.
A correct adjustment of the appliance level prevents the vibration, noise and the movement of the appliance when in operation.
When the appliance is installed on a plinth or a tumble dryer is stacked on the washing machine, use the accessories described in chapter ‘Accessories’. Read carefully the instructions supplied with the appliance and with the accessory.
5.3 Fixing plate kit
If you install the appliance on a plinth that is not an accessory supplied by AEG, secure the appliance with the fixing plates. This spare part is available in web shop or from authorised dealer.
Read carefully the instructions supplied with the accessory.
5.4 The inlet hose
- Connect the water inlet hose to the back of the appliance.
- Position it toward left or right depending on the position of the water tap.

Make sure that the inlet hose is not in vertical position. - If necessary, loose the ring nut to set it in the correct position.
- Connect the water inlet hose to the cold water tap with 3/4″ thread.

WARNING!
The inlet water shall not exceed 25 °C.
CAUTION!
Make sure that there are no leaks from the couplings.
Do not use an extension hose if the inlet hose is too short. Contact the service centre for the replacement of the inlet hose.
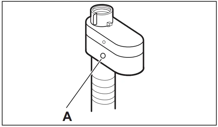
5.5 Water-stop device
The inlet hose has a water stop device. This device prevents water leaks in the hose because of its natural ageing.
The red sector in the window «A» shows this fault.

If this occurs, close the water tap and contact the authorized service centre to replace the hose.
5.6 Water drainage
The drain hose should be positioned at a height of not less than 60 cm and not more than 100 cm from the floor.
You can extend the drain hose to maximum 400 cm. Contact the authorized service centre for the other drain hose and the extension.
It is possible to connect the drain hose in different ways:
- Make a U shape with the drain hose and put it around the plastic hose guide.

- On the edge of a sink – Fasten the guide to the water tap or to the wall.
Make sure that the plastic guide cannot move when the appliance drains.
Make sure that the drain hose end is not immersed in the water. There may be a return of dirty water into the appliance. - To a stand pipe with vent-hole Insert the drain hose directly into a drain pipe. Refer to the illustration.
The end of the drain hose must always be ventilated , i.e. the inner diameter of the drain pipe (min. 38 mm min. 1.5″) must be larger than the external diameter of the drain hose. - If the end of the drain hose looks like this (see the picture), you can push it directly into the stand pipe.

- Without the plastic hose guide, to a sink spigot – Put the drain hose in the spigot and tighten it with a clamp. Refer to the illustration.

Make sure that the drain hose makes a loop to prevent particles going into the appliance from the sink. - Position the hose directly to a builtin drain pipe in the room wall and tighten it with a clamp.

5.7 Electrical connection
At the end of installation you can connect the mains plug to the mains socket. The rating plate and the ‘Technical Data’ chapter indicate the necessary electrical ratings. Make sure that they are compatible with the mains power supply. Check that your domestic electrical installation can take the maximum load required, also taking into account any other appliances in use. Connect the appliance to an earthed socket.
The power supply cable must be easily accessible after installing the appliance. For any electrical work required to install this appliance, contact our Authorised Service Centre.
The manufacturer does not accept any responsibility for damage or injury through failure to comply with the above safety precaution.
CONTROL PANEL
6.1 Control panel description

The options are not selectable with all washing programmes. Check the compatibility between options and washing programmes in the “Options compatibility with programmes” paragraph in the “Programmes” chapter.
An option can exclude another one, in this case the appliance doesn’t allow you to set the incompatible options together.
Make sure the screen and touch buttons are always clean and dry.
- On/Off push button
- Programme dial
- Favourite programmes

- Display
- Wi-fi connection and Remote Start touch button

- Finish In touch button
- Start / Pause touch button

- Pods touch button
- Plus Steam touch button
- Extra Rinse touch button
- Time Save touch button
- Stains/Prewash touch button and permanent Child Lock option
3s - Spin touch button
- Temperature touch button
6.2 Display

| Door locked indicator. | |
| Washing phase indicator. It flashes during pre-wash and wash phase. | |
| Rinsing phase indicator. It flashes during rinse phase. | |
| Spinning and draining phase indicator. It flashes during spin and drain phase. | |
| Steam phase indicator. | |
| Anti-crease phase indicator. | |
| Eco programme indicator: it lights on when the selected programme and options have an eco profile. | |
| Add garments indicator: it lights on when the programme starts and the user can still pause the appliance and add more laundry. | |
| Extra Rinse indicator. | |
| ProSense indicator. | |
| Finish In indicator. |
| The digital indicator can show: • Programme duration (e. g. The time shown when the programme is set could not correspond to effective duration and change af‐ ter ProSense phase. • Maximum load. • Finish in time (e. g. • Cycle end ( • Warning code (e.g. • Indication of total operating hours of the appliance. Refer to the ‘Op‐erating hours counter’ section in the ‘Settings’ paragraph for more details. • When working with the APP: | |
| Maximum load indicator. The value is shown for three seconds after programme selection, alternated with cycle duration. | |
| Maximum laundry indicator. It blinks if the laundry amount exceeds the declared load. | |
| This indicator reminds to run a cleaning cycle. | |
| APP notification to check. | |
| Remote connection indicator. Wi-Fi connection indicator. | |
| Child safety lock indicator. | |
| The Temperature area: Temperature indicator Cold water indicator | |
| The spin area: Spin speed indicator No Spin indicator. Spin phase is off. | |
| Extra Silent indicator. | |
| Rinse hold indicator. | |
| Pre-wash indicator. | |
| Stain indicator. |
7.1 On/Off
Pressing this button for a few seconds allows to activate or deactivate the appliance. Two different tunes sound while switching the appliance on or off. As the Stand-by function automatically deactivates the appliance to decrease the energy consumption in a few cases, you may need to activate the appliance again.
For more details, refer to Stand-by paragraph in Daily Use chapter.
7.2 Programme dial
By rotating the programme dial it is possible to select the desired programme.
7.3 Favourite programmes
These selector positions are available after the appliance have been connected to Wi-Fi.
The favourite programmes can be set and saved via App only choosing from the available ones which are divided in categories based on clothing type.
Once the favourite programmes have been set, you can select one of them via App or by turning the programme dial to relevant position: the relevant led comes on and the information on the display are updated accordingly.
The favourite programmes can be cancelled through the related App command or pressing the Factory Default key combination.
7.4 Introduction
The options/functions are not selectable with all washing programmes. Check the compatibility between options/functions and washing programmes in the “Programme Chart”. An option/function can exclude another one, in this case the appliance doesn’t allow you to set the incompatible options/functions together. Make sure the screen and touch buttons are always clean and dry.
7.5 Remote start
A quick touch of this button activates the Remote Start function that allows you to start, pause and stop the appliance remotely.
The related led comes on and the related icon appears on display.
If you set a programme via App and it does not match with the knob position,
text appears alternating with programme duration.
Press and hold this button for longer time to provide two other functions:
- hold it down for 3 seconds as long as a click sounds: the Wi-Fi is turned on and off.
- hold it down for 10 seconds as long as a double beep sounds and
appears on the display: to reset the Network Credentials.
7.6 Finish In
Set this option as last after programme and other options selection, otherwise it can be cancelled if you change some setting.
This option allows choosing the time within which a programme should terminate. The programme end can be postponed by one 1 hour every button touch until 24 hours maximum.
The display shows the normal programme duration alternatively with the set programme end time (expressed in hours 0h). The minimum selectable time corresponds to rounded up hour of the maximum duration of a programme (e.g. if the cycle duration lasts 3:15 hours, the minimum selectable time will be 4h).
After programme start, the door is locked and the appliance starts the ProSense phase. When load estimation ends, on the display the icon of running phase blinks and the time digit counts down in steps of one hour and in steps of 1 minute during the last hour.
7.7 Start / Pause ![]()
Touch the Start / Pause
button to start, pause the appliance or interrupt a running programme.
7.8 Pods
Touch this button to activate or deactivate the Pods option .
When activated the relevant indicator is on.
Follow the Pods manufacturer’s dosage and storage recommendations.
Put maximum two tablets or single-dose detergents in the Pods compartment in the detergent dispenser drawer.
The option remains active also for next cycles until it is deactivated and if it is selectable with the set programme.
7.9 Plus Steam
This option adds a steam phase followed by a short anti-crease phase at the end of the washing programme.
The steam phase reduces fabric creasing and facilitates the fabric ironing.
The recommended maximum load decreases on the display.
The indicator
blinks on the display during steam phase.
This option can affect the programme duration.
When the programme stops the display shows a zero
, the indicator
is steady on and the indicator
starts blinking, and the Start / Pause
led remains lit. The drum performs smooth movements for about 30 minutes to keep the steam benefit. By touching any button the anti-crease movements stop and the door unlocks, the appliance proposes again the previous set programme.
To interrupt the anti-crease phase, you can also:
- Press the On/Off button for a few seconds to activate or the deactivate the appliance.
- Turning the programme dial in another position.
An half laundry load helps to reach better results.
7.10 Extra Rinse
With this option you can add a few rinses to the selected washing programmes and optimise the fabric softener distribution and improve the fabric softness.
It is suggested when you use the fabric softener.
Useful for people allergic to detergents and in areas where the water is soft.
This option increases the programme duration.
The button indicator comes on.
7.11 Time Save
With this option you can decrease the programme duration.
- If your laundry is normally or lightly soiled, it may be advisable to shorten the washing programme. Touch this button once to decrease the duration.
- In case of smaller load, touch this button twice to set an extra quick programme.
In this case, the temperature 95°C is not selectable.
The led of the button is on and the display shows the set programme duration.
This option can also be used to shorten the steam programme duration.
7.12 Stains/Prewash
Press this button repeatedly to activate one of the two options.
The relevant indicator goes on in the display.
Stains
Select this option to add an anti-stain phase to a programme in order to treat heavily soiled or stained laundry with stain remover.
Pour the stain remover into compartment
. The stain remover will be added in the appropriate phase of the washing programme.
This option is not available with a temperature lower than 40 °C.
Prewash
Use this option to add a pre-wash phase at 30 °C before the washing phase.
This option is recommended for heavily soiled laundry, especially if containing sand, dust , mud and other solid particles.
The options can increase the programme duration.
These two options cannot be set together.
7.13 Spin
When you set a programme, the appliance automatically selects the default spin speed.
Touch this button repeatedly to:
- Change the spin speed.
The display shows only the spin speeds available for the set programme.
- Activate the Rinse Hold option .
The water of the last rinse is not drained out to prevent the fabrics from creasing. The washing programme ends with water in the drum and the final spin phase is not performed.
The display shows the indicator
.
The drum turns regularly to reduce creasing.
The door stays locked. The drum turns regularly to reduce creasing. You must drain the water to unlock the door.
Touch Start / Pause button
: the appliance performs the spinning phase and drains the water. - Activate the Extra silent option.
All spinning phases (intermediate spin and final spin) are suppressed and the programme ends with water in the drum. This helps to reduce creasing. As the programme is very quiet, it is suitable for use at night time when cheaper electricity tariffs are available. In some programmes the rinses are performed with more water.
The display shows the indicator
. The door stays locked. The drum turns regularly to reduce creasing. You must drain the water to unlock the door. Touch the Start / Pause button: the appliance performs only the draining phase. - No Spin
.
Set this option to deactivate all spin phases. The display shows the indicator
.
The appliance performs the only draining phase of the selected washing programme. Set this option for very delicate fabrics. The rinses phase uses more water for some washing programmes
The appliance empties the water out automatically after approximately 18 hours.
7.14 Temperature
When you select a washing programme, the appliance automatically proposes a default temperature.
Touch this button repeatedly until the desired temperature value appears on the display.
SETTINGS
8.1 Introduction
When pressing a key combination, do not tilt your fingers downwards . The sensors of the underneath buttons are sensitive and may interfere with Your choice.
8.2 Acoustic signals
This appliance is provided with different acoustic signals, that operate when:
- You activate the appliance (special short tune).
- You deactivate the appliance (special short tune).
- You touch the buttons (click sound).
- You make a wrong selection (3 short sounds).
- The programme is completed (sequence of sounds for about 2 minutes).
- The appliance has a malfunction (sequence of short sounds for about 5 minutes).
- When a laundry overload is detected during ProSense phase (a double sound played one).
To activate/deactivate this option, hold down the Extra Rinse button until a beep or a double beep sounds.
If you deactivate this function, the acoustic signals stops playing at the end of the programme only.
8.3 Child Lock
With this option you can prevent children from playing with the control panel.
When the display shows the indicators
and — , the appliance does not heat the water.
To activate/deactivate this option, hold down the Stains/Prewash button until
comes on/goes off on the display.
The appliance will default to this option after you switch it off.
8.4 Operating Hours Counter
It is possible to visualise the total operating time of the appliance in hours, starting from the first switching on. This value will count operating time of the cycles (does not include pauses, delayed start time). To visualise this value, proceed as follows:
- Switch the appliance on by pressing the On/Off button.
- Press and hold the Extra Rinse and Plus Steam buttons for some seconds.
- After 3 seconds the total hours operated by the appliance are shown in the display: e.g. 1276 hours, the display shows the text Hr for 2 seconds, 12 (thousands and hundreds) for 2 seconds and 76 (tens and units).
- To exit this mode, press any button or switch the appliance off by means of theOn/Off button.
If the procedure does not work (due to timeout or wrong keys combination), switch the appliance off and repeat sequence from the beginning.
8.5 Factory Defaults
This function allows to restore the factory default options. To activate this option follow steps below:
- Switch the appliance on by pressing On/Off button.
- Press and hold the Stains/Prewash and Time Save buttons for some seconds.
- The display will show
for about 5 seconds.
BEFORE FIRST USE
During installation or before first use you may observe some water in the appliance. This is a residual water left in the appliance after a full functional test in the factory to ensure the appliance is delivered to customers in perfect working order and is no cause for concern.
- Make sure that all transit bolts have been removed from the appliance.
- Make sure that the electrical power is available and the water tap is open.
- Pour 2 litres of water into the detergent compartment marked by
.
This action activates the drain system. - Pour a small quantity of detergent into the compartment marked by
. - Set and start a programme for cotton at the highest temperature without any laundry in the drum.
This removes all possible dirt from the drum and the tub.
PROGRAMMES
10.1 Programme Chart
The programmes are described in this chart following the order of the selector dial from the top to the bottom.
Washing programmes
| Programme | Programme description |
| MixLoad 69min | Cotton and mixed synthetic fabrics. Ideal to wash your daily load in a short time, for a better clothes care and good cleaning already at 30°C. |
| Eco 40-60 | Low energy cycle for cottons. Decreases temperature and ex‐tends time to reach good washing results. |
| Cottons | White and coloured cotton fabrics. Ideal for normal and heavy soil. |
| Synthetics | Synthetic items or mixed fabric items. Normal soil. |
| Delicates | Delicate fabrics such as acrylics, viscose and mixed fabrics re‐quiring gentler washing. Normal soil. |
| Machine washable wool, hand washable wool and other fabrics with «hand washing» care symbol 1) . | |
| 20min 3kg | Cotton and synthetic items lightly soiled or worn only once. |
| Cotton, synthetic and mixed items. Special steam cycle without washing that can be used to prepare your dried laundry for ironing or refreshing garments worn once. This programme re‐duces creases, odours and relaxes the fibres. Do not use any detergent. When the programme is completed, quickly remove the laun‐ 2) dry from the drum . If necessary, remove stains by washing or using localized stain removal. Steam programmes do not per‐ form any hygienic cycle. Do not set a Steam programme with these types of items: • Items that are not suitable for tumble drying. • Items with label “Dry clean only”. | |
| Machine Clean | Maintenance cycle with hot water to clean and freshen the drum and to remove residue that may cause odour. Before run‐ ning this cycle, remove all items from the drum. Pour a cup of chlorine bleach or a washing machine cleaner in the washing phase compartment of the detergent dispenser. DO NOT use 3) both together . |
| White cotton items. This high-performance wash programme combined with steam vapour, removes more than 99,99% of 4) bacteria and viruses keeping the temperature above 60°C throughout the washing phase; with an additional action on the fibers thanks to a vapour phase, an enhanced rinsing phase ensures a proper removal of detergent and micro-organism residues. This programme ensures also a proper reduction of pollens/allergenic items. | |
| Rinse | All fabrics, except woollens and very delicate fabrics. Pro‐ gramme for rinsing and spinning the laundry. The default spin speed is the one used for cotton programmes. Reduce the spin speed accordingly to the type of laundry. If necessary, set the Extra Rinse option to add rinses. With a low spin speed the ap‐pliance performs delicate rinses and a short spin. |
| Spin/Drain | To spin the laundry and to drain the water in the drum. All fab‐ rics, except woollens and delicate fabrics. |
- During this cycle the drum rotates slowly to ensure a gentle wash. It can seem that the drum doesn’t rotate or doesn’t rotate properly, but this is normal for this programme.
- If you set a Steam programme with dried laundry, at the end of the cycle the laundry can be humid. Line dry the items for about 10 minutes. This programme does not remove particularly intense odour. After the drum cleaning, run a further rinse cycle with empty drum and no detergent to remove any residue of bleach.
- Tested for Staphylococcus aureus, Enterococcus faecium, Candida albicans, Pseudomonas aerugino‐ sa and MS2 Bacteriophage in external test performed by Swissatest Testmaterialien AG in 2021 (Test Report No. 202120117).
Programme temperature, maximum spin speed and maximum load
| Programme | Default tempera- ture Temperature range | Reference spin speed Spin speed range | Maximum load |
| MixLoad 69min | 30 -C 60 °C – 30 °C | 1600 rpm 1600 rpm – 400 rpm | 5.0 kg |
| Eco 40-60 | 40 °C1) | 1600 rpm 1600 rpm – 400 rpm | 10.0 kg |
| Cottons | 40 °C 95 °C – Cold | 1600 rpm 1600 rpm – 400 rpm | 10.0 kg |
| Synthetics | 40 °C 60 °C – Cold | 1200 rpm 1200 rpm – 400 rpm | 4.0 kg |
| Delicates | 30 °C 40 °C – Cold | 800 rpm 1200 rpm – 400 rpm | 2.0 kg |
| 40 °C 40 °C – Cold | 1200 rpm 1200 rpm – 400 rpm | 1.5 kg | |
| 20min 3kg | 30 °C 40 °C – 30 °C | 1200 rpm 1600 rpm – 400 rpm | 3.0 kg |
| – | 1.0 kg | ||
| Machine Clean | 60 °C | 1200 rpm 1200 rpm – 400 rpm | |
| 60 ‘C | 1600 rpm 1600 rpm – 400 rpm | 10.0 kg |
| Programme | Default tempera‐ture Temperature range | Reference spin speed Spin speed range | Maximum load |
| Rinse | – | 1600 rpm 1600 rpm – 400 rpm | 10.0 kg |
| Spin/Drain | – | 1600 rpm 1600 rpm – 400 rpm | 10.0 kg |
1) According to Commission Regulation EU 2019/2023, this programme at 40 °C is able to clean normal‐ly soiled cotton laundry declared to be washable at 40 °C or 60 °C, together in the same cycle.
For the reached temperature in the laundry, the programme duration and other data, please refer to ‘Consumption Values’ chapter.
The most efficient programmes in terms of energy consumption are generally those that perform at lower temperatures and longer duration.
10.2 Steam programme with AEG Steam Fragrance
Available in www.aeg.com/shop .
Steam programmes can be used for reducing wrinkles and odours of garments that just need to be refreshed, avoiding washing. Steam programme doesn’t remove particularly intense odour.
The fabric fibres are relaxed and afterwards ironing becomes effortless.
When the programme is completed, quickly remove the laundry from the drum. Steam programme does not perform any hygienic cycle. Do not set a steam programme with the following type of items:
- Items that are not suitable for tumble drying.
- Items with label “Dry clean only”.
After the steam treatment the laundry can be humid. Hang items out for a few minutes.
The fragrance. If you use this special gentle fragrance, your laundry will scent as just washed. Read carefully the instructions supplied with the fragrance. Reduce the fragrance dosage when treating smaller load. By means of the Time Save button, you can reduce the programme duration when treating items labeled to be washed at low temperature.
DO NOT:
- Tumble dry the garments treated with fragrance. Its benefit would evaporate.
- Use the fragrance with different purposes than those here described.
- Use the fragrance on new garments. New garments may contain residual finishing compounds which are not compatible with it.
The fragrance dose bottles are available on AEG web shop or by authorised dealer.
10.3 Woolmark Wool Care – Blue

The wool wash cycle of this machine has been approved by The Woolmark Company for the washing of wool garments labelled as «hand wash» provided that the products are washed according to the instructions on the garment label and those issued by the manu‐ facturer of this washing machine. M1230 The Woolmark symbol is a Certification mark in many countries.
10.4 Options compatibility with programmes

| MixLoad 69min | Eco 40-60 | Cottons | Synthetics | Delicates | Wool | 20min 3kg | Steam | Machine Clean | Hygiene | Rinse | Spin/Drain | |
| Finish In | ■ | ■ | ■ | ■ | ■ | ■ | ■ | ■ | ■ | ■ | ■ |
- If you set the No Spin option, the appliance performs draining only.
- This option is not available with temperature lower than 40 °C.
- If you set the shortest duration, we recommend that you decrease the load size. It is possible to fully load the appliance, however the washing results can be less satisfactory.
Suitable detergents for washing programmes
| Programme | Universal powder 1) | Liquid Uni‐ versal | Liquid for coloureds | Delicates woollens | Special |
| MixLoad 69min | — | ▲ | ▲ | — | — |
| Eco 40-60 | ▲ | ▲ | ▲ | — | — |
| Cottons | ▲ | ▲ | ▲ | — | — |
| Synthetics | ▲ | ▲ | ▲ | — | — |
| Delicates | — | — | — | ▲ | ▲ |
| Wool | — | — | — | ▲ | ▲ |
| 20min 3kg | — | ▲ | ▲ | — | — |
| Hygiene | ▲ | ▲ | — | — | ▲ |
1) At temperature higher than 60 °C the use of powder detergent is recommended.
▲ = Recommended
— = Not recommended
WI-FI – CONNECTIVITY SETUP
This chapter describes how to connect the smart appliance to the Wi-Fi network and to link it to mobile devices.
By this functionality you can receive notifications, control and monitor your appliance from your mobile devices.
The Wi-Fi functionality is off as factory default setting.
To connect the appliance to enjoy the full range of features and services you need:
- Wireless network at home with internet connection enabled.
- Mobile device connected to wireless network.
| Frequency | 2.412 – 2.472 GHz for European mar‐ ket |
| Protocol | IEEE 802.11b/g/n |
| Max Power | <20 dBm |
11.1 QR code on rating plate

QR code can be used in two ways:
- Scan the QR code with the built-in camera app to download the My AEG Care application from the App store on your smart device and follow the required steps.
- Pairing your smart device with appliance to simplify the process. Scan the QR code with QR code scanner built-in My AEG Care application.
11.2 Installing and configuring My AEG Care
My AEG Care allows you to control your laundry through a mobile device. It contains a large number of programmes, useful features and product information tailored perfectly to the appliance. Through the app you can select the programmes already available from the appliance control panel, plus unlock additional programmes available only from a mobile device. Additional programmes can change over the time along with new versions of the app. It’s personalized laundry care – all from your mobile device.
When connecting the appliance to the application, stand near it with your smart device.
Make sure that your smart device is connected to the wireless network.
- Go to the App Store on your smart device or scan QR code (see ‘QR code on rating plate’ paragraph).
- Download and install the My AEG Care App.
- Make sure you started a Wi-fi connection in the appliance. If not, read the next paragraph ‘Configuring the appliance wireless connection’.
- Start the application. Select the country and language and login with Your email and password. If you do not have an account, create a new one following the instructions in My AEG Care.
- Follow the instructions on the App for the appliance registration and configuration.
11.3 Configuring the appliance wireless connection
- Press the On/Off button for a few seconds to activate the appliance. Wait about 10 seconds before proceeding with wireless configuration.
- Select a programme by turning the programme dial.
- Press and hold the Remote Start
button for a few seconds until a ‘click’ sounds. Release the button.
appears on the display for 5 seconds and the indicator
starts blinking.
The wireless module begins starting up.
Make sure that you APP is ready for connection. - After about 10 seconds,
(Access Point) appears on the display.
The access point will be open for about 3 minutes. - Configure the My AEG Care app on your smart device and follow the instructions to connect the appliance to your Wi-Fi network.
- If the connectivity is configured, when the programme information screen returns, the indicator
is on the display.
Every time you switch the appliance on, the appliance takes about 10 seconds to connect to the network automatically. When the indicator
stops blinking the connection is ready.
To switch the wireless connection off,
press and hold the Remote Start
button for a few seconds until the first acoustic signal. Release the button.
appears on the display for 5 seconds.
If you switch the appliance off and on again, the wireless connection is automatically off.
To remove the wireless credentials, press and hold the Remote Start
button for a few seconds until the second acoustic signal:
appears on the display for a few seconds.
11.4
Remote Start
The Remote Start enables you to start a cycle in remote control.
The Remote Control activates automatically when you press the Start / Pause
button to start the programme, but it is also possible to start a washing programme remotely. This function is deactivated when door is open.
When the App is installed and the wireless connection is complete, you can activate the Remote Start:
- Touch the Remote Start
button and the indicator
blinks on the display for a few seconds.
- Touch the Start / Pause
button to activate the Remote Start before the indicator
stops blinking.
The indicators
and
appear on the programme summary screen and the door is locked. Now it is possible to start the programme remotely.
When touching the Start /Pause
button after the indicator
stops blinking, the Remote Start is not activated, but the set programme starts.
To remove the Remote Start, tap on the Remote Start
button and confirm by pressing the Start / Pause
button.
11.5 Over-the-air update
The App may propose an update for your appliance.
The update is accepted via App only.
If a programme is running, the App notifies that the update will start at the end of the programme.
During the update, the appliance shows
in the display.
Do not switch off or unplug the appliance during update.
The appliance will usable again at the end of the update, without any notification about successful update.
If an error occurs, the appliance shows
in the display: just press any buttons or turn the knob to return to normal use.
11.6 Wi-Fi Always On
The Wi-Fi Always On function is available in the App.
This function keeps the appliance connected to the network even when the appliance is turned off.
The indicator
goes on and off intermittently (1 second on , 5 seconds off).
It is possible to turn the appliance on by pressing the On/Off button or through the App.
The Wi-Fi Always On function may affect your energy consumption.
DAILY USE
WARNING!
Refer to Safety chapters.
12.1 Activating the appliance
- Connect the mains plug to the mains socket.
- Open the water tap.
- Press the On/Off button for a few seconds to activate the appliance.
A short tune sounds. The appliance automatically proposes a default programme. The relevant indicator illuminates.
The display shows the cycle duration, the maximum load (for a few seconds), the default temperature, the default spin speed and the indicators of the phases making up the programme.
12.2 Loading the laundry
- Open the appliance door.
- Shake the items before you put them in the appliance.
- Put the laundry in the drum, one item at a time.
Make sure not to put too much laundry in the drum. - Close the door firmly.

CAUTION!
Make sure that no laundry stays between the seal and the door. There is a risk of water leakage or damage to the laundry.
CAUTION!
Washing heavily oiled, greasy stains could cause damage rubber parts of the washing machine.
12.3 Filling the detergent and additives

– Compartment for detergent pods (Max 2 pods). When using detergent tab‐ lets, make sure that the Pods option is ac‐ tivated.
– Compartment for prewash phase an soak programme (powder detergent only).
– Compartment for washing phase (powder detergent only).
Make sure that the Pods option is deactivated when using this compartment.
If using liquid detergent, re‐member to insert the con‐tainer for liquid detergent ![]()
– Compartment for fabric softener and other liquid treatments (fabric condi‐ tioner, starch).
– Always follow the instructions that you find on the packaging of the detergent products, but we recommend that you do not exceed the maximum indicated level
(
). This quantity will however guaran‐tee the best washing results.
After a washing cycle, if necessary, remove any detergent residue from the detergent dispenser.
Proceed as follows
- Open the detergent dispenser.

- If a prewash phase is set, put the powder detergent in compartment
. - For main wash, chose the proper compartment depending on the type of detergent:
a) Put the powder detergent in the compartment
.
b) Pour the liquid detergent in the same compartment after inserting the relevant container
.
c) Put the tablets in the compartment
. Make sure that the Pods option is activated.
- Pour fabric softener in the compartment
. - Close the detergent dispenser.
12.4 Setting a programme
- Turn the programme dial to select the desired washing programme. The related programme indicator comes on.
The indicator of the Start / Pause
button flashes.
The display shows an indicative programme duration, the maximum declared load for the set programme (only for a few seconds), the default temperature, the default spin speed and the washing phase indicators (when available). - To change the temperature and/or the spin speed, touch the related buttons.
- If desired, set one or more options by touching the related buttons. The related indicators come on in the display and the given information changes accordingly.
In case a selection is not possible, no indicator comes on and an acoustic signal sounds.
12.5 Starting a programme
Touch the Start / Pause
button to start the programme.
The related indicator stops flashing and stays on.
In the display, the indicator of the operating phase starts flashing.
The programme starts, the door is locked. The display shows the indicator
.
The drain pump can operate shortly before the appliance fills water.
12.6 Starting a programme with the Finish In option
- Touch this repeatedly until the display shows the desired time within the programme should end. The indicator
comes on. - Touch the Start / Pause
button. The drum starts rotating to perform the ProSense estimation, if foreseen in the selected programme. - The appliance starts the countdown to the end of the programme and the programme will start at the right moment for ending at the time set through this option.
To change or cancel this option:
- Switch the appliance off by means of the On/Off button.
- Switch the appliance on again.
- Set the programme again.
12.7
The ProSense load detection
The programme duration in the display is referred to a medium/high load.
After setting a washing programme, the
icon lights up on the display if the programme supports it.
After touching the Start / Pause
button, the ProSense starts the laundry load detection:
- The appliance detects the load in the first 30 seconds: the indicator
flashes, the bars under the
icon move back and forth and the drum rotates shortly. - When the drum stops rotating, the display shows the new programme duration, that could increase or decrease, adjusted accordingly the load detected, the number of bars indicates the load in quarter (from 1 to 4, 4 bars in case of overload), the maximum declared load indicator comes on again. After further 30 seconds, the water filling starts.
In case of in case of drum overload, the maximum declared load indicator comes on again with the
indicator blinking. In this case, during these 30 seconds, it is possible to pause the appliance and remove the exceeding garments. Once removed the exceeding garments, touch the Start / Pause
button to start the programme again. The ProSense phase can be repeated up to three times (see point 1).
Important! If the laundry amount will not be reduced, the washing programme starts anyway, despite the overload. In this case, it will be not possible to guarantee the best washing results.
About 20 minutes after the programme start, the programme duration could be adjusted again depending on the capacity of water absorption of the fabrics.
The ProSense detection is carried out with complete washing programmes only (no skipping phase selected).
The ProSense is not available with some programmes, such as Wool, programmes with short cycles and without washing phase.
12.8 Programme phase indicators
When the programme starts the indicator of the running phase flashes and the other phase indicators are steady on. E.g. the washing or pre wash phase is running:
.
When the phase ends the relevant indicator stops flashing and is steady on. The next phase indicator starts flashing.
E.g. the rinse phase is running:
. If you select the Plus Steam the steam phase indicators come on.
The steam phase is running:
. The anti-crease phase is running:
.
If the ProSense phase is already carried out and the water filling is already started, the new programme starts without repeating the ProSense phase. The water and the detergent are not drained out in order to avoid waste. The display shows the maximum duration of the programme, updating it about 20 minutes after the starting of the new
programme.
12.9 Interrupting a programme and changing the options
When the programme is running, you can change only some options:
- Touch the Start / Pause
button.
The related indicator flashes. - Change the options. The given information in the display changes accordingly.
- Touch the Start / Pause
button again.
The washing programme continues.
12.10 Cancelling a running programme
- Press the On/Off button to cancel the programme and to deactivate the appliance.
- Press the On/Off button again to activate the appliance.
Now, you can set a new washing programme.
12.11 Opening the door Adding garments
While a programme or the delay start operates, the appliance door is locked.
If the temperature and level of the water in the drum are too high and/or the drum still rotates you cannot open the door.
You can easily open the door for adding or removing some items when the icon
is lighted on.
- Touch the Start / Pause
button.
In the display the related door lock indicator goes off. - Open the appliance door. If necessary, add or remove the items.
- Close the door and touch the Start / Pause
button.
The programme or the delay start continues.
When the icon
goes off, the door can be opened when the programme is complete. You may also set a spinning or draining programme/option and than press Start / Pause
button. If the spin and drain programmes are not available in the programme dial, they can be set via App.
12.12 End of the programme
When the programme has finished, the appliance stops automatically. The acoustic signals operate (if they are active).
In the display all washing phase indicators become steady and the time area shows
.
The indicator of the Start / Pause
button goes off.
The door unlocks and the indicator
goes off.
- Press the On/Off button to deactivate the appliance.
After five minutes from the end of the programme, the energy saving function automatically deactivates the appliance.
When you activate the appliance again, the display show the end of the last selected programme. Turn the programme dial to set a new cycle. - Remove the laundry from the appliance.
- Make sure that the drum is empty.
- Keep the door and the detergent dispenser slightly ajar to prevent mildew and odours.
- Close the water tap.
12.13 Draining water out after end of cycle
If you have chosen a programme or an option that does not empty out the water of the last rinse, the programme is completed, but:
- The display shows the indicator
, the option indicator
or
and the door locked indicator
. The indicator of the running phase
flashes. - The drum still turns at regular intervals to prevent the creases in the laundry.
- The door stays locked.
- You must drain the water to open the door:
- If necessary, touch the Spin button to decrease the spin speed proposed by the appliance.
- Touch the Start / Pause
button:
• If you have set
, the appliance drains the water and spins.
• If you have set
, the appliance only drains the water.
The option indicator
or
goes off, while the indicator
flashes and then goes off. - When the programme is completed and the door locked indicator
goes off, you can open the door. - Press the On/Off button a few seconds to deactivate the appliance.
In any case, the appliance empties the water out automatically after approximately 18 hours.
12.14 Stand-by option
The Stand-by function automatically deactivates the appliance to decrease the energy consumption when:
- You do not use the appliance for 5 minutes before you touch the Start / Pause
button. Press the On/Off button to activate the appliance again. - After 5 minutes from the end of the washing programme Press the On/Off button to activate the appliance again. The display shows the end of the last set programme.
Turn the programme dial to set a new cycle.
If you set a programme or an option that ends with water in the drum, the Stand-by function doesn’t deactivate the appliance to remind you to drain the water.
If the Wi-Fi Always On function is active, only the indicator
goes on and off intermittently.
HINTS AND TIPS
WARNING!
Refer to Safety chapters.
13.1 The laundry load
- Divide the laundry into: white, coloured, synthetics, delicates and wool.
- Follow the washing instructions on the laundry care labels.
- Do not wash white and coloured items together.
- Some coloured items can discolour with the first wash. We recommend that you wash them separately for the first couple of times.
- Turn multilayered fabrics, wool and items with printed illustrations inside out.
- Pre-treat stubborn stains.
- Wash stubborn stains with a special detergent.
- Be careful with curtains. Remove the hooks and put the curtains in a washing bag or pillowcase.
- A very small load can cause balance problems with the spin phase leading to excessive vibration. If this occurs: a. interrupt the programme and open the door (refer to “Daily Use” chapter); b. manually redistribute the load so that the items are spaced evenly around the tub; c. press the Start / Pause button. The spin phase continues.
- Button up pillowcases, close zippers, hooks and poppers. Tie up belts, cords, shoelaces, ribbons and any other loose elements.
- Do not wash laundry without hems or with cuts. Use a washing bag to wash small and/or delicate items (e.g. underwired bras, belts, tights, shoelaces, ribbons, etc. ).

- Empty pockets and unfold the items.

13.2 Stubborn stains
For some stains, water and detergent is not sufficient.
We recommend that you pre-treat these stains before you put the items in the appliance.
Special stain removers are available.
Use the special stain remover that is applicable to the type of stain and fabric.
Do not spray stain remover on garments near the appliance as it is corrosive to the plastic parts.

13.3 Detergent type and quantity
The choice of detergent and use of correct quantities not only affects your wash performance, but also helps to avoid waste and protect the environment:
- Use only detergents and other treatments specially made for washing machines. First, follow these generic rules:
– powder detergents (also tablets and single-dose detergents) for all types of fabric, excluding delicate. Prefer powder detergents containing bleach for whites and laundry sanitization,
– liquid detergents (also single-dose detergents) , preferably for low temperature wash programmes (60 °C max) for all types of fabric, or special ones for woollens only. - The choice and quantity of detergent will depend on: type of fabric (delicates, woollens, cottons, etc), the colour of clothes, size of the load, degree of soiling, wash temperature and hardness of the water used.
- Follow the instructions that you find on packaging of the detergents or other treatments without exceeding the indicated maximum level (
). - Do not mix different types of detergents.
- Use less detergent if:
– you are washing a small load,
– the laundry is lightly soiled,
– there is large amounts of foam during washing.
Insufficient detergent may cause: - unsatisfactory washing results,
- the wash load to turn grey,
- greasy clothes,
- mould in the appliance.
Excessive detergent may cause: - sudsing,
- reduced washing effect,
- inadequate rinsing,
- a greater impact for the environment.
13.4 Ecological hints
To save water, energy and to help protect the environment, we recommend that you follow these tips:
- Normally soiled laundry may be washed without prewash in order to save detergent, water and time (the environment is protected too!).
- Loading the appliance to the maximum capacity indicated for each programmes helps to reduce energy and water consumption.
- With adequate pre-treatment, stains and limited soiling can be removed; the laundry can then be washed at a lower temperature.
- Set the maximum possible spin speed for the selected washing programme before drying your laundry in a tumble dryer. This will save energy during drying!
13.5 Water hardness
If the water hardness in your area is high or moderate, we recommend that you use a water softener for washing machines. In areas where the water hardness is soft it is not necessary to use a water softener.
To find out the water hardness in your area, contact your local water authority.
Use the correct quantity of water softener. Follow the instructions that you find on the packaging of the product.
CARE AND CLEANING
WARNING!
Refer to Safety chapters.
14.1 Periodic cleaning schedule
Periodic cleaning helps to extend the life of your appliance.
After each cycle, keep the door and the detergent dispenser slightly ajar to get air circulation and dry the humidity inside the appliance: this will prevent mildew and odours.
If the appliance is not used for a long time: close the water tap and unplug the appliance.
Indicative periodic cleaning schedule:
| Descaling | Twice a year |
| Maintenance wash | Once a month |
| Clean door seal | Every two months |
| Clean drum | Every two months |
| Clean detergent dis‐penser | Every two months |
| Clean drain pump filter | Twice a year |
| Clean the inlet hose and the valve filter | Twice a year |
The following paragraphs explain how you should clean each part.
The following paragraphs explain how
you should clean each part.
14.2 Removing foreign objects
Make sure that pockets are empty and all loose elements are tied up before running your cycle. Refer to “The laundry load” in “Hints and tips”.
Remove any foreign objects (such as metal clip, buttons, coins, etc) that you may find in the door seal, the filters and the drum. Refer to “Door seal with double lip trap”, “Cleaning the drum”, “Cleaning the drain pump” and “Cleaning the inlet hose and the valve filter” paragraphs. If necessary, please contact the Authorised Service Centre.
14.3 External cleaning
Clean the appliance with mild soap and warm water only. Fully dry all the surfaces.
Do not use a scouring pads or any scratching material.
CAUTION!
Do not use alcohol, solvents or chemical products.
CAUTION!
Do not clean the metal surfaces with chlorine-based detergent.
14.4 Descaling
If the water hardness in your area is high or moderate, we recommend that you use a water descaling product for washing machines.
Regularly examine the drum to check for limescale.
The regular detergents already contain water softening agents, but we recommend to run a cycle with empty drum and a descaling product occasionally.
Always follow the instructions that you find on the packaging of the product.
14.5 Maintenance wash
The repeated and prolonged use of low temperature and short programmes can cause detergent deposits, fluff residues, bacterial growth and biofilm formation inside the drum and the tub. This could generate bad odours and mildew. To eliminate these deposits and hygienize the inner part of the appliance, run a maintenance wash at least once a month:
- Remove all laundry from the drum.
- Run a cotton programme with the highest temperature with a small quantity of powder detergent or, if available, run the Machine Clean programme.
14.6 Door seal
This appliance is designed with a self cleaning draining system, allowing light fluff fibers that fall off the clothes to be drained out with the water. Regularly examine the seal. Coins, buttons, other small items can be recovered at the end of the cycle.

Clean it when needed, using ammonia cream cleanser agent without scratching the seal surface.
Always obey the instructions that you find on the packaging of the product.
14.7 Cleaning the drum
Regularly examine the drum to prevent unwanted deposits.
Rust deposits in the drum may occur due to rusting foreign body in the washing or tap water containing iron
Clean the drum with special products for stainless steel.
Always follow the instructions that you find on the packaging of the product. Do not clean the drum with acidic descaling products, scouring products containing chlorine or iron or steel wool.
For a thorough clean:
- Clean the drum with special products for stainless steel.
Always follow the instructions that you find on the packaging of the product. - Remove all laundry from the drum.
- Add a manually small quantity of powder detergent or a specific product into the empty drum, in order to rinse out any left residues.
Occasionally, at the end of a cycle the display may show the icon
: this is a recommendation to perform the “drum cleaning”. Once the drum cleaning has been performed, the icon disappears.
14.8 Cleaning the detergent dispenser
To prevent possible deposits of dried detergent, clotted fabric softener, formation of mould in the detergent dispenser, once in a while carry out the following cleaning procedure:
- Open the detergent dispenser. Press the catch downwards as indicated in the picture and pull it out.

- Remove the container for liquid detergent, if inserted.

- Lift up the top cover of the compartments to remove it.

- Wash the detergent dispenser and any insert under running water.

CAUTION!
Do not use sharp or metal brushes and sponges.
Make sure that all detergent residue is removed from the upper and lower part of the recess. Use a small brush to clean the recess.
- Turn the dispenser up side down and open the bottom cover as indicated in the picture.

- Make sure that all detergent residue is removed from the conveyor. Use only soft damp clothes.
- Put bottom cover back to its position by aligning its holes on drawer hooks as indicated in the picture. Close it till “click” sound.

CAUTION!
Press the bottom cover as indicated in the picture. Make sure that it is closed properly.
- Reassembly the drawer as follows:
a. Place the bottom cover and press till “click” sound.
b. Place the top cover and press till “click” sound.
c. Insert the container for liquid detergent, if needed. - Insert the detergent dispenser into the guide rails and close it. Run the rinsing programme without any clothes in the drum.

14.9 Cleaning the drain pump
WARNING!
Disconnect the mains plug from the mains socket.
Regularly check the drain pump filter and make sure that it is clean.
Clean the drain pump if:
- The appliance does not drain the water.
- The drum does not turn.
- The appliance makes an unusual noise because of the blockage of the drain pump.
- The display shows the alarm code
.
WARNING!
- Do not remove the filter while the appliance operates.
- Do not clean the pump if the water in the appliance is hot. Wait until the water cools down
Proceed as follows to clean the pump:
- Open the pump cover.

- Place a suitable bowl below the drain pump access to collect the water that flows out.
- Open the chute downwards. Always keep a rag nearby to dry up any water spillages when removing the filter.

- Turn the filter 180 degrees in anticlockwise direction to open it, without removing. Let the water flow out.

- When the bowl is full of water, turn the filter back and empty the container.
- Repeat the steps 4 and 5 until the water stops to flow out.
- Turn the filter anti-clockwise to remove it.

- If it is necessary, remove fluff and objects from the filter recess.
- Make sure that the impeller of the pump can rotate. If it does not rotate, contact the Authorised Service Centre.

- Clean the filter under the water tap.

- Put the filter back into the special guides by turning it clockwise. Make sure that you tighten the filter correctly to prevent leakages.

- Close the pump cover.
When you drain the water with the emergency drain procedure, you must activate the drain system again:
a. Put 2 litres of water in the main wash compartment of the detergent dispenser.
b. Start the programme to drain the water.
14.10 Cleaning the inlet hose and the valve filter
It is recommended to clean both the filters of the inlet hose and valve
occasionally to remove any deposit, collected over the time:
- Remove the inlet hose from the tap and clean the filter.

- Remove the inlet hose from the appliance by loosening the ring nut.

- Clean the valve filter on the back of the appliance with a toothbrush.

- When you reconnect the hose to the back of the appliance, turn it left or right (not in vertical position) depending on the position of your water tap.

14.11 Emergency drain
If the appliance cannot drain the water, carry out the same procedure, described in ‘Cleaning the drain pump’ paragraph. If necessary, clean the pump. When you drain the water with the emergency drain procedure, you must activate the drain system again:
- Put 2 litres of water in the main wash compartment of the detergent dispenser.
- Start the programme to drain the water.
14.12 Frost precautions
If the appliance is installed in an area where the temperature can reach the values around 0° C or drop below, remove the remaining water from the inlet hose and the drain pump.
- Disconnect the mains plug from the mains socket.
- Close the water tap.
- Put the two ends of the inlet hose in a container and let the water flow out of the hose.
- Empty the drain pump. Refer to the emergency drain procedure.
- When the drain pump is empty, install the inlet hose again.
WARNING!
Make sure that the temperature is higher than 0 °C before you use the appliance again.The manufacturer is not responsible for damages caused by low temperatures.
TROUBLESHOOTING
WARNING!
Refer to Safety chapters.
15.1 Alarm Codes and Possible failures
The appliance does not start or it stops during operation. First try to find a solution to the problem (refer to the tables).
WARNING!
Deactivate the appliance before carrying out any check.
With some problems, the display shows an alarm code and the Start / Pause
button may flash continuously:
If the appliance is overloaded, remove some items from the drum and/or keep pressed the door while touching the Start / Pause button until the indicator
stops flashing (see the picture below).

| Problem | Possible solution |
erly. | • Make sure that the water tap is open. • Make sure that the pressure of the water supply is not too low. For this information, contact your local water authority. • Make sure that the water tap is not clogged. • Make sure that the inlet hose has no kinks, damages or bends. • Make sure that the connection of the water inlet hose is cor‐ rect. • Make sure that the filter of the inlet hose and the filter of the valve are not clogged. Refer to ‘Care and cleaning’. |
| • Make sure that the sink spigot is not clogged. • Make sure that the drain hose has no kinks or bends. • Make sure that the drain filter is not clogged. Clean the filter, if necessary. Refer to “Care and cleaning”. • Make sure that the connection of the drain hose is correct. • Set the drain programme if you set a programme without drain phase. If the drain programme is not available in the pro‐ gramme dial, it can be set via App. • Set the drain programme if you set an option which ends with water in the tub. | |
open or not closed correctly. | • Make sure that the door is properly closed. |
the appliance. | • The programme was not finished properly or the appliance stopped too early. Switch the appliance off and on again. • If the alarm code appears again, contact the Authorised Serv‐ice Centre. |
is on. | • Disconnect the appliance and close the water tap. Contact the Authorised Service Centre. |
If the display shows other alarm codes, deactivate and activate the appliance. If the problem continues, contact the Authorised Service Centre.
In case of different problem with the washing machine check the table below for possible solutions.
| Problem | Possible solution |
| The programme does not start. | • Make sure that the mains plug is connected to the mains socket. • Make sure that the appliance door is closed. • Make sure that there is no damaged fuse in the fuse box. • Make sure that the Start / Pause • If the delay start is set, cancel the setting or wait for the end of countdown. • Deactivate the Child Lock function if it is on. • Check the position of the knob on the selected programme. |
| The appliance fills with water and drains im‐mediately. | • Make sure that the drain hose is in the correct position. The hose may be positioned too low. Refer to “Installation instruc‐ tion”. |
| The spin phase does not operate or the washing cycle lasts longer than usual. | • Set the spin programme. If the drain programme is not availa‐ ble in the programme dial, it can be set via App’. • Make sure that the drain filter is not clogged. Clean the filter, if necessary. Refer to “Care and cleaning”. • Adjust manually the items in the tub and start the spin phase again. This problem may be caused by balance problems. |
| There is water on the floor. | • Make sure that the couplings of the water hoses are tight and there is not water leakages. • Make sure that the water inlet hose and the drain hose have no damages. • Make sure you use the correct detergent and the correct quantity of it. |
| You cannot open the appliance door. | • Make sure that a washing programme that ends with water in tub, has not been selected. • Make sure that the washing programme is finished. • Set the drain or the spin programme if there is water in the drum. If the spin and drain programmes are not available in the programme dial, they can be set via App. • Make sure that the appliance receives electrical power. • This problem may be caused by a failure of the appliance. Contact the Authorised Service Centre. If you need to open the door, please read carefully “Emergen‐ cy door opening”. • Make sure that the Remote Start Mode is not activated. Deac‐tivate it. |
| The display does not show the wireless indi‐ cator | • Check the wireless signal. • Make sure that the wireless connection is on. Refer to para‐ graph “Configuring the washing machine wireless connection” in “Wi-Fi – Connectivity setup” chapter. • Check your home network and router. • Restart the router. • Contact your wireless service provider if there are further problems with the wireless network. |
| The App cannot con‐nect to the appliance. | • Check the wireless signal. • Check if your smart device is connected to the wireless net‐ work. • Check your home network and router. • Restart the router. • Contact your wireless service provider if there are problems with the wireless network. • The appliance, the smart device, or both, need to be config‐ ured again because a new router has been installed or the router configuration has been changed. |
| The App cannot fre‐quently connect to the appliance. | • Make sure that the wireless signal reaches the appliance. Try to move the home router as near the appliance as possible or consider purchasing a wireless range extender. • Make sure the wireless signal is not disrupted by microwave. Turn the microwave off. Avoid using the microwave and the remote control at the same time. |
| The display shows | • The appliance is downloading any available updates. Wait un‐til the update process is complete. If you deactivate the appli‐ance during update, it resumes when you activate the appli‐ance again. |
| The appliance makes an unusual noise and vibrates. | • Make sure the levelling of the appliance is correct. Refer to “Installation instruction”. • Make sure that the packaging and/or the transit bolts are re‐moved. Refer to “Installation instruction”. • Add more laundry in the drum. The load may be too small. |
| The programme dura‐tion increases or de‐ creases during pro‐gramme execution. | • The ProSense System is able to adjust the programme dura‐tion according to the type and the laundry load size. Refer to “The ProSense System load detection” in “Daily Use” chapter. |
| The washing results are not satisfactory. | • Increase the detergent quantity or use a different detergent. • Use special products to remove the stubborn stains before you wash the laundry. • Make sure that you set the correct temperature. • Decrease the laundry load. |
| Too much foam in the drum during the wash‐ ing cycle. | • Reduce the quantity of detergent or the number of tablets or single-dose detergents. |
| After the washing cy‐cle, there are some detergent residues inthe dispenser drawer. | • Make sure you have used the detergent dispenser according the indications given in this user manual. • Make sure to use fresh tablets or single-dose detergents. Store them in their box and close it after use, according to the manufacturer’s recommendations. Direct exposure to environment can modify their characteristic and their behaviour in the Pods® compartment, specially in combination with certain options (e.g. Delay Start). |
After the check, activate the appliance. The programme continues from the point of interruption.
If the problem occurs again, contact the Authorised Service Centre.
The necessary data for the service centre are on the rating plate.
15.2 Emergency door opening
In case of power failure or functioning failure the appliance door remains locked. The washing programme continues when the power is restored. If the door remains locked in case of failure, it is possible to open it using the emergency unlock function.
Before opening the door:
CAUTION!
Risk of burns! Make sure that the water temperature is not too high and the laundry is not hot. If necessary, wait until they cool down.
CAUTION!
Risk of injury! Make sure that the drum is not rotating. If necessary, wait until the drum stops rotating.
Make sure that the water level inside the drum is not too high. If necessary, proceed with an emergency drain (refer to «Emergency drain» in «Care and cleaning» chapter).
To open the door, proceed as follows:
- Press the On/Off button to switch the appliance off.
- Disconnect the mains plug from the mains socket.
- Open the filter flap.
- Pull the emergency unlock trigger downward once. Pull it downward once again, keep it tensed and, in the meanwhile, open the appliance door.

- Take out the laundry and then close the appliance door.
- Close the filter flap.
CONSUMPTION VALUES
16.1 Introduction
See the web link www.theenergylabel.eu for detailed information about Energy Label.
The QR code on the energy label supplied with the appliance provides a web link to the information related to the performance of the appliance in the EU EPREL database. Keep the energy label for reference together with the user manual and all other documents provided with this appliance. It is also possible to find the same information in EPREL using the link https://eprel.ec.europa.eu and the model name and product number that you find on the rating plate of the appliance. Refer to ‘Product description’ chapter for the position of the rating plate.
16.2 Legend
| kg | Laundry load. | hh:mm | Programme duration. |
| kWh | Energy consumption. | °C | Temperature in the laundry. |
| Litres | Water consumption. | rpm | Spin speed. |
| % | Remaining moisture at the end of spinning phase. The higher is the spin speed, the higher is the noise and the lower is the remaining moisture. | ||
Values and programme duration may differ depending on different conditions (e.g. room temperature, water temperature and pressure, load size and type of laundry, supply voltage) and also if you change the default setting of a programme.
16.3 According to Commission Regulation Eu 2019/2023
| Eco 40-60 pro-gramme | kg | kWh | Litres | hh:mm | % | °C | rpm1) |
| Full load | 10.0 | 0.900 | 61.0 | 3:55 | 52.00 | 37.0 | 1551 |
| Half load | 5.0 | 0.605 | 47.0 | 2:50 | 52.00 | 33.0 | 1551 |
| Quarter load | 3. | 0.200 | 38.0 | 2:30 | 54.00 | 23.0 | 1551 |
1) Maximum spin speed.
Power consumption in different modes
| Off (W) | Stand-by (W) | Delay start (W) | Networked standby (W) |
| 0.5 | 0.5 | 4 | 2.00 1) |
Time to Off/Standby mode is 15 minutes maximum.
1) The energy consumption of the connected function is approximately 17.5 kWh per year. To disconnect this function, please refer to the chapter ‘Wi-fi – Connectivity setup’.
16.4 Common programmes
These values are indicative only.
| Programme | kg | kWh | Litres | hh:mm | % | °C | rpml) |
| Cottons 2) 95°C | 10.0 | 2.900 | 90.0 | 4:05 | 44.00 | 85.0 | 1600 |
| Cottons 60°C | 10.0 | 1.700 | 85.0 | 3:50 | 44.00 | 55.0 | 1600 |
| Cottons 3) 20°C | 10.0 | 0.350 | 85.0 | 3:00 | 44.00 | 20.0 | 1600 |
| Synthetics 40°C | 4.0 | 0.800 | 55.0 | 2:15 | 35.00 | 40.0 | 1200 |
| Delicates 4) 30°C | 2.0 | 0.400 | 60.0 | 1:05 | 35.00 | 30.0 | 1200 |
| Wool 30°C | 2. | 0.300 | 65.0 | 1:05 | 30.00 | 30.0 | 1200 |
- Reference indicator of the spin speed.
- Suitable for washing heavily soiled textiles.
- Suitable for washing lightly soiled cottons, synthetic and mixed fabrics.
- It also performs as quick washing cycle for lightly soiled laundry.
QUICK GUIDE
17.1 Daily use

- Connect the mains plug to the mains socket.
- Open the water tap.
- Push the On/Off button to turn the appliance on (1).
- Turn the programme dial to set the desired programme (2).
- Set the desired options by means of the corresponding touch buttons (3).
- Put the laundry in the drum, one item a time without exceeding the maximum suggested load. Close the door and make sure that no laundry stays between the seal and the door.
- Pour the detergent and other treatments in the proper compartment of the detergent dispenser. If you use tablets, please activate the Pods® option
- To start the programme, touch the Start / Pause
button (4). - The appliance starts.
- At the and of the programme, remove the laundry.
- Push the On/Off button to turn the appliance off.
17.2 Cleaning the drain pump filter

Clean the filter regularly and, especially, if the alarm code
appears on the display.
17.3 Programmes
| Programmes | Load | Product description |
| MixLoad 69min | 5.0 kg | Cotton and synthetic items. This programme ensures a good washing performance in a short time. |
| Eco 40-60 | 10.0 kg | Low energy cycle for cottons. Decreases tem‐perature and extends time to reach good washing results. |
| Cottons | 10.0 kg | White and coloured cotton fabrics. Ideal for normal and heavy soil. |
| Synthetics | 4.0 kg | Synthetic items or mixed fabric items. |
| Delicates | 2.0 kg | Delicate fabrics such as acrylics, viscose, pol‐yester items. |
| 1.5 kg | Machine washable wool, hand washable wool and delicates. | |
| 20min 3kg | 3.0 kg | Cotton and synthetic lightly soiled items or once worn items. |
| 1.0 kg | Cotton and synthetic items that need to dewrinkle. | |
| Machine Clean | – | Maintenance cycle for drum cleaning. |
| 10.0 kg | White cotton items. This programme removes more than 99,99% of bacteria and viruses 1) . It also ensure a proper reduction of allergens. | |
| Rinse | 10.0 kg | All fabrics, except woollens and very delicate fabrics. Programme for rinsing and spinning. |
| Spin/Drain | 10.0 kg | To spin the laundry and to drain the water in the drum. All fabrics, except woollens and del‐icate fabrics. |
1) Tested for Staphylococcus aureus, Enterococcus faecium, Candida albicans, Pseudomonas aerugino‐sa and MS2 Bacteriophage in external test performed by Swissatest Testmaterialien AG in 2021 (Test Report No. 202120117).
ENVIRONMENTAL CONCERNS
Recycle materials with the symbol
.
Put the packaging in relevant containers to recycle it. Help protect the environment and human health by recycling waste of electrical and electronic appliances. Do not dispose of appliances marked with the symbol
with the household waste. Return the product to your local recycling facility or contact your municipal office.

The software in this product contains components that are based on free and open source software. AEG gratefully acknowledges the contributions of the open software and robotics communities to the development project.
To access the source code of these free and open source software components whose license conditions require publishing, and to see their full copyright information and applicable license terms, please visit: http://aeg.opensoftwarerepository.com (folder NIUS)
157056570-A-242021










The appliance must be level and stable.




The end of the drain hose must always be ventilated , i.e. the inner diameter of the drain pipe (min. 38 mm min. 1.5″) must be larger than the external diameter of the drain hose.



The access point will be open for about 3 minutes.


b) Pour the liquid detergent in the same compartment after inserting the relevant container 

















When you drain the water with the emergency drain procedure, you must activate the drain system again:












![Lg Washing Machine [wt7100c] User Manual Lg Washing Machine [wt7100c] User Manual](https://static-data1.manualsee.com/1/img/129/14670/2020/12/LG-Washing-Machine-WT7100C.png)


