spex 1162 Medial Thigh Support

IMPORTANT CONSUMER INFORMATION NOTICE: This manual contains important instructions that must be passed on to the user of this product. Please do not remove this user manual before delivery to the end user. SUPPLIER: This manual must be given to the user of this product. USER/CAREGIVER: Before using this product, read entire manual and save for future reference.
MD: This product is a Medical Device.
Introduction
Spex recommends that a clinician such as an Occupational or Physio Therapist that is skilled in wheelchair seating and positioning be consulted to determine if the Spex Medial Thigh Support is appropriate for the user. The intended user of the Medial Thigh Support is a user with postural support requirements.
Intended Use
Spex Seating is intended for users (disabled and/or discomforted) that require specific postural and positioning support to provide comfort for body function in a sitting posture on wheelchairs for daily activities and for transportation in vehicles. It is designed with ergonomic adjustments to provide improved personal body-posture conditions and/or to help prevent/reduce physical problems associated with sedentary work or activities.
Contraindications
- Use of Spex Wheelchair seating products may affect the center of gravity causing the Wheelchair to tip, potentially causing injury. Always judge the need for anti-tippers or amputee axle adapter brackets to be added to the Wheelchair to increase stability.
- Check regularly for for skin redness and that pressure spots are not developing. If your skin develops redness, stop using the product and consult your doctor or therapist.
Safety Instructions
To avoid injury, read, understand and follow all instructions and warnings in this manual before installing and using the Spex Medial Thigh Support. There are hazards associated with the use of wheelchairs and adaptive equipment. If you misuse your wheelchair or your Medial Thigh Support you can be seriously injured. If your Medial Thigh Support ceases to function as intended, please consult your authorised Spex seating supplier immediately before continuing to use. Any serious incident that has occurred in relation to this product should be reported to Spex Ltd.
The foam meets the flammability requirements of California Technical Bulletin 117, the fabric meets the flammability requirements of AS/NZS 3744:1. In rare cases the fabrics used in this product may cause a skin irritation for people with sensitive skin. If you experience any reddening or itching of the skin consult with your health care professional.
Disclaimer: Spex takes no responsibility as to the therapeutic effectiveness of our products. Our claims relate to the ability of the products to provide safe and reliable positioning and seating on the equipment onto which they are installed.
Compatibility
- Spex Medial Thigh Support has been designed to be compatible with most wheelchairs.
- If the wheelchair has no access to the seat pan, the Medial Thigh Support will not be compatible. This occurs on some power wheelchair models.
Disposal & Recycling
Your Spex Seating System is manufactured using a variety of materials, of which most can be recycled. Once it reaches the end of its life, if you are the legal owner, do not dispose of as ordinary household waste but take your Spex system to an approved recycling or collection point, to dispose of according to local laws and regulations. Separate collection and recycling of the Spex System when disposing ensures protection of the environment and assists with natural resource conservation.
Maintenance & Cleaning
Check that the hardware is working correctly, if not you must replace immediately. Spex recommends that all fasteners be checked for wear, such as loose bolts or broken components every 6 months. Loose fasteners should be retightened according to the installation instructions. Contact your authorized Spex Seating supplier immediately to replace any broken components. Do not continue to use the system after identifying loose or broken components. The expected lifetime of the Medial Thigh Support is 5 years. Spex recommends using AHP (Accelerated Hydrogen Peroxide) disinfectant wipes. The disinfection product must be used as per the manufacturer instructions. Spex takes no responsibility for the effectiveness of the disinfecting process.
Cleaning the hardware: Hardware may be wiped clean with mild detergent and water. Dry thoroughly after wiping. Cleaning the cover: Machine wash. Do not bleach. Tumble dry (low heat). Do not iron. Do not dry clean.
If you have any additional questions regarding cleaning procedures, please contact your authorized Spex Seating dealer.
WARNING
RISK OF ACCIDENT, INJURY, PAIN OR DEATH IF WARNINGS ARE NOT HEEDED Seek assistance if you are uncertain about any of the following points
- Spex products shipped out disassembled and with brackets attached loosely. It is the installer’s responsibility to ensure all hardware is installed correctly and tightened before using the wheelchair.
- Installation and adjustment of your medial thigh support should be performed only by an authorized dealer or qualified therapist.
- Medial thigh support must not be modified or changed as this voids warranty.
- Only use genuine Spex accessories, components and hardware.
- Never lift the wheelchair by the medial thigh support.
- Never use the medial thigh support if any hardware is missing, malfunctioning, or broken. Seek qualified assistance with any repairs, replacements or adjustments
- A poorly fitted medial thigh support can aggravate posture problems and the overall safety of the user.
- The user must not put excessive force against the medial thigh support.
- When swinging away the medial thigh support, ensure the user is supported by a carer prior to avoid the user falling from the wheelchair.
- Be aware of the pinch points of the swing-away pivot points. Ensure all body parts are kept clear during these movements and adjustments.
- The locking mechanism must be correctly locking at all times. If it stops locking do not use the equipment.
- A medial thigh support is not a device used to prevent the user sliding forward in the seating.
- Never use the medial thigh support without the padding or cover.
WARNING - Care must be taken when undertaking a user transfer from the seating system. The user may fall from the wheelchair or injure themselves when supports are removed
- Never use the medial thigh support without its cover. Care should be exercised near open flame or burning cigarettes. Using the medial thigh support without its cover increases the risk of flammability and skin damage.
Environment
Moisture: Keep your Medial Thigh Support dry at all times, as contact with water or excess moisture could cause corrosion, degradation to the functionality of your Medial Thigh Support, or potential failure. If your Medial Thigh Support becomes damp or wet, thoroughly wipe with a dry cloth as soon as possible. Do not use your Medial Thigh Support in a showering or pool facility.
Temperature: Your Medial Thigh Support may not function as intended when used at extreme temperatures. Keep the Medial Thigh Support away from sources of extreme heat or extreme cold to avoid burns from the metal components.
Dirt: Small particles such as dust, dirt and sand may restrict optimum functionality. Regularly check your Medial Thigh Support to ensure no build-up occurs around openings and moving parts.
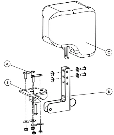
Medial Thigh Support Contents
Your Medial Thigh Support contains the following:

| DESCRIPTION | QUANTITY | |
| A | Fixing plate | 2 |
| B | Mounting block | 1 |
| C | Thigh support | 1 |
| D | Drop down bracket | 1 |
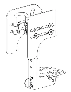
Installation Steps

A. Mounting Block
B. Threaded Fixing Studs
C. Washer
D. M6 nuts
E. Seat pan
- Install mounting block (A) to seat pan (E)

- The front edge of the mounting block should line up with the front edge of the seat pan
- The fixing studs (B) mount through the centre left and centre right, first and second row of holes, as shown.

- Offset if necessary.
- Use the supplied washer (C) and M6 nuts (D) to fasten the block securely in place.

- Use a 10mm spanner to tighten the M6 nuts. Do not overtighten. Block should be mounted securely without movement.
- Attach the medial thigh support bracket by inserting the bar into the slot underneath the bracket and swivelling upright. The medial thigh support bracket will lock into position.
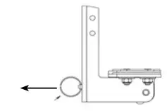
- Pull the key ring to release the medial thigh support and drop it down. The medial thigh support can be removed if required.

- (Optional) Insert the supplied 30 mm screw from underneath, as shown, to prevent the medial thigh support from being removed.

- Tighten as shown using a Hex Key.

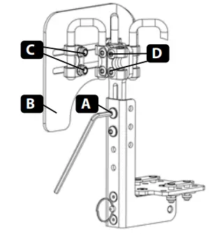
Fixed Medial Thigh Support

- Adjust the height of the Medial Knee Support by loosening the front fasteners (A) with a 4mm Hex Key. Retighten once the correct height is achieved.
- Adjust the Medial Knee Support plate (C) position as necessary.
- Tighten Hex screws (B) using a 10mm spanner once the correct position is achieved.
- Replace cover and zip up.
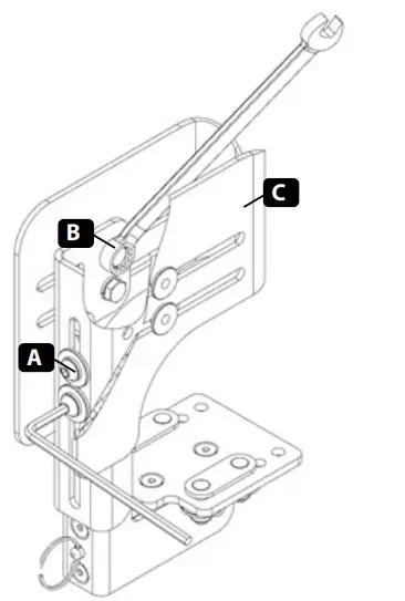
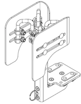
Axial Medial Thigh Support
- Adjust the height of the Medial Thigh Support by loosening the front fasteners (A) with a 4mm Hex Key. Retighten once the correct height is achieved. Remove cover and padding if needed.

- Adjust the Medial Thigh Support plate (B) width and angle and depth as necessary.

- Tighten nuts (C) using a 10mm spanner once the correct position is achieved.

- Tighten fasteners (D) using 4mm Hex Key to prevent movement.

- Replace the foam padding and cover and zip up before use.
Reissuing to another user
Once the user has finished using the Spex Medial thigh support, it must be refurbished if it is issued to another user. Below are the strict guidelines for refurbishing the Spex Medial thigh support. Spex takes no responsibility for contamination, cross infection, or damage.
Spex recommends using AHP (Accelerated Hydrogen Peroxide) disinfectant wipes. The disinfection product must be used as per the manufacturer instructions. Spex takes no responsibility for the effectiveness of the disinfecting process.
| Part | Procedure |
| Safety check | All components to be checked for signs of stress or cracking. |
| Upholstery covers | Upholstery outer covers must be replaced regardless of condition. |
| Hardware and components | Ensure the mechanism components are in place and in safe working order. If any are missing, they must be ordered. Check for signs of stress or cracking. If any stress/cracks are found the Medial thigh support is to be condemned and must be disposed of. Clean the hardware and components with a mild detergent and quality disinfectant ensuring all areas are free from grime. |
| Foam | Foam pad must be replaced regardless of condition. |
Warranty
Each Spex Medial thigh support is carefully inspected to provide peak performance and is guaranteed to be free from defects in materials and workmanship for a period of 12 months from the date of purchase, provided normal use. Should a defect in materials or workmanship occur within 12 months from the original date of purchase, Spex will, at its option, repair or replace it without charge. This warranty does not apply to general wear and use, including punctures, tears or burns, nor to the removable cover.
Claims and repairs should be processed through the nearest authorized Spex supplier. Except for express warranties made herein, all other warranties, including implied warranties of merchantability and warranties of fitness for a particular purpose are excluded. There are not warranties which extend beyond the description on the face hereof. Remedies for breach of express warranties herein are limited to repair or replacement of the goods. In no event shall damages for breach of any warranty include any consequential damages or exceed the cost of non-conforming goods sold.
The serial number of your Medial thigh support can be located by unzipping the Medial thigh support cover.
Technical Data
Maximum User Weight: 136 kg (300 lb)
Medial Thigh Support Weight: Approx. 0.8 1.1 kg (1.8 2.4 lb)
| Pad Style | Pad Size | A (mm) | B (mm) | C (mm) | D (mm) | E (mm) | F (mm) |
| Standard | 1 | 60 | 145 | 95 | 40 | 40 | 65 |
| 2 | 60 | 155 | 100 | 60 | 50 | 65 | |
| 3 | 60 | 185 | 105 | 60 | 60 | 75 | |
| Axial | 1 | 70-140 | 145 | 95 | 50-120 | 40 | 65 |
| 2 | 70-140 | 155 | 100 | 60-140 | 50 | 65 | |
| 3 | 70-160 | 185 | 105 | 60-140 | 60 | 75 |
DIMENSION

Materials:
Hardware
Aluminum
Upholstery
EVA Foam Neoprene Blend Nylon/Spandex
SPEX MEDIAL THIGH SUPPORT USER MANUAL 11 WWW.SPEXSEATING.COM![]()
32 Detroit Drive
Rolleston 7675
New Zealand
Spex Ltd
Phone +64 3 307 9790
Fax +64 3 307 2820
[email protected]
www.spexseating.com![]()
Medicept
200 Homer Ave, Ashland, MA 01721
United States
Tel: +1-508-231-8842





























