NATIONAL GEOGRAPHIC 9103000 Kinderfernglas Children Binoculars

General Warnings
- Risk of blindness — Never use this device to look directly at the sun or in the direct proximity of the sun. Doing so may result in a risk of blindness.
- Choking hazard — Children should only use the device under adult super-vision. Keep packaging material, like plastic bags and rubber bands, out of the reach of children, as these materials pose a choking hazard.
- Risk of fire — Do not place the device, particularly the lenses, in direct sun-light. The concentration of light could cause a fire.
- Do not disassemble the device. In the event of a defect, please contact your dealer. The dealer will contact the Service Centre and can send the device in to be repaired, if necessary.
- Do not expose the device to high tem-peratures.
- The device is intended only for private use. Please heed the privacy of other people. Do not use this device to look into apartments, for example.
Parts overview

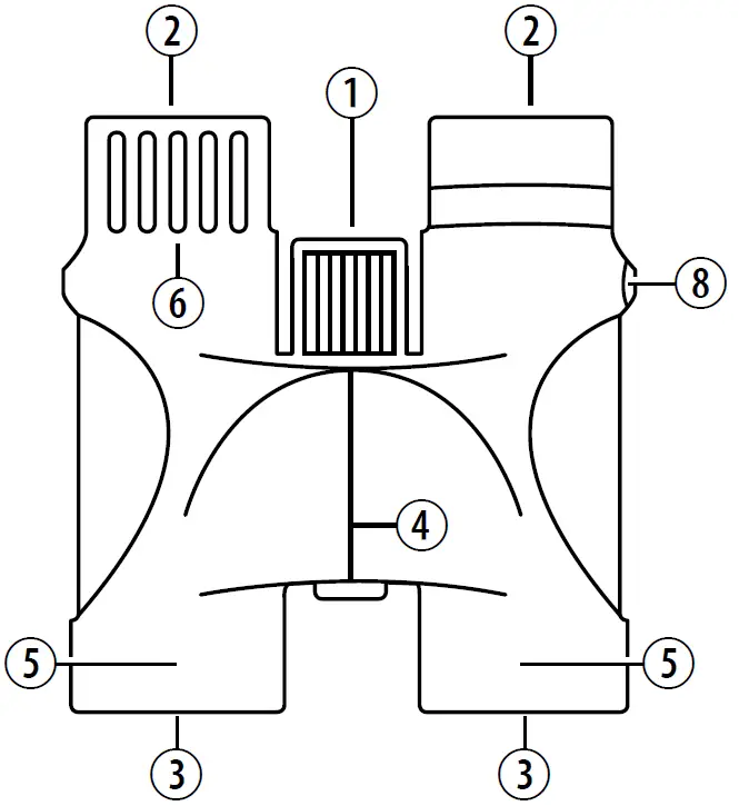
- Central focusing wheel
- Eyepiece lens
- Objective lens
- Centre axle
- Optical tube
- Dioptre adjustment
- Rubber eyecups
- Eyelet for carrying strap
Eye distance
The distance between one’s eyes varies from person to person, so it is essential that you adjust your binoculars before you use them. Take the binoculars in both hands (Fig. 1)

and hold them to your eyes. Fold them so that you see a single circle when looking through them with both eyes (Fig. 2).
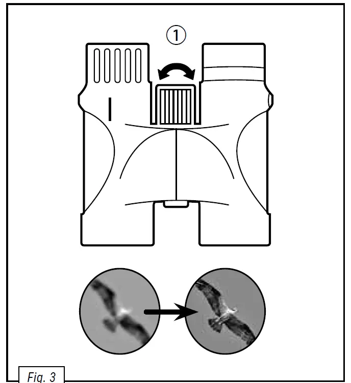
Adjusting the focus
Find an object over ten metres away. Take a look through the eyepieces with both eyes (2) and turn the focusing wheel (Fig. 3, 1) until the object is in focus.

If you wear glasses
The eyepieces on the lenses fold (7). Fold them back if you wear glasses to see in focus (Fig. 4).

Notes on cleaning
- Clean the eyepieces and lenses only with a soft, lint-free cloth like a mi-crofibre cloth. To avoid scratching the lenses, use only gentle pressure with the cleaning cloth.
- To remove more stubborn dirt, moisten the cleaning cloth with an eyeglass-cleaning solution and wipe the lenses gently.
- Protect the device from dust and moisture. After use, particularly in high humidity, let the device acclimatize for a short period of time, so that the residual moisture can dissipate before storing.
DISPOSAL
Dispose of the packaging materials properly, according to their type, such as paper or cardboard. Contact your lo-cal waste-disposal service or environ-mental authority for information on the proper disposal.
Warranty and Service
The regular guarantee period is 5 years and begins on the day of purchase. You can consult the full guarantee terms and details of our services at: www.bresser.de/warranty_terms.
EC Declaration of Conformity
Bresser GmbH has issued a “Declaration of Conformity” in accordance with applicable guidelines and corresponding standards. The full text of the EU declaration of conformity is available at the following internet address: www.bresser.de/download/9103000/CE/9103000_CE.pdf
UKCA Declaration of Conformity
Bresser GmbH has issued a „Declaration of Conformity“ in accordance with applicable guidelines and corresponding standards. The full text of the UKCA declaration of conformity is available at the following internet address: www.bresser.de/download/9103000/UKCA/9103000_UKCA.pdf



















