USCAMEL 10×50 Marine Binoculars Instruction Manual
General Overview
Product Description
These 10×50 binoculars are a floating model with illuminated compass. They have two ranging tools. The eyepieces Mils Reticle Scale and the Calculator Dial can be used to estimate your distance from an object if its size is known, or vice versa. The optics are precision crafted for brightness and clarity of image.
Model 10X50 with compass
Technical Specification
Optical performance
- Magnification: 10×
- Field of view at 10x: (132m/1000m)
- Exit pupil diameter: 6.8mm
- Exit pupil distance: 23mm (Long eye relief for eyeglass wearers)
- Diopter adjusting range: -5— +5 DIOPTER
- Interpupillary distance: 56-72mm
- Resolution: <5″
Size and mass
- Size(Length x width xheight): 200x80x50
- Weight: Binoculars: 50.9kg (1.981bs)
- Complete product: 51.2kg (2.651bs)
Construction Specifications
Optical system
Binocular construction
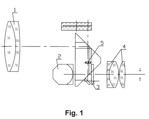
Basic binocular optical construction, as shown in figure 1, consists of (1) the objective lens, (2) the Porroprisms, (3) the reticle and (4) the eyepiece, Reticle (3) and compass projective system (5) and builtin to the right half of the binoculars body.
How Binocular work
The light from the objective or target you are looking at enters the binocular through the Objective lens system ( item 1, fig . 1). Due to the objective lens, the rays are converged to an upside-down image. Then the light rays of the image passes through the prism system (known as the Porroprism) (item 2, fig. 1) and are reversed to erect the image at the reticle (item 3, fig. 1). This image is magnified by the eyepieces (item 4, fig. 1), so that the observer can now see the distant object.
Reticle Scale (See fig. 3)

There are vertical and horizontal lines on the reticle(3). Each small division on both vertical and horizontal lines represents 5 mils and each numbered represents 10 miles(one perigon=6400 miles)
Body assembly (Fig. 2)
The binoculars consist of two identical telescopes. Each half consists of following:

- Eyepiece
- Main binocular body housing the porroprism assembly
- Objective lens
- Connective shaft
- Interpupillary scale (56mm-72mm)
- Diopter adjustment ring with index marks (each graduation= 1 diopter)
- Rubber fold-down eyecups
- Calculator dial
- Compass illuminator window
- Compass illuminator On/Off switch
- Battery compartment
- Dust cover for objective lens
- Dust cover for eyepieces
How to use the binocular
How to focus the binocular
Interpupillary adjustment
First adjust the binocular so that both eyepiece are directly in front of your eyes. This is done by holding the binoculars with both hands and bending the main binocular body housing until you can see one single circular image.
Note: the image will not be clear. You will adjust for clarify in the next step. You must first set the binoculars interpupillary distance to fit your eyes. The setting for your eyes will be indicated on the interpupillary scale (fig.2,5). Note this scale setting for quicker resetting later.
Rubber fold-down eyecup
These are long eye relief binoculars. They allow the eyeglass wearer to see normal images without removing their glasses. These convenient eyecups fold down for use with glasses and fold up for use without glasses. Lightly press eyecups to fold them down easily.
Focusing
In order to get a closer image, you must focus the binocular. This model has two individual diopter adjustment rings on each telescope so you can adjust the optics to your individual eyes. You will need to adjust each eyepiece. After placing the binocular to your eyes and viewing an object, close your left eye. Rotate the tight diopter adjustment rings until the object image appears sharp and clear in your right eye. Then open your left eye and close your right eye. Rotate the left diopter adjustment rings until the object image appears sharp and clear in you left eye.
If you share your binoculars with another person, note the diopter index mark setting at the base of the eyepieces first (6). Then you can simply return the eyepiece to those settings when you next use the binoculars to view an object at the same distance.
How to use the Mils Reticle and Calculator Dial to estimate distance
What is View Angle?
The view angle of an object is the angle from your binocular to the edge of the object. It is calculated in mils using the Mils Reticle on your binoculars. Using this measurement you can calculate the distance to an object where the height or width of that object is known. This measurement is taken either horizontally or vertically and known as Horizontal View Angle or Vertical View Angle.
a How to calculate the Horizontal View Angle of an object
Where the object fits with the horizontal scale range (-40-1 40mils) inside the binocular, line one edge of the object up with a point on the horizontal scale line and read the value from where the other edge meets the horizontal scale. In fig.4 the right edge of the sail boat is at zero and the left edge at 2 so the horizontal view is 20 mils. (1 on the scale= 10mils, 2=20mils etc).
b How to calculate View Angle when the object is large than the scale
When the object is larger than the scale, choose a midpoint, take the view angle of this point and multiply by 2.
How to calculate the Vertical View Angle of an object
Use the same method on outlined in 4.2.2 but use the vertical scale. In fig.5 the base of the light house meets the vertical scale at zero and the top of the lighthouse meets the scale at 6 so the vertical view angle is 60mils.
How to use your binocular to estimate distance
(This section shows you how to calculate the distance manually. To use the binocular dial skip to section 4.2.5)
The formula for measuring distance is L(km) = H(m)/w(mils) Where:
L= the distance between the observer and the object in km
H= the height of the object in m (this must be a known value)
W= the view angle of the object measured using the mils reticle on your binoculars (see fig4.2.2 and 4.2.3)
When measuring the distance, first estimate the height of the object, then take the view angle reading on your binoculars and enter both into the formula.
For example:
A lighthouse in 12m. (H=12m)
The view angle on the binoculars is 60mils.(see fig.6)
Using the formula L(km)=H(m)/w(mils) we can estimate the distance.
L =12/60=0.21cm(200m)
Therefore, the distance between the observer and the lighthouse is 200m.
How to use the calculator on your binocular to estimate distance
The Calculator Dial can be used to determine the distance quickly and easily without using the above calculation.
The Calculator Dial comprises a rotational active ring showing a triangular “ANGLE” marking and affixed scale marked “DISTANCE”. There are two scales in the Active Ring, the upper scale is View Angle and the lower is a Size Scale marked “OBJECT SIZE”.
First, measure the View Angle values of an object, rotate the Active Ring and place this value at the angle index mark. Then, find the division indicating the size of the object, where the size meets the distance scale indicates the distance to the object.
For example: See fig.7. You observe a lighthouse and its measured Vertical View Angle is 60mils. Rotate the Active Ring and place the division marked “6” in the View Scale Angle index Mark. Its height is 12m, the division marked “12” in the Size Scale lines up with the division marked “200” in the the Fixed Scale.
This tell its that the lighthouse’s distance is 200m from us.
Where the size of the observed object is outside the scale just divide the size of the object by a number that will bring your object size to within the scale and divide the View Angle by the same number. As the values are on a fixed scale ratio the resulting value on the dial will be correct. (There is no need to mutiply out the result).
The graduations of the compass need to be illuminated for easy viewing when there is not sufficient daylight to illuminate the compass dial. (Do not use the battery operated internal illuminating system when the outside viewing condition are bright enough to see the compass dial and marking clearly). Pressing the illuminator button will illuminate the compass scale in red.
Changing the batteries
The batteries for the compass will be exhausted if the internal lighting system has been used for a long period. Batteries can also become weak if not used for an extended period of time. If the light becomes dim, open the battery cover and replace with fresh batteries.
Batteries are included and pre-installed in your binocular. When it becomes necessary to replace them, unscrew the battery cover with a coin or screwdriver and replace with the same type. Be sure to install the batteries in the same direction as the originals. With the flat positive(+) side facing up towards the cover on both batteries. Screw the battery cover back on tightly and press the compass illuminator button to test the light. A glow should be visible around the compass( you may need to cover the right objective lens if you are outside in bright light).
Please note: The two batteries should be replaced at the same time. The batteries should be taken out if the binocular will not be used for a long time. Batteries left in the binoculars for extended period of time without being used my leak and cause damage to the binoculars.
Tripod Mounting
A threaded socket for a tripod attachment is located at the base of the binoculars hinge (fig.9). Insert a binoculars tripod adapter, and attach your tripod screw to the base of the adapter.
Binoculars and accessories
10X50 binoculars 1pc
Carrying strap 1pc
Eyepiece cap 1 pc
Lens cleaning cloth 1pc
Instructions 1 copy
Soft case with carrying strap 1pc
Objective Lens Lap 2pc
Storage and maintenance
Binoculars are a precision optical instrument. They should be carefully handled and maintained in order to keep them in good working order.
General Maintenance
Lenses: Always clean the lenses after each use and before you replace the binoculars in the carry case.
After each use, brush the dust or dirt from the lenses. After brushing, gently wipe each of the lenses with the special optical cloth. Never use your fingers to wipe your lenses as body oil will get on the lenses and possibly damage them. Never use anything to wipe your lenses except special optical cloths. Always keep your optical cloth in the binoculars case for easy access for cleaning.
Although the eyepiece are made to turn for individual eye diopter adjustment, do not turn them beyond the factory set stop. Forcing it beyond this point will damage the eyepiece optics and make the binoculars unworkable.
After using, always remember to turn the diopter adjustment to its “0” position to avoid damaging the ocular system.
Avoid any extreme shaking or dropping the binoculars. This may damage the internal optics andprisms. Store the binoculars in a dry and well-ventilated place.




















