POPP POPE701486 Z-Wave Plus Smoke Sensor with Controllable Siren

Quickstart
This is a Alarm Sensor for Europe. To run this device please connect it to your mains power supply.
- Insert the battery into the smoke detector.
- Press the button (3) for one second.
- Phe safe inclusion starts while the LED flashes.
Important safety information
Please read this manual carefully. Failure to follow the recommendations in this manual may be dangerous or may violate the law. The manufacturer, importer,
distributor and seller shall not be liable for any loss or damage resulting from failure to comply with the instructions in this manual or any other material. Use this
equipment only for its intended purpose. Follow the disposal instructions. Do not dispose of electronic equipment or batteries in a fire or near open heat sources.
What is Z-Wave?
Z-Wave is the international wireless protocol for communication in the Smart Home. This device is suited for use in the region mentioned in the Quickstart section. Z-Wave ensures a reliable communication by reconfirming every message (two-way communication) and every mains powered node can act as a repeater for other nodes (meshed network) in case the receiver is not in direct wireless range of the transmitter. This device and every other certified Z-Wave device can be used together with any other certified Z-Wave device regardless of brand and origin as long as both are suited for the same frequency range. If a device supports secure communication it will communicate with other devices secure as long as this device provides the same or a higher level of security. Otherwise it will automatically turn into a lower level of security to maintain backward compatibility. For more information about Z-Wave technology, devices, white papers etc. please refer to www.z-wave.info.
Product Description
This product combines a certified smoke detector, which can also function individually, with a plug-in Z-Wave radio module. The smoke detector is certified by the VdS according to DIN EN 14604 and thus meets all legal requirements. The high-quality smoke chamber is made of stainless steel and special antistatic plastic. A button on the instrument allows the smoke chamber, electronics and battery to be tested. In addition, automatic self-tests are integrated in the instrument to make a test with special aerosol unnecessary. The battery warning is emitted for at least 30 days and the warning indicator remains fully functional during this time. There is no battery warning to the controller. The Z-Wave radio module makes it possible to transmit the smoke alarm to a central Z-Wave controller. The warning detector can still be used as a Z-Wave siren. An acoustic tone is switched on and off by radio. The radio module either uses the warning detectors built-in 9V battery or can alternatively be powered by an external 12V power supply unit – which can be installed in a flush-mounted box. In accordance with the 3515 standard (smoke detectors with radio communication) this device will automatically forward all alarms to all other radio detectors in the Z-Wave network so that an alarm is transmitted throughout the house (must be activated via configuration parameter). This radio communication between the smoke detectors works automatically and without further configuration. The smoke detectors can communicate with each other and with the radio control centre via a specially encrypted protocol to prevent manipulation.
Prepare for Installation / Reset
Please read the user manual before installing the product. In order to include (add) a Z-Wave device to a network it must be in factory default state. Please make sure to reset the device into factory default. You can do this by performing an Exclusion operation as described below in the manual. Every Z-Wave controller is able to perform this operation however it is recommended to use the primary controller of the previous network to make sure the very device is excluded properly from this network. Reset to factory default This device also allows to be reset without any involvement of a Z-Wave controller. This procedure should only be used when the primary controller is inoperable. To reset the device to the delivery state, the key is held down for 10 seconds. The device confirms a successful reset with a signal tone. Safety Warning for Mains Powered Devices
ATTENTION: only authorized technicians under consideration of the country-specific installation guidelines/norms may do works with mains power. Prior to the assembly of the product, the voltage network has to be switched off and ensured against re-switching.
Installation
Please use the installation instructions for the smoke detector (basic unit) for information on how and where the smoke detector should be installed. These installation instructions comply with the European standard DIN EN 14676.

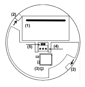
- Battery compartment
- Interlock
- Inclusion button
- Connector for supplying the printed circuit board
- Connection point for separate power supply
Remove the bottom of the housing by turning it counterclockwise. Place the base where you want to attach the smoke detector. Draw a mark in each hole for the dowel and screw. Drill a hole (5mm drill) in each mark and insert the plug. Then screw the floor tight. Insert a battery and close the flap again. The optional external power supply is connected to the connector (5). The internal battery must remain in the smoke detector even if an external power source is connected. Attach the smoke detector to the bolted base. Make sure that the hooks are correctly seated (arrows in the above picture). If the smoke detector is not correctly positioned on the ring, you will notice that it cannot be turned properly.

Please follow the recommendations given to ensure maximum safety. Avoid placing the smoke detector in corners, but find a central place.
Inclusion/Exclusion
On factory default the device does not belong to any Z-Wave network. The device needs to be added to an existing wireless network to communicate with the devices of this network. This process is called Inclusion. Devices can also be removed from a network. This process is called Exclusion. Both processes are initiated by the primary controller of the Z-Wave network. This controller is turned into exclusion respective inclusion mode. Inclusion and Exclusion is then performed doing a special manual action right on the device.
Inclusion
- insert the battery into the smoke detector
- press the button (3) for one second
- the safe inclusion starts while the LED flashes.
Exclusion
- press the button on the circuit board once
- An acoustic tone confirms a successful exclusion.
Product Usage
If the smoke detector detects smoke, the siren will sound, the red LED will flash and a signal will be sent to the Z-Wave controller and all other smoke detectors in the network. If the battery is running low, the smoke detector will beep briefly several times a day for 30 days.
Note: All communication of the wireless module is carried out at the application level, provided that the device is included in “Secure” mode and all other communication partners also support secure transmission. If it is communicating with a device that does not support secure transmission, it will be switched to an unsecure connection for communication with that device. This process takes about 20 seconds and is performed the first time communication is established. The siren can also be used for other alarms. Therefore it is displayed as a switch in the user interface of the controller. Switching on in the user interface starts the siren while switching off stops the siren. The generated alarm has the same effect as the real alarm. Automatic radio meshing of the smoke detectors Thanks to Z-Wave, the smoke detectors automatically communicate with each other in the same Z-Wave network (if the function is activated via the configuration parameters). In the event of an alarm (battery low or smoke), the corresponding detector sends encrypted messages (command alarm version 2 within a package of the command class Security) to all other detectors within radio range. These in turn send the signal to detectors that have not yet received the alarm signal. In this way, all detectors in the radio network are reached and can warn of the danger. It is possible to deactivate the alarm on all smoke detectors to which the alarm is sent, but not on the triggering smoke detector. To do this, you must find and eliminate the cause of the alarm.
Note: For networking several smoke detectors, all of them must be taught-in once to a Z-Wave controller so that they are all in one network. This type of networking is not suitable for larger numbers (>3) of smoke detectors. Please use a logical link via the central controller and switch off automatic networking with configuration parameters 5 and 6. Operation with power supply unit The additionally available power supply unit supplies the Z-Wave wireless module with power. This significantly extends the battery life in the detector. Please note that the detector itself will continue to function only with the battery. The siren function is also powered by the battery. Battery: The status of the battery is not displayed and sent to the controller for technical reasons. There is only a battery warning which is audible for at least 30 days by a short beep.
Node Information Frame
The Node Information Frame (NIF) is the business card of a Z-Wave device. It contains information about the device type and the technical capabilities. The inclusion and exclusion of the device is confirmed by sending out a Node Information Frame. Beside this it may be needed for certain network operations to send out a Node Information Frame. To issue a NIF execute the following action: Press the inclusion button (3) once.
Quick trouble shooting
Here are a few hints for network installation if things dont work as expected.
- Make sure a device is in factory reset state before including. In doubt exclude before include.
- If inclusion still fails, check if both devices use the same frequency.
- Remove all dead devices from associations. Otherwise you will see severe delays.
- Never use sleeping battery devices without a central controller.
- Dont poll FLIRS devices.
- Make sure to have enough mains powered device to benefit from the meshing
Association – one device controls an other device
Z-Wave devices control other Z-Wave devices. The relationship between one device controlling another device is called association. In order to control a different device, the controlling device needs to maintain a list of devices that will receive controlling commands. These lists are called association groups and they are always related to certain events (e.g. button pressed, sensor triggers, …). In case the event happens all devices stored in the respective association group will receive the same wireless command wireless command, typically a ‘Basic Set’ Command.
Association Groups
| Group Number | Maximum Nodes | Description |
| 1 | 4 | Z-Wave Plus Lifeline |
| 2 | 4 | Alarm Reports |
| 3 | 4 | Switching Commands (Basic on/off) on Alarm |
Z-Wave products are supposed to work out of the box after inclusion, however certain configuration can adapt the function better to user needs or unlock further enhanced features.
IMPORTANT: Controllers may only allow configuring signed values. In order to set values in the range 128 … 255 the value sent in the application shall be the desired value minus 256. For example: To set a parameter to 200 it may be needed to set a value of 200 minus 256 = minus 56. In case of a two byte value the same logic applies: Values greater than 32768 may needed to be given as negative values too.
Parameter 3: Value of On-Command
Value of the BASIC SET Command send to Association Group 3 when Alarm happens Size: 1 Byte, Default Value: 99
Setting Description
Parameter 4: Value of Off-Command
Value of the BASIC SET Command send to Association Group 3 when Alarm is reset Size: 1 Byte, Default Value: 0
Setting Description
Parameter 5: Status of automatic networking of smoke alarms
This smoke detector can automatically inform other smoke detectors of the same type about the smoke detection. These will in turn give an alarm. This function is a prerequisite for wirelessly networked smoke detectors. Size: 1 Byte, Default Value: 1
| Setting Description | |
| 0 | Disable |
| 1 | Enable |
Parameter 6: Status of automatic networking of battery alarms
This smoke detector can automatically inform other smoke detectors of the same type about low battery status. These will in turn give an alarm when their own
battery is low. This function is a prerequisite for wirelessly networked smoke detectors. Size: 1 Byte, Default Value: 1
| Setting Description | |
| 0 | Diasable |
| 1 | Enable |
Technical Data
| Dimensions | 106 x 56 mm |
| Weight | 140 gr |
| Hardware Platform | ZM5202 |
| EAN | 4251295701486 |
| IP Class | IP 20 |
| Battery Type | 1 * 9V |
| Device Type | Notification Sensor |
| Network Operation | Always On Slave |
| Z-Wave Version | 6.51.06 |
| Certification ID | ZC10-16125371 |
| Z-Wave Product Id | 0x0154.0x0100.0x0201 |
| Frequency | Europe – 868,4 Mhz |
| Maximum transmission power5 mW |
- Basic
- Notification
- Security
- Controller — is a Z-Wave device with capabilities to manage the network. Controllers are typically Gateways,Remote Controls or battery operated wall
- Slave — is a Z-Wave device without capabilities to manage the network. Slaves can be sensors, actuators and even remote controls.
- Primary Controller — is the central organizer of the network. It must be a controller. There can be only one primary controller in a Z-Wave network.
- Inclusion — is the process of adding new Z-Wave devices into a network.
- Exclusion — is the process of removing Z-Wave devices from the network.
- Association — is a control relationship between a controlling device and a controlled device.
- Wakeup Notification — is a special wireless message issued by a Z-Wave device to announces that is able to communicate.
- Node Information Frame — is a special wireless message issued by a Z-Wave device to announce its capabilities and functions.
(c) 2023 Z-Wave Europe GmbH, Antonstr. 3, 09337 Hohenstein-Ernstthal, Germany, All rights reserved, www.zwave.eu. The template is maintained by Z-Wave
Europe GmbH. The product content is maintained by Z-Wave Europe GmbH , Supportteam, [email protected]. Last update of the product data: 2020-07-13




















