LIVING CO 9401063401376 Valencia 2 Cube Oak Look
Product Information: VALENCIA 2 CUBE
The VALENCIA 2 CUBE is a piece of furniture measuring 34cm x 29cm x 63cm. It has two shelves that can each hold up to 5 kgs. The product requires assembly, and the approximate assembly time is 30 minutes. The assembly requires a Phillips-Head Screwdriver, and it is recommended for one person assembly. The product is intended for indoor, household use only, as it is a non-industrial product.
Important Safety Instructions
Serious or fatal crushing injuries can occur from furniture tip-over. Use of tip-over restraints may only reduce but not eliminate the risk of tip-over. To help prevent tip-over:
- Always place the product on a steady and stable surface.
- Do not stand on the product. Do not use the product as a stepladder.
- Please use caution and care when lifting the product to avoid personal injury and/or product damage.
- Place heaviest items in the bottom drawers.
- Unless specifically designed to accommodate, do not set TVs or other heavy objects on top of this product.
- Never allow children to climb or hang on drawers, doors or shelves.
Product Usage Instructions
Tips Before you Start
- Please check that all parts are present before you start the assembly of your furniture.
- For ease and speed of assembly, we recommend that before you commence each step of the assembly, that you identify all the parts required for that step.
- For larger items, please ensure that you have sufficient space and people (as indicated on page 1) to assemble your product safely.
- We recommend that, where possible, all items are assembled near to the area in which they will be placed in use, to avoid moving the product unnecessarily once assembled.
- For the protection of your furniture, we recommend that the product is placed on a protected surface during assembly to prevent any damage.
- During assembly please take care not to over-tighten anything, as this may damage the product. Do not use power tools.
Assembly
The product requires assembly, and it is recommended for one person assembly. The approximate assembly time is 30 minutes, and it requires a Phillips-Head Screwdriver. Please follow the assembly instructions provided in the manual carefully.
Care and Maintenance
Exposure to direct sunlight and extreme temperatures can cause wood to warp or finishes to de-laminate. Please take care to avoid such exposure to ensure the longevity of your product.
- Please periodically check all things and re-tighten as necessary.
- To clean your item, please use a damp cloth and wipe clean.
- Never allow any kind of liquid to remain on your furniture. Absorption can cause wood to warp or finishes to de-laminate.
- Please do not place hot items (eg. hot drinks) directly on to the surface.
- Please do not drag and pull your furniture.
After Sales Support
If you have any questions or concerns regarding the product, please call the After Sales Support at NZ 0800 422 274. The product is covered by a one-year warranty when accompanied by proof of purchase.
DIMENSION
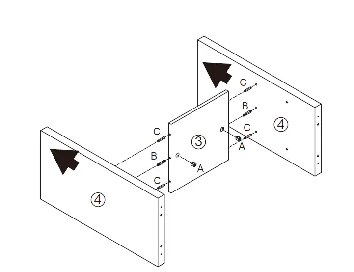
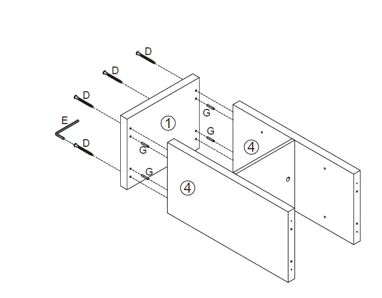
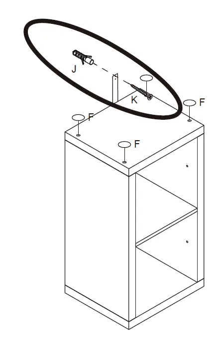
Assembly Details
Before you Start
- Please check that all parts are present before you start the assembly of your furniture.
- For ease and speed of assembly, we recommend that before you commence each step of the assembly, that you identify all the parts required for that step.
- For larger items, please ensure that you have sufficient space and people (as indicated on page 1) to assemble your product safely.
- We recommend that, where possible, all items are assembled near to the area in which.They will be placed in use, to avoid moving the product unnecessarily once assembled.
- For the protection of your furniture, we recommend that the product is placed on a protected surface during assembly to prevent any damage.
- During assembly please take care not to over-tighten anythings, as this may damage the product. Do not use power tools.
- Always place the product on a steady and stable surface.
- Do not stand on the product. Do not use the product as a stepladder.
- This product is intended for indoor, household use only as it is a non-industrial product.
- Please use caution and care when lifting the product to avoid personal injury and/or product damage.
Hardware List
Part Name
Assembly



WALL FIXING GUIDE
NOTE: Supplied wall plugs are only suitable for use in masonry walls. If you have any doubts about using the correct plug for your wall, please seek professional advice. Failure of the product due to using incorrect fixings is the responsibility of the installer.
IMPORTANT:
When drilling into walls, always check for hidden wires or pipes, etc.
Tips & Tricks
Make sure that the hardware used is suitable for supporting your unit. Please consult a qualified tradesperson if unsure.
- If you are unsure, please select a larger screw and wall plug.
- Ensure that you use the recommended drill bit to match the wall plug and hole size
- Take extra care when drilling high walls, ceiling and ceramic tiles. Ensure wall plugs are inserted beyond the thickness of the ceramic tiles to avoid splitting or cracking.
- Ensure that wall plugs are well fitted and are a tight fit in the drilled hole.
Types of Walls
Use one of the following types of wall plug (not included) if your walls are made of brick, breeze block, concrete, stone or wood. Screws may be able to be fixed directly to solid wood walls as they will provide a secure anchor point.
- General Purpose Wall Plug
Generally, aerated blocks should not be used to support heavy loads, use a specialist fitting in this case. For light loads, general purpose wall plugs can be used. - Plasterboard Wall Plug
For use when attaching light loads onto plasterboard partitions. - Cavity Fixing Wall Plug
For use with plasterboard partitions or hollow wooden doors.
- Cavity Fixing Heavy Duty Wall Plug
For use when fitting or supporting heavy loads such as shelving and wall cabinets. - Hammer Fixing Wall Plug
For use with concrete block or brick walls, or walls stuck with plasterboard. The hammer fixing allows it to be fixed to the wall rather than the plasterboard. AJways check the fixing is secure to the retaining wall. - Shield Anchor Wall Plug Heavy Loads
For use with concrete or brick walls, or for use with heavier loads such as TV & HiFi speakers and satellite dishes, etc.
Warranty
We pride ourselves on producing a range of quality products that are both packed with features and completely reliable. We are so confident in our products, we back them up with a one-year warranty. Now you too can relax knowing that you are covered.
Customer Helpline NZ: 0800 422 274
This product is covered by 1 year warranty when accompanied by proof of purchase.
Read the manual.
It will help you get the best out of your product. Still have questions?
Call After Sales Support 0800 422 274
AFTER SALES SUPPORT
NZ 0800 422 274






























