Installation instructions
Danny Table Lamp

Thank you for purchasing this Danny Table Lamp Please read the instructions carefully before use to ensure safe and satisfactory operation of this product. Please keep these instructions for future reference.
Warnings!
Please read these instructions carefully before commencing any work.
For your safety, always s ly before changing lightbulbs, cleaning or removing shades. Always take care when handling lightbulbs to avoid injury in case of breakage.
Parts list
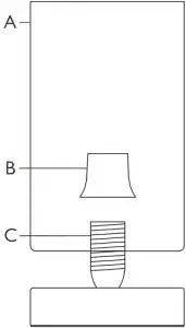
1 x Table lamp
1 x Glass shade (A)
1 x Shade ring, fitted to product (B).
Installation instructions

Step 1
Fit the shade and bulb before plugging the lamp into the mains. Refer to the assembly drawing on the right.
Step 2
Place shade (A) over lampholder (C). Secure in place with shade ring (B).
Step 3:
Fit the recommended bulb as per the details overleaf. Please note the dimmer will not function if a bulb of less than 25W is used. Energy saver bulbs are not suitable for use with touch dimmers.
Step 4
This product is fitted with a 3-stage touch dimmer. Simply touch the product to switch on .Your table lamp is now ready for use.
For use
We recommend cleaning with a soft dry cloth. Do not use abrasive materials as these will damage the finish.
Glass parts – Remove and wash in warm water or just use a damp cloth. Do not use abrasive materials as these will damage the finish.
Recommended bulb
1 x 28 Watt
SES Eco Halogen Candle
When changing a bulb, always s ow the bulb to cool before handling. Dispose of used bulbs carefully. Do not exceed the wattage stated or use a di erent shape bulb from that indicated on the fitting.
Some Energy saving bulbs are not suitable for use with a dimmer switch.
Specification
Maximum wattage: 28W
Voltage: 240V, 50Hz

We have taken great care to ensure that this product reaches you in perfect condition. However, should any parts be damaged or missing please contact our Product Helpline on (01202) 690945.
John Lewis Partnership
171 Victoria Street
London SW1E 5NN
johnlewis.com
Made in China V3


















