Atlantic WWCS2 – 74106 Water Gardens Warm White LED Lights User Manual
Introduction
Thank you for purchasing Atlantic Warm White Lighting. Atlantic’s Lighting features solid brass bodies with an oil-rubbed bronze finish or high-impact plastic housings. These lights work underwater and in open air applications to give your water feature and landscape a soothing, warming glow after the sun goes down. Multiple fixtures can be connected to a single transformer.
Prior to Operation and Installation
Caution:
- DO NOT operate this product under any conditions other than those for which it is specified. Failure to observe these precautions can lead to electrical shock, product failure or other problems.
- Follow all electrical codes when installing Atlantic Lighting.
- To reduce the risk of electrical shock, connect transformer to a 120 volt receptacle protected by a ground fault circuit interrupter (GFCI).
- Warm White lights connect via a 2-wire quick-connect plug that is gasketed for outdoor use. Quick-connect plugs are not waterproof and should not be submersed.
- Always use dielectric grease on all connections and verify that the lens ring is tightly secured before submersing the fixture.
- A small cylindrical driver is attached in-line 18 inches from the fixture. The driver converts AC current from the transformer to DC current before it is sent to the light. This round cord between the driver and the light CANNOT BE CUT. Removing the driver or cutting/ shortening the round cord between the driver and the light will damage the LED and void the warranty.
- The rest of the cord is flat low voltage wire and can be cut and spliced as needed. ONLY THE FLAT WIRE CAN BE CUT. Atlantic Warm White lights can be connected to an existing 12 volt AC lighting system by cutting and stripping the flat low voltage wire.
COMPACT SPOTLIGHTS – WWCS2 / WWCS4
Installation
Compact Spotlights offer three different mounting options for your convenience:
- Adjustable base: for placement on rock ledges, under waterfalls or for highlighting streambeds
- Ground stake: for installation around the perimeter of the water feature or in conventional landscape installations
- Nestled: without the stand or stake, amongst the stones and gravel
Proper light placement is important for every project. Whenever possible, lights should be positioned facing away from the viewing area to minimize glare and hot spots. When camouflaging the light cord with rocks and gravel, always leave enough slack in the cord so that the fixture can be raised above water level for servicing.
WWCS2:

WWCS4:

Maintenance
Brass Lens Ring Replacement diode, gasket and lens kits are available for Compact Spotlights. Unplug the fixture. Loosen the brass lens ring. Remove lens ring, lens and gasket. Carefully remove the diode assembly and replace. Install new silicone gasket and lens and reassemble. Ensure that all components are installed correctly after servicing and the lens ring is tightly secured before submersing the fixture
RING LIGHT – WWRL5
Installation
The Ring Light is ideal for illuminating bubbling pots, fountains and uplighting waterfalls. The brass body accommodates 11/2” standpipes. With the bushing installed, the hole in the center of the light accommodates 1” standpipes. Simply slide the Ring Light over the standpipe to illuminate the interior of an overflowing vase or fountain. Remove the center bushing to accommodate 11/2” standpipes. The Ring Light’s minimal 1/2” profile makes it ideal for uplighting waterfalls and large trees.


SPOUT LIGHT – WWSL2
Installation
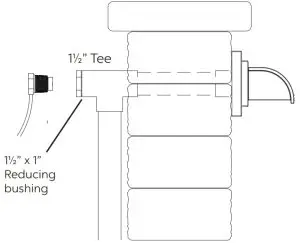
The Spout Light can be installed in the plumbing behind a wall, shining through a Wall Spout (Figure 1) or under a core-drilled stone or pot (Figure 2). The light is designed to be installed in any tee that has 1” female threads. If the tee is larger than 1”, a reducing bushing with 1” female threads will be needed. Install the light into the tee, with the light facing the water outlet. Apply Teflon tape, paste or RTV silicone to the threads of the light and thread the light into the fitting. Do not use the cord as a handle as you tighten the light or allow it to become twisted when tightening. The Spout Light cannot transmit light through sweeps or around corners. There must be a direct path for the light to be transmitted. The use of rigid PVC plumbing (1” diameter or greater) is highly recommended for the best results.
Figure 1:

Figure 2:

Maintenance
Replacement diode, gasket and lens kits are available for Spout Lights. Unplug the fixture. Loosen the brass lens ring. Remove lens ring, lens and gasket. Carefully remove the diode assembly and replace. Install new silicone gasket and lens and reassemble. Ensure that all components are installed correctly after servicing and the lens ring is tightly secured before submersing the fixture.
WWSL2

HARDSCAPE LIGHTS – WWHL6 / WWHL12
Installation
Hardscape Lights are designed to be installed into walls and columns, just under capstones. The diode assembly can be replaced without removing the cord or the capstone. The round 18” long cord between the driver and the luminaire cannot be cut, and some accommodation must be made for the driver in most applications. We recommend installing a 1” conduit into the wall to accommodate the cord before installing the fixtures. When installing the mounting bracket, make sure the stone above the bracket does not rock or pinch the cord. The holes in the bracket serve as glue points to hold the bracket in place.

WWHL6
NOTE: The Hardscape Lights are not submersible.
Maintenance
Replacement diode assemblies are available for Hardscape Lights. Remove the screws on the existing light, being careful not to let the diode assembly fall, as this could break the plug connecting the light to the cord. Lower the diode assembly and squeeze the locking clip to separate the plugs. Plug in the new diode assembly, making sure the gasket has not moved or shifted and that the notched edge of the diode assembly fits between the two ridges on the cord gasket. Align the screw holes and hand tighten the screws.
BAR LIGHT – WWBL5
Installation
The Bar Light is a linear light designed to wash walls, falls and spillways with a wide beam angle. Solid brass Bar Light includes dual bases for positioning on any horizontal surface. For other applications, included stainless steel L-brackets may be used to mount Light to any hard surface. Mount the brackets to the light and measure between the holes, center to center. Detach the brackets from the light. Mark where the light is to be mounted and attach the brackets to the mounting surface using an appropriate fastener. Mount the light to the brackets. The mounted Light rotates 30° in either direction for versatility in directing illumination.


FOUNTAIN LIGHT – WWFL2
Installation
Atlantic’s epoxy encased Fountain Light illuminates water inside vases, basalts and bubbling boulders. The PVC body with bottom mounted cord fits inside 11/2” socket fittings and 2” bore holes. Glue the 3/4” slip x 3/4” barbed fitting, included, to attach 3/4” Kink-Free tubing directly to Fountain Light. Without the fitting, the light mounts directly onto 3/4” rigid Sch40 PVC.

WIRING KIT – WW30X4
All Warm White lights and wiring components connect via a 2 wire quick-connect plug that is gasketed for outdoor use. Quick-connect plugs are not waterproof and should not be submersed. Use included dielectric grease on all connections.
The WW30X4 Wiring Kit connects up to four Warm White lights (any models) to a single 30 watt transformer. The transformer must be plugged into a properly grounded GFCI outlet.
Please follow the connection diagram below for proper installation.

TRANSFORMERS – TRANS88 / TRANS150
Installation
Strip and connect the wires to the outlet power terminals on the back of the transformer. Loosen the screws on the outlet power terminals and slide the wire under the screw plate.
Tighten the screws to secure the wire.

Mount the Transformer in the desired location. The Transformer is weather-resistant and must be mounted above the ground on a wall or post. Ensure that the power cord is within reach of a properly grounded Ground Fault Circuit Interrupter (GFCI) equipped outlet.
After all connections to low voltage lights have been completed, plug the input power cord into the 120 volt GFCI outlet to complete installation.
Operation
The TRANS88 and TRANS150 have a control panel featuring a rotary timer control switch, photocell and circuit breaker/reset button.

The circuit breaker will turn off power to the lighting system in case of overload/power surge.
If the circuit is tripped, inspect/repair the lighting system and depress the reset button to restore power. The photocell automatically turns the transformer on when it begins to get dark outside. The photocell does not need to be in direct sunlight; however it must have access to indirect sunlight to operate effectively.
The timer switch provides several modes of operation. You can choose OFF, ON, AUTO, 4H, 6H, or 8H.

- OFF: Output power is off / system is off
- ON: Output power is on / system is on at all times
- AUTO: Photo cell will turn the output power on at dusk and off at dawn
- 4H: Photo cell will turn the output power on at dusk and it will turn off after 4 hours
- 6H: Photo cell will turn the output power on at dusk and it will turn off after 6 hours
- 8H: Photo cell will turn the output power on at dusk and it will turn off after 8 hours
Warranty
All Atlantic Warm White Lighting carries a five-year limited warranty.
All Warm White Wiring Components carry a five-year limited warranty.
Atlantic TRANS88 and TRANS150 carry a one-year limited warranty.
This limited warranty is extended solely to the original purchaser commencing from the date on the original purchase receipt and is void if any of the following apply:
- The cord has been cut or altered between the driver and the light body.
- The light body/LED components have been misused or abused.
- The light body/LED components have been disassembled or modified other than as described in this manual.
This warranty excludes labor/cost of labor for removal or installation of any product.
Troubleshooting Guide
Always turn off power before inspecting the lights. Failure to observe this precaution can result in injury or damage to the lights.
Before attempting repairs, carefully read through this instruction booklet. If the problem persists, contact your dealer.
| Problem | Possible Cause | Possible Solution |
| Lights will not turn on | No input power to the transfomer | Verify power to the outlet is on / Check GFCI reset |
| No outlet power from the transformer |
| |
| Photocell malfunction |
| |
| Lights will not turn off | Timer control |
|
| Photo cell is covered |
| |
| Individual lights within a larger system not working | Defective 4-outlet splitter |
|
| Loose connection Moisture or corrosion in connections |
| |
| Failed diode assembly |
|
Support
1.330.274.8317
www.ATLANTIC-OASE.com


















