T2

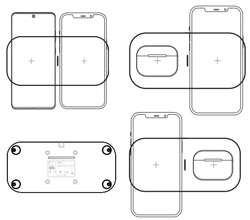
2-in-1 wireless charging pad
USER MANUAL
Model: T2
USB-C Input:9V
2A
Output Right: Phone 10W / TWS 5W
Output Left: Phone 10W / TWS 5W
After charging the device on the product for 20 seconds, the indicator light will go out. After the device is fully charged, it will still shut down.
- It is suggested to use a 9V 2A, adapter.
IMPORTANT SAFETY INSTRUCTIONS
Before Using the unit, please read the user manual carefully
- Do not store devices in a high-temperature environment, including heat caused by intense sunlight or other forms of heat. Do not place the device in fire or other excessively hot environments. Exposure to fire or temperature above 212°F (100°C) may cause an explosion.
- Do not use the wireless charger in excess of its output rating. Overloading outputs above rating may result in a risk of fire or injury to persons.
- Do not expose the wireless charger to rain or snow.
- Do not modify, repair, or disassemble the unity,
If so, please contact the manufacturer. Switch off the wireless charger when not in use. The wireless charger will automatically switch off when disconnected from its wall charger.
2-in-1 wireless charging pad
T2
Applicable Devices:
Enabled-Wireless Phone
- Samsung GalaxyS21 Ultra/S21+/S21/S20+/S20 /Note10+/Note10/S10e/S10/S10+/Note9/S9/S9+
- Samsung Galaxy Note 8/S8/S8+/S7+/S7/S7 Edge /Note5/S6 edge+/S6+/S6
- iPhone 12 Pro max/12 Pro/12/11 Pro max/ 11 Pro/11/XS max/XS/XFUX/8 Plus/8/SE
Enabled-Wireless Earbuds
- Samsung Galaxy Buds Pro/Galaxy Buds Live/ Galaxy Buds+
- Apple airpods 2,airpods pro.
Please Note :
- Please remove your phone case before charging if the thickness is> 5 mm, or if the phone case makes your phone size longer than 164 mm.
- 0nly use certified QC 3.0 Charging Wall Adapter (Not included QC 3.0 Adapter)to charge the device, do not plug into a computer USB port or any other non-certified USB port.
- Place your Qi-enabled device accurately in the wireless charging area when charging.
- a QC 3.0 adapter (Not included QC 3.0 Adapter) is required when charging 2 devices simultaneously or want to have a fast charging effect.
- Make sure to disconnect the device from power when cleaning.
- It is normal and safe to hear a humming noise when very close to the charger.lt means that this wireless charger is adjusting its temperature to achieve a more efficient charging speed.
- If your device can not be fully charged, this may be due to high environmental temperature, please recharge after the temperature is lowered. Our charger has temperature control to safeguard your device when charging.
Q&A:
If the LED light flashes and the wireless charging dock doesn’t work how can i deal with this problem?
- Make sure your device supports the Qi wireless charging function before using this wireless charger.
- Check if you use the QC3.0 adapter (Not included QC 3.0 Adapter) to charge the device.
- Test with other USB cables. 4. Check whether your devices’ case comes with metal objects. Magnetic and metal attachments will make an LED flash and prevent charging.
Thank you for choosing our product
FCC WARNING
This device complies with part 15 of the FCC Rules. Operation is subject to the following two conditions: (1) this device may not cause harmful interference, and (2) this device must accept any interference received, including interference that may cause undesired operation.
Any changes or modifications not expressly approved by the party responsible for compliance could void the user’s authority to operate the equipment.
NOTE: This equipment has been tested and found to comply with the limits for a Class B digital device, pursuant to Part 15 of the FCC Rules. These limits are designed to provide reasonable protection against harmful interference in a residential installation. This equipment generates, uses, and can radiate radio frequency energy and, if not installed and used in accordance with the instructions, may cause harmful interference to radio communications. However, there is no guarantee that interference will not occur in a particular installation. If this equipment does cause harmful interference to radio or television reception, which can be determined by turning the equipment off and on, the user is encouraged to try to correct the interference by one or more of the following measures:
- Reorient or relocate the receiving antenna.
- Increase the separation between the equipment and receiver.
- Connect the equipment into an outlet on a circuit different from that to which the receiver is connected.
- Consult the dealer or an experienced radio/TV technician for help.
RF warning for WPT device:
The equipment complies with FCC radiation exposure limits set forth for an uncontrolled environment.
During the operation of the device, a distance of 15cm surrounding the device and 20 cm above the top surface of the device must be respected.



















