PEM1313 2022-01
Revision E SDI27.1
Instruction Manual
SDI27.1 Electric Arc Device
| GTIN | ||
| SDI27.1 | 6418677419133 | SO181.6S,SO183S,SO255S,SO256S.&.SO257S |

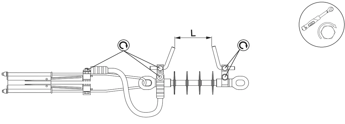
| 12 kV | 24 kV | 36 kV | |
| L mm | 90 – 100 mm | 130 – 150 mm | 220 – 250 mm |
![]() | ![]() |
![]() | |
LEGAL NOTICE
- The product must be installed only by a competent person with sufficient training in installation practices and with sufficient knowledge of good safety and installation practices in respect of electrical equipment. If local legislation contains provisions in respect of such training or sufficient knowledge in respect of the installation of electrical equipment such provisions shall be fulfilled by the said person.
- Ensto accepts no liability concerning claims resulting from misuse, incorrect installation, or ignored national safety regulations or other national provisions.
- WARNING: Failure to follow the installation instructions may result in damage to the product and serious or fatal injury.
ENSTO FINLAND OY
ENSIO MIETTISEN KATU 2, P.O.BOX 77
06101 PORVOO, FINLAND
TEL. +358 204 76 21
EMAIL: [email protected]
WWW.ENSTO.COM



















