AVANTCO 177IC18DB 1800 Watt Double Countertop Induction Range

Specifications
- Model 177IC18DB
- Wattage 1800W (1000W Left & 800W Right)
- Voltage 120V
- Hertz 60Hz
- Temperature Range 140-460°F
- Timer 0-180 Minutes
- Dimensions 25.99″ x 15.36″ x 2.95″
- Body Material Plastic
Important Safeguards
To avoid damage or danger by improper use, this instruction manual should be read and followed carefully. Save the instruction manual together with the warranty information and receipt for further reference. If you give the appliance to another person, also supply them with this instruction manual. The safeguards must be followed closely, and the appliance must be used in the way indicated in the instruction manual. In case of damage and accidents caused by not following this instruction manual, manufacturer assumes no liability.
- The surface of the cooking plate is made of tempered glass. If the glass surface is damaged, even if it shows a very small break only, the appliance is NOT to be used. In such case immediately unplug the appliance.
- Connect your appliance to a grounded power socket with appropriate voltage (120V ~50/ 60 Hz).
Do not connect other electrical appliances in the same socket and do not use multiple sockets. - Make sure that the main installation is providing enough power to run this appliance. See the rating plate of the appliance to confirm this.
- Run the cord in a way that nobody can stumble over it or pull on it. The cord should never come into contact with sharp edges or hot objects.
- Never leave the appliance unsupervised when in use. This appliance is not intended for use by persons (including children) with reduced physical, sensory or mental capabilities, or lack of experience and knowledge, unless they have been given supervision or instruction concerning
use of the appliance by a person responsible for their safety. Children should be supervised to ensure that they do not play with the appliance. - Explain to your children all risks which can be caused by electric current:
- Danger of heat or hot steam
- Danger of sharp edges
- Danger caused by electric current
- Keep the appliance out of reach of children or persons who cannot handle electric appliances properly. When plugged in, the cord should not be reached by children to avoid hazard.
- Do not leave packaging components (plastic bags, cardboard, polystyrene, etc.) within the reach of children – danger of suffocation!
CAUTION! DANGER OF ELECTRIC SHOCK! DO NOT IMMERSE CORD, PLUG, OR APPLIANCE IN WATER OR OTHER LIQUID TO AVOID ANY RISK OF ELECTRICAL SHOCK.
- Keep the appliance out of reach of children or persons who cannot handle electric appliances properly. When plugged in, the cord should not be reached by children to avoid hazard.
- Do not leave packaging components (plastic bags, cardboard, polystyrene, etc.) within the reach of children – danger of suffocation!
- Never place the appliance on wet ground
- To avoid electrical shock or short circuit, never let the cord hang into water, other liquids, or over a washing basin
- Do not use the appliance while standing on wet ground or if hands or the appliance are wet
- Do not pour or drip any liquids at the motor base or cord. When liquids are spilled on the motor base, immediately switch OFF, unplug and let the motor base dry thoroughly
- Never wash the appliance and power cord in the dishwasher
- Danger of sharp edges
- Danger caused by electric current
CAUTION! DANGER OF BURNING AND FIRE! NEVER TOUCH THE HEATED SURFACES WITH YOUR HANDS OR OTHER PARTS OF SKIN. DO NOT PLACE EMPTY POTS OR OTHER EMPTY COOKWARE ON THE APPLIANCE WHEN IT IS OPERATION
- When operating electrical heating-appliances (such as hot plates, hot pans or hot fat) please beware that high temperatures are achieved which may cause serious injuries. Please use handles or pot cloth if necessary. Inform other people using this appliance as well.
- Use the item only on heat-resistant surfaces, such as stone or ceramics and do not place the appliance near or on hot surfaces or near other strong heating devices.
- To avoid heat congestion, do not directly place the appliance next to a wall or under a wall- cupboard. Make sure product is placed at a safe distance away from items which may easily melt or flame. Do not store any objects which may easily melt or flame near the appliance.
- Do not block the air supply and ventilation of the appliance.
- Never place or use the appliance on carpets or cloth or other objects which are easily flammable.
- Do not place any kind of tissues or cloth or other objects which are easily flammable under or on the appliance to avoid the risk of fire or electrical shock. Never store flammable products near the appliance, they could catch fire.
- Do not place any empty containers, pots or any metal objects on the device while in operation. Never overheat the cookware.
- Never pull on the cord to move the appliance. Never move the appliance while in operation or with hot cookware on it. Danger of burning!
- In case of flames, never try to extinguish with water, use a damp cloth.
- Do not place any other magnetic objects near the appliance (i.e. TV, radio, credit cards, cassettes etc.). Do not place any empty cookware on the glass field. Heating an empty pot or pan activates the overheating protection and the device will turn off after a while.
- Do not operate the device if it is damaged in any way or does not function properly.
- Do not operate the appliance if any parts of it are damaged to avoid all risks. The appliance is damaged when there are any cracks, excessively broken, frayed parts or leaks. In this case, immediately stop using the appliance and return the entire appliance (including any parts and accessories).
- After each use let the device cool down sufficiently and clean it with a slightly damp cloth to prevent the surface from damage. Always handle with care. Do not use any abrasive cleaners or cleaning pads to avoid damage. Do not use any sharp or hard objects while cleaning the device. Do not leave any food residues to dry on the surfaces of the appliance.
- Make sure to store the appliance in a dry clean place, safe from frost, excessive strain (mechanical or electrical shock, heat, moisture) and out of the reach of children.
- The use of accessories and spare parts that are not recommended by the manufacturer may cause damage to the device or injuries to person.
- Unplug the appliance:
- After each use and when the appliance is not in use
- Before changing accessories or cleaning the appliance
- To unplug the appliance, never pull on the cord, take the plug directly at the outlet and unplug.
- From time to time check the cord for damages. Never use the appliance if cord or appliance shows any signs of damage as it could be dangerous.
- Do not operate appliance when:
- Power cord is damaged
- If product has fallen down and shows visible damage or malfunction
In The Box
- Induction Plate
- Instruction Manual
Before First Use
- Remove all packaging components and make sure that the appliance is in perfect condition.
- Clean the unit surface with a slightly moist cloth and dry.
Functions & Advantages of Induction Cooking

The cookware must be magnetic. Before switching on the appliance always place the magnetic cookware centered onto the cooking field.
Special notes for your safety:
- According to today’s standards of knowledge, persons with pacemakers are not at risk. In case of
misuse or unfavorable situation, we cannot eliminate remaining risks. For persons with pacemakers, we recommend consulting a doctor before using any induction cooking plates. Persons with a pacemaker should keep a minimum distance of 60 cm to the device while in operation. - To avoid any risks, do not place very big magnetic objects (i.e. griddles) onto the cooking zone of the glass field. Do not place other magnetic objects other than cookware (i.e. credit cards, TV, radio, cassettes) near or on the glass surface of the induction cooking plate when it is in operation.
- Place the appliance on a stable, flat, and dry large surface to eliminate the risk of falling down. Do not place the appliance on flammable surfaces (i.e. tablecloth). Do not place the appliance near or onto hot surfaces or other strong heating devices (i.e. cookers, open fire, heater, etc.).
- It is recommended not to put metallic utensils (i.e. knives, pot or pan covers etc.) on the cooking plate in case of switching on the appliance, they might get hot.
- Do not insert any objects (i.e. wires, or tools) into the ventilation slots. Attention! This may cause electrical shock.
- Do not touch the hot surface of the glass field. Please note: Even though the induction cooking plate does not heat up during cooking, the temperature of the heated cookware heats up the cooking plate.
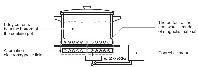
The system of induction cooking
The induction cooking plate and the cookware placed on it build up one unit by reason of electro- magnetism. The emerging energy will change into heat directly in the bottom of the cookware. This avoids heat loss which is caused by constant heating and permanent keeping warm on standard cooking plates. It is not necessary to preheat the induction cooking plate. When connected it is in “Standby Mode”, without any power consumption.
Technical operating mode
A copper induction spool under the glass plate generates an alternating electro-magnetic field. The eddy current creates magnetic fields and directly heats up the bottom of the cookware. The eddy current changes immediately into heat. The glass plate itself stays cold, but the hot bottom of the cookware releases its heat to the glass plate and heats it up. Compared to other with common cooking plates, this saves time and energy as the cookware is heated up, not the heating element and the glass plate itself. The heat input promptly adapts the changed settings and can be controlled in small steps. The induction cooking plate reacts to change settings just as a gas stove. The energy reaches the pot immediately without having to heat up other materials first. Induction technology combines fast reaction with the basic advantage of highly precise adjustment of the heat consumption.
Suitable cookware
It is important that the heat conductance of the cookware is extremely high to guarantee a constant heat distribution. The bottom of the cookware used with the induction plate must be magnetic (ferromagnetic). Recommended for use are enamelled pots made of magnetic steel, roasting tins made of cast iron or special stainless steel cookware with a special steel “sandwich” bottom. The specialized trade sells suitable cookware. Suitable is all cookware with a spiral symbol engraved into its bottom.
Tip: Test with a magnet if the cookware you plan to use is suitable for induction cooking.
Note: Do not use cookware made of glass, ceramic or aluminium. This kind of cookware is not suited for use with induction cooking plate.
Advantages of an induction cooking plate
- Energy transfer only while cookware is put on the cooking plate = maximum energy saving (up to ca. 50%)
- Heat is generated in the bottom of the cookware and immediately directed into the food. The energy is absorbed immediately into the cookware. This guarantees extremely high cooking speed.
- High effectiveness during parboiling and minimum power consumption during cooking reduces total energy consumption up to 30%.
- Precise controlling (by 2 different adjustable functions) guarantees quickly and tightly focused heat input.
- As the induction cooking plate is only heated up by the heated cookware, the risk of scorching or burning of food residues is reduced. The induction cooking plate does not stay hot as long as standard cooking plates (easy cleaning).
- When the cookware is removed the device automatically switches into the Standby Mode.
- The device detects whether suitable cookware is placed on the cooking plate. If not, no energy is transmitted.
- When operating the induction cooking plate with empty cookware, a temperature sensor turns off the heating function in case of overheating.
Operation
CAUTION! NEVER LEAVE THE APPLIANCE UNATTENDED WHEN IT IS IN OPERATION!
Please follow the sequence below when adjusting the appliance. You can adjust power level, temperature, and cooking time (minutes) by using the “+” key to increase or “-” key to decrease. The appliance provides 2 induction cooking plates. You can use separately or both at the same time.
Right induction cooking plate:
- Power levels: 300W, 500W, 600W, 700W, 800W; defaults to 800W
- Temperature levels: 140 / 160 / 180 / 200 / 220 / 240 / 260 …. 460°F; defaults to 200°F
- Time pre-setting: 0 – 180 minutes (in 5 minute steps); will default to 180 if not set
Left induction cooking plate:
- Power levels: 300W, 500W, 600W, 800W, 1000W; defaults to 1000W
- Temperature levels: 140 / 160 / 180 / 200 / 220 / 240 / 260 …. 460°F; defaults to 200°F
- Time pre-setting: 0 – 180 minutes (in 5 minute steps); will default to 180 if not set
- Before plugging in always place suitable cookware filled with food centred onto the induction cooking plate. Otherwise error function will occur (see “Safety function”).
- Insert the plug into a suitable socket, a long acoustic signal sounds. The display shows first —- .
- Pressing the ON/OFF key will switch the device into Standby Mode. The display will show 0000 and a short acoustic signal will sound (whenever you press button again or new button, a short acoustic signal sounds).
- Touching the “function” key will automatically turn the fan on. The display will show 800W (right burner) or 1000W (Left burner), this is an automatic setting. Select the desired power by using “+” to increase or “-” to decrease (adjustable right burner’s power: from 300W – 800W; adjustable left burner’s power: from 300W – 1000W).
- Touch the “function” button to program the temperature mode. Select the desired temperature by using “+” to increase or “-” to decrease (adjustable temperature: from 140 – 460°F).
- If desired, Touch the “timer” button to program the cooking time. Adjust the desired cooking time by using “+” to increase or “-” to decrease. The time is adjustable from 0 – 180 minutes (5 minute steps). This is an optional timer. If you do not set the timer, it will default to 180 minutes and then shutoff for safety reasons.
Cooking time will be indicated at the display by counting down the minutes. When cooking time is finished this will be indicated by several acoustic signals and the unit will switch off automatically. After cooking or warming process is finished, always switch the device off and unplug. All functions can be adjusted manually by pressing the corresponding buttons. Do not use the appliance if it shows any sign of damage or malfunction, please contact customer service. Do not place empty cookware on the appliance and do not leave cookware on the appliance for too long to avoid liquid from cooking off completely. Overheating the cookware will activate the boil dry protection of the device
Technical Drawing

Control Panel

Safety Functions
| Safety Code | Indicates | Procedure |
| EO | No cookware on cooker | • Unit will not switch on to heat • Unit will switch to standby mode after 1 minute • Place cookware on plate and turn on |
|
E1 | Temperature sensor overheated/ sensor out of order | • Unit will stop heating • E1 will disappear and plate will function when cooled • When sensor is out of order, E1 will appear and machine will shut down |
|
E2 |
Cookware too hot | • Boil dry protection activates • Unplug and let cool down completely • Unit will completely lock up • After 20 minutes, E2 switches off and unit goes back to standby mode |
| E3 | Power surge protection | • As soon as current is returned to normal unit will return to normal function |
| E1-3 | Safety reasons | • In all cases, unplug and let cool down |
Usable & Non-Usable Utensils
Examples of Usable Pans
Steel or cast iron, enameled iron, stainless steel, flat-bottom pans/pots with a bottom diameter from 4¾” to 10¼”. Pan/pot with 6½” bottom diameter recommended.”

Examples of Non-Usable Pans
Heat-resistant glass, ceramic, copper, aluminum pans/pots. Rounded-bottom pans/pots with bottom measuring less than 4 ¾ inches.

Cleaning, Maintenance & Storage
CAUTION! DANGER OF BURNING AND ELECTRIC SHOCK!
- ALWAYS SWITCH OFF AND UNPLUG YOUR APPLIANCE AFTER USE AND BEFORE CLEANING.
- LET THE APPLIANCE COOL DOWN BEFORE CLEANING AND STORAGE.
- NEVER IMMERSE THE APPLIANCE IN WATER OR CLEAN IT UNDER RUNNING WATER.
- Wipe the plates and stainless steel surface with a damp cloth only.
- Clean the device after each use to remove food residues.
- Make sure that no water run into the device.
- To avoid any danger or risk of electrical shock, never immerse the device or the cord into water or any other liquid. Do not put the device and the cord into the dishwasher!
- To avoid damaging the surface of the unit, never use abrasive cleaners, cleaning pads or any sharp objects (i.e. metal scouring pads). If using metal objects to clean, the sensitive surface can be damaged easily by scratches. Always handle the appliance with care and without any force.
- Use of additional cleaning liquids is recommended for induction cooking-plates to extend their lifetime.
- Do not use any petrol products to clean the device to avoid damaging the plastic parts and the control panel.
- Do not use any flammable acid or alkaline materials or substances near the device, as this may reduce the service life of the device.
- Make sure that the bottom of the cookware does not scrape across the glass field.
- When not in use store the device in a dry place. The appliance must be stored in a place which is not within reach of children.
Equipment Limited Warranty
Avantco warrants its equipment to be free from defects in material and workmanship for a period of 1 year. This is the sole and exclusive warranty made by Avantco covering your Avantco brand equipment. A claim under this warranty must be made within 1 year from the date of purchase of the equipment. Only the equipment’s original purchaser may make a claim under this warranty. Avantco reserves the right to approve or deny the repair or replacement of any part or repair request. The warranty is not transferable. Avantco Equipment installed in/on a food truck or trailer will be limited to a period of 30 days from the original date of purchase.
To Make a Warranty Claim:
For Warranty Inquiries contact the location where you purchased the product:
- WebstaurantStore.com: Contact [email protected]. Please have your order number ready.
- The Restaurant Store: If you purchased this unit from your local store, please contact your store directly.
- TheRestaurantStore.com: Online purchases, call 717-392-7261. Please have your order number ready.
- Equipment sold or used outside the Continental United States
- Use of unfiltered water (if applicable)
- Avantco has the sole discretion on wearable parts not covered under warranty
- Equipment not purchased directly from an authorized dealer
- Equipment used for residential or other non-commercial purposes
- Equipment that has been altered, modified, or repaired by anyone other than an authorized service agency
- Equipment where the serial number plate has been removed or altered.
- Damage or failure due to improper installation, improper utility connection or supply, and issues resulting from improper ventilation or airflow.
- Defects and damage due to improper maintenance, wear and tear, misuse, abuse, vandalism, or Act of God.
Any action for breach of this warranty must be commenced within 1 year of the date on which the breach occurred. No modification of this warranty, or waiver of its terms, shall be effective unless approved in a writing signed by the parties. The laws of the Commonwealth of Pennsylvania shall govern this warranty and the parties’ rights and duties under it. Avantco shall not under any circumstances be liable for incidental or consequential damages of any kind, including but not limited to loss of profits. visit our web site at www.AvantcoEquipment.com




















