ARDESTO IR-С2228-TQ Steam Iron

IMPORTANT SAFETY INSTRUCTIONS
When using your flatiron, basic safety precautions should always be followed, including the following
READ ALL INSTRUCTIONS BEFORE USING
- Use iron only for its intended use.
- To protect against a risk of electric shock, do not immerse the iron in water or other liquids.
- The iron should always be turned to «Off» before plugging or unplugging from outlet. Never yank cord to disconnect from outlet; instead, grasp plug and pull to disconnect.
- Do not allow cord to touch hot surfaces Let iron cool completely before putting away Loop cord loosely around iron when storing.
- Always disconnect iron from electrical outlet when filling with water or emptying and when not in use.
- Do not operate iron with a damaged cord or if the iron has been dropped or damaged. To avoid the risk of electric shock, do not disassemble the iron take it to a qualified serviceman for examination and repair. Incorrect reassembly can cause a risk of electric shock when the iron is used.
- Close supervision is necessary for any appliance being used by or near children. Do not leave iron unattended while connected or on an ironing board.
- Burns can occur from touching hot metal parts, hot water, or steam. Use caution when you turn a steam iron upside down – there may be hot water in the reservoir.
- If the malfunction indicator goes on, the flatiron is not operating normally. Disconnect from the power supply and have the flatiron serviced by qualified service personnel.
- This appliance can be used by children aged 8 years and over and persons with reduced physical, sensory or mental capabilities or lack of experience and knowledge if they have been given supervision or instruction concerning use of the appliance in a safe way and understand the hazards involved. Children should not play with the device. Cleaning and user maintenance should not be performed by unsupervised children.
- Use and store the device on a flat, stable surface. When you place the device on a stand, check that the surface on which it is standing is flat.
- If the power cord is damaged, it must be replaced by the manufacturer, service center or similarly qualified personnel in order to avoid a hazard.
- The iron together with the cord should be kept in a place inaccessible to children under the age of 8, if it is connected to an outlet or getting cool.
SPECIAL INSTRUCTIONS
- To avoid a circuit overload, do not operate another high wattage appliance on the same circuit.
- If an extension cord is absolutely necessary, a 10-ampere cord should be used. Cords rated for less amperage may overheat. Care should be taken to arrange the cord so that it cannot be pulled or tripped over.
MORE SPECIFICALLY:
- DO NOT let children or untrained persons use the appliance without supervision.
- NEVER immerse the iron, cable or plug in any liquid.
- DO NOT leave the hot iron touching fabrics or very inflammable surfaces.
- DO NOT leave the appliance unnecessarily plugged in. Disconnect the plug from the mains when the appliance is not being used.
- NEVER touch the appliance with wet or damp hands.
- DO NOT use the power cord or the appliance in order to pull the plug out of the socket.
- DO NOT leave the appliance exposed to the weather (rain, sun, etc. ).
- DO NOT leave the iron without supervision when it is connected to the power supply.
- DO NOT fill the reservoir with water before removing the plug from the socket.
PLEASE NOTE!
Do not use chemical additive, scented substances or decalcifiers. Failure to comply with the above-mentioned regulations leads to the loss of guarantee.
EQUIPMENT
- Iron x 1
- Beaker x 1
- Instruction manual (warranty card is included) x 1
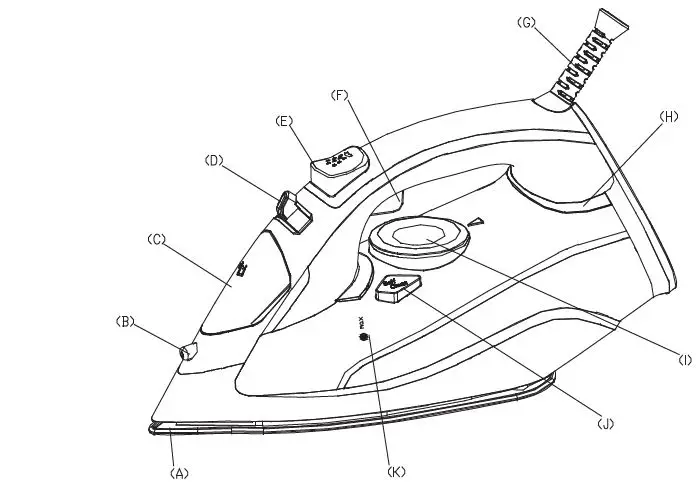
DESCRIPTION OF DEVICE

- A. Soleplate
- B. Spray organ
- C. Filler door
- D. Steam dial
- F. Shot-steam button
- H. Indication light
- J. Self-cleaning button
- E. Spray button
- G. Cord bushing
- I. Adjust the thermostat knob
- K. Maximum filling level
Pictures in this manual are just for reference. Please take the appearance of the actual product as the standard.
ANTI-CALC SYSTEM
A special resin filter inside the water reservoir softens the water and prevents scale build-up in the plate. The resin filter is permanent and does not need replacing.
PLEASE NOTE:
Use tap water only. Distilled and/demineralised water makes the “Zero-Calc” anti-calc system ineffective by altering its physicochemical characteristics. Do not use chemical additives, scented substances or decalcifiers. Failure to comply with the above-mentioned regulations leads to the loss of guarantee.
ANTI-DRIP SYSTEM
With the anti-drip system, you can perfectly iron even the most delicate fabrics. Always iron these fabrics at low temperatures. The plate may cool down to the point where no more steam comes out, but rather drops of boiling water that can leave marks or stains. In these cases, the Anti-drip system automatically activates to prevent vaporization, so that you can iron the most delicate fabrics without risk of spoiling or staining them.
AUTOMATIC SHUT OFF
The automatic shut off device trips after the iron has been left for approx. eight minutes in the upright position or unused for approx. Thirty seconds in the horizontal position. The light comes on to indicate that shut off has tripped. As soon as you move the iron, the device turns off and the iron starts working again.
GENERAL INSTRUCTIONS
When using the iron for the first time, you may notice a slight emission of smoke and hear some sounds made by the expanding plastics. This is quite normal and it stops after a short time. We also recommend passing the iron over an ordinary cloth before using it for the first time.
PREPARATIONS
Soft laundry to be ironed according to the international symbols on the garment label, or if this is missing, according to the type of fabric.

Start ironing the garments requiring a low temperature. This reduces the waiting times (the iron takes less time to heat up than to cool down) and eliminates the risk of scorching the fabric
STEAM IRONING
Filling the reservoir
- Check that the plug is disconnected from the socket.
- Move the steam selector (D) to «0» [Fig. 1].
- Open the lid (C).
- Raise the tip of the iron to help the water enter the opening without overflowing.
- Slowly pour the water into the reservoir using the special measure (18) and taking care not to go over the maximum level (about 280ml) indicated by «MAX» on the reservoir [Fig. 2].
- Close the lid (C).
SETTING THE TEMPERATURE
- Put the iron in a vertical position.
- Put the plug in the socket.
- Adjust the thermostat knob (I) according to the international symbol on the garment label [Fig. 3]. The plate indication light (L) indicates that the iron is heating up. Wait until the plate temperature control light goes off before ironing.
Warning: during ironing, the plate temperature control light (L) comes on at intervals, indicating that the selected temperature is maintained. If you lower the thermostat temperature after ironing at a high temperature, do not start ironing until the plate temperature control light comes on again.
SETTING THE STEAM
The quantity of steam is regulated by the steam selector (D). Move the steam selector to a position between minimum and maximum depending on the quantity of steam required and the temperature selected [Fig. 1].
Warning
the iron gives off steam continuously only if you hold the iron horizontally. You can stop the continuous steam by placing the iron
SETTING SHOT-STEAM AND STEAM WHEN IRONING VERTICALLY
Press the shot-steam button (F) to generate a powerful burst of steam that can penetrate the fabrics and smooth the most difficult and tough creases. Wait for a few seconds before pressing again [Fig. 4]. By pressing the shot-steam button at intervals you can also iron vertically (curtains, hung garments, etc.)
Warning: the shot-steam function can only be used at high temperatures. Stop the emission when the plate temperature control light (L) comes on, than start ironing again only after the light has gone off.
DRY IRONING
To iron without steam, follow the instructions in section “steam ironing”, leaving the steam selector (D) on position
SPRAY FUNCTION
Make sure that there is water in the reservoir. Press the spray button (E) slowly (for a dense spray) or quickly (for a vaporized spray)
warning
for delicate fabrics, we recommend moistening the fabric beforehand using the spray function (E), or putting a damp cloth between the iron and the fabric. To avoid staining, do not use the spray on silk or synthetic fabrics.
CLEANING
Please note: before cleaning the iron in any way, make sure that the appliance plug is not connected to the socket. Any deposits, starch residue or size left on the plate can be removed using a damp cloth or an unabrasive liquid detergent. Avoid scratching the plate with steel wool or metallic objects. The plastic parts can be cleaned with a damp cloth then wiped over with a dry cloth.
SELF-CLEANING
The self-cleaning feature cleans inside the plate, removing impurities. We recommend using it every 10-15 days. Directions:
- Fill the reservoir up to the maximum level indicated and set the steam
- Set the thermostat knob (I) to the maximum temperature and wait for the pilot light (L) to turn off.
- Pull the plug out of the socket and hold the iron horizontally over the sink.
- Hold the cleanout button (J) setting until all the boiling water, steam, impurities come out [Fig. 7].
- When the soleplate has cooled down, you can clean it with a damp cloth.
AFTER THE IRONING
- Disconnect the plug of the iron from the socket.
- Empty the reservoir by turning the iron upside down and gently shaking it.
- Leave the iron to cool down completely.
- Roll up the power cord with the rewinder [Fig. 8].
- Always store the iron in a vertical position
ADVICE FOR GOOD IRONING
We recommend using the lowest temperatures with fabrics that have unusual finishes (sequins, embroidery, flush, etc.). If the fabric is mixed (e.g. 40% cotton 60% synthetics), set the thermostat to the temperature of the fibre requiring the lower temperature. If you don’t know the composition of the fabric, determine the suitable temperature by testing on a hidden corner of the garment. Start with a low temperature and increase it gradually until it reaches the ideal temperature. Never iron areas with traces of perspiration or other marks: the heat of the plate fixes the stains on the fabric, making them irremovable. The size is more effective if you use a dry iron at a moderate temperature: excess heat scorches it with the risk of forming a yellow mark. To avoid marking silk, woolen or synthetic garments shiny, iron them inside out. To avoid marking velvet garments shiny, iron in one direction (following the fibre) and do not press down on the iron. The heavier the washing machine is loaded, the more garments come out creased. This also happens when the spin drying revolutions are very high. Many fabrics are easier to iron if they are not Completely dry. For example, silk should always be ironed damp.
CORRECT DISPOSAL OF THIS PRODUCT
This marking indicates that this product should not be disposed with other household wastes. To prevent possible harm to the environment or human health from uncontrolled waste disposal, recycle it responsibly to promote the sustainable reuse of material resources. To return your used device, please use the return and collection systems or contact the retailer where the product was purchased. They can take this product for environmental safe recycling.
WARRANTY CARD
Dear Buyer! Congratulations on your purchase of the ARDESTO brand appliance, which was designed and manufactured in accordance with the highest quality standards, and we thank you for choosing this particular instrument. We ask you to keep the coupon during the warranty period. When purchasing a product, require a full warranty card.
- Warranty service is carried out only if there is a correctly and clearly filled original warranty
card, which indicates: product model, date of sale, serial number, warranty service period,
and the seller’s seal. * - The service life of household appliances is 5 years.
- The product is intended for consumer use. When using the product in commercial
activities, the seller / manufacturer does not bear warranty obligations, after-sales service
is performed on a paid basis. - Warranty repair is carried out within the period specified in the warranty card for the
product in an authorized service center on the conditions and terms determined by
applicable law. - The product is withdrawn from the warranty in case of violation by the consumer of the
operating rules set forth in the instruction manual. - The product is removed from warranty service in the following cases:
- misuse and non-consumer use
- mechanical damage;
- damage caused by the ingress of foreign objects, substances, liquids, insects;
- damage caused by natural disasters (rain, wind, lightning, etc.), fire, domestic factors (excessive humidity, dust, aggressive environment, etc.)
- damage caused by non-compliance of power and cable network parameters with state standards and other similar factors;
- when operating equipment in the power supply network with a missing single ground loop;
- in case of violation of seals installed on the product; lack of serial number of the device, or inability to identify it.
- Ihe warranty does not cover consumables and accessories, as well as Tilters, shelves,
drawers, stands and other containers for storing products. - The warranty period is 12 months from the date of sale.
Tear-off maintenance tickets are provided by an authorized service center The completeness of the product is checked. I have read the terms of the warranty service, no complaints.



















