KLARSTEIN 10035209 Obsidian Cool Vibe Refrigerator Instruction Manual
Dear Customer,
Congratulations on purchasing this device. Please read the following instructions carefully and follow them to prevent possible damages. We assume no liability for damage caused by disregard of the instructions and improper use. Scan the QR code to get access to the latest user manual and more product information.
TECHNICAL DATA
| Item number | 10035209, 10035253 |
| Power supply | 220-240 V ~ 50/60 Hz |
| Volume | 46 L |
SAFETY INSTRUCTIONS
Information on the safety of children and persons at risk
- This appliance may be used by children over 8 years of age and persons with reduced physical, sensory or mental capabilities or lack of experience and knowledge, provided they are supervised during use or have received instruction in the safe use of the appliance and understand the risks involved.
- Children aged 3 to 8 years may fill refrigerators with food and remove food.
- Ensure that children do not play with the appliance.
- Cleaning and maintenance of the appliance may only be carried out by children if they are at least 8 years old and supervised.
- Keep all packaging away from children. There is a danger of suffocation.
- When you dispose of the appliance, unplug it from the wall outlet, cut the power cord and remove the door. This will prevent children playing on the appliance from injuring themselves, getting hit or getting trapped.
- If this machine replaces an older machine with a spring lock and latch on the door or lid, disable the spring lock and latch before disposing of the old machine. This will prevent children from getting trapped and suffocating.
General advice
- Keep ventilation openings in the unit housing or in the built-in cabinet free of obstacles.
- Do not use mechanical devices or other means to speed up the defrosting process.
- Do not damage the refrigerant circuit.
- Do not use other electrical appliances, such as ice machines, inside refrigeration appliances unless they are approved for this purpose by the manufacturer.
- If there is a light bulb inside the appliance, do not touch it. If it has been switched on for a long time, it can become very hot. The light bulb supplied with this unit is a special bulb that may only be used with the unit supplied. This light bulb is not suitable for household lighting. Do not use the unit without the light bulb.
- When setting up the machine, take care not to pinch or damage the power cord.
- Do not store explosive substances such as spray cans containing a flammable propellant in this appliance.
- During transport and installation of the unit, take care not to damage any components of the refrigerant circuit.
- Avoid naked flames and sources of ignition near the unit.
- Thoroughly and regularly ventilate the room in which the unit is located.
- It is dangerous to modify this product in any way. Any damage to the cable may cause a short circuit, fire or electric shock.
- All electrical components such as the plug, power cord and compressor must be replaced by a certified service centre or by qualified service personnel.
- The power cord must not be extended.
- Be careful not to pinch or damage the power plug. A pinched or damaged power plug may overheat and cause a fire.
- Make sure that you can reach the power plug of the machine at any time.
- Do not pull on the power cord.
- If the power outlet is loose, do not plug in the power plug. There is a risk of electric shock or fire.
- This machine is heavy. Be careful when moving it.
- Do not touch the freezer compartment if your hands are damp or wet, as this may cause skin abrasions or cold burns.
- Do not place the unit in direct sunlight.
- This appliance is intended for use in the home and similar environments. These include:
- Staff kitchens in shops, offices and other working environments
- Farms, hotels, motels and other residential facilities
- Pensions that offer breakfast (Bed & Breakfasts)
- Catering and similar applications outside the retail trade
This appliance contains the coolant isobutane (R600a),a natural gas which is environmentally friendly. Although it is flammable, it does not damage the ozone layer and does not increase the greenhouse effect. The use of this coolant has,however,led to a slight increase in the noise level of the appliance. In addition to the noise of the compressor,you might be able to hear the coolant flowing around the system. This is unavoidable,and does not have any adverse effect on the performance of the appliance. Care must be taken during the transportation and setting up of the appliance that no parts of the cooling system are damaged. Leaking coolant can damage the eyes.
Notes on daily use
- Do not put hot food in the machine.
- Do not place food directly against the rear panel.
- Frozen food must not be refrozen after defrosting.
- Store packaged frozen food according to the instructions of the frozen food manufacturer.
- Do not place carbonated fizzy drinks in the freezer compartment as the pressure they generate can cause them to explode and damage the appliance.
- Open the door as rarely as possible.
- Do not leave the door open too long.
- Do not set the thermostat too low.
- To reduce energy consumption, leave all accessories, such as drawers, shelves or racks in the appliance.
Notes on installation
- Unpack the machine and check for damage. Do not connect the machine if it is damaged. Report any damage immediately to the manufacturer. Save the original packaging for possible return shipment.
- Wait at least four hours before connecting the unit to allow the coolant to distribute itself in the cooling circuit.
- Ensure that there is sufficient air circulation around the unit. Otherwise, the unit may overheat.
- If possible, the spacers on the unit should rest against the wall. This prevents burns caused by touching the hot compressor or condenser.
- The unit must not be installed near radiators or cookers.
- ake sure that the mains plug is always accessible after the unit has been installed.
- Install this unit in a location where the ambient temperature corresponds to the climate class indicated on the unit‘s nameplate:
| SN | Low | This cooling unit is designed for use at ambient temperatures of 10-32 °C. |
| N | Moderate | This cooling unit is intended for use at ambient temperatures of 16-32 °C. |
| ST | Subtropical | This cooling unit is intended for use at ambient temperatures of 16-38 °C. |
| T | Tropical | This cooling unit is intended for use at ambient temperatures of 16-43 °C. |
Notes on cleaning and maintenance
- Before cleaning and maintenance, switch the machine off and unplug the power cord from the wall outlet.
- Do not clean the machine with metal objects. Do not use sharp objects to remove frost from the machine. Use a plastic scraper.
- All electrical work required to service the unit should be performed by a qualifi ed electrician or competent person.
Special instructions for freezers and chest freezers
- Children between the ages of 3 and 8 are allowed to fi ll refrigerators with food and remove food.
- When positioning the machine, make sure that the mains cable is not pinched or damaged.
- Ensure that there are no multiple sockets or power supply units on the rear of the machine.
To avoid contamination of food, please follow the instructions below:
- Prolonged opening of the door can cause a significant temperature rise in the compartments of the unit.
- Clean surfaces that may come into contact with food regularly. Clean the water drain regularly.
- Store raw meat and fish in suitable containers in the refrigerator so that meat and fish do not come into contact with or drip onto other foods.
Notes on the freezer compartments
- Two-star freezer compartments are suitable for storing pre-frozen food, storing or making ice cream and making ice cubes.
- One-, two- and three-star freezer compartments are not suitable for freezing fresh food.
- If the refrigerator is left empty for a long period of time, switch it off, let it defrost, clean it, dry it and leave the door open to prevent mould from forming in the appliance.
WARNING
When using, servicing and disposing of the unit, pay attention to the left symbol on the rear of the unit or on the compressor. This symbol warns of possible fires. There are flammable substances in the refrigerant lines and in the compressor. Keep the appliance away from sources of fire during use, maintenance and disposal.
PRODUCT OVERVIEW

- Thermostat
- Freezer compartment
- Wire shelf
- Door hinge
- Bottle compartment
- Adjustable feet
OPERATION
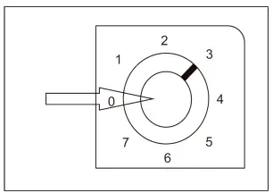
Temperature adjustment
- The temperature is set by the thermostat in the top right-hand corner.
- Setting 0 means that the freezer is off.
- The higher the number set, the lower the temperature. For normal use, we recommend that you set the thermostat to level 3-4.

Defrost the freezer
- There is a drip tray at the bottom of the freezer compartment. Ice deposits on the evaporator are automatically defrosted. The defrost water collects in the drip tray.
The drip tray can be removed to pour out the water. - Remove all food in the freezer compartment before defrosting. Store the food and in a cool place. Then remove all accessories.
- To defrost, set the thermostat to position 0 or press the white button (see picture) or turn off the power. Then open the freezer door and use a cloth to remove water and moisture.

CLEANING AND CARE
Defrosting the freezer
Over time, the freezer becomes increasingly covered with ice. The ice should be removed regularly. Never use sharp metal tools to scrape off ice, as this could damage the unit. If the ice layer becomes very thick, proceed as follows:
- Disconnect the plug from the socket.
- Remove all food, wrap it in several layers of newsprint and store it in a cool place.
- Leave the door open and place a drip pan under the unit to collect the condensation.
- Dry the interior thoroughly after defrosting.
In case of a power failure
In the event of a power outage, the chilled food will last for several hours. In this case, open the freezer as rarely as possible and do not add any other food.
If you do not use the freezer for a longer period of time
Unplug the power cord and clean the unit. Leave the door open to avoid unpleasant odours.
If you need to move the freezer
Before moving the unit, remove all food in it. Secure all moving internal parts with adhesive tape and screw the levelling feet completely into the device. Close the door and tape it in place.
Note: The unit must not be transported upside down or horizontally. Avoid shocks and do not tilt the unit more than 45°.
TROUBLESHOOTING
| Problem | Possible cause and suggested solution |
| Failed operation. | Check whether the appliance is connected to power or whether the plug is in well contact. |
| Check whether the voltage is too low. | |
| Check whether there is a power failure or partial circuits have tripped. | |
| Odor. | Odorous foods shall be tightly wrapped. |
| Check whether there is any rotten food. | |
| Clean the inside of the freezer. | |
| Long-time operation of the compressor. | Long operation of the freezer is normal in summer when the ambient temperature is high. |
| It is not suggestible having too much food in the appliance at the same time. | |
| Food shall get cool before being put into the appliance. | |
| The doors are opened too frequently. | |
| Doors cannot be properly closed. | The door is stuck by food packages Too much food is placed. |
| The freezer is tilted. | |
| Loud noise. | Check whether the fioor is level and whether the freezer is placed stably. |
| Check whether accessories are placed at proper locations. | |
| Surface condensation. | Condensation on the exterior surface and door seals of the freezer is normal when the ambient humidity is too high. Just wipe the condensate with a clean towel. |
| Abnormal noise. | Buzz: The compressor may produce buzzes during operation, and the buzzes are loud particularly upon start or stop. This is normal. |
| Creak: Refrigerant fiowing inside of the appliance may produce creak, which is normal. |
PRODUCT DATA SHEET
Information according to Regulation (EU) No. 2019/2016
| Supplier’s name or trademark: Klarstein | ||||
| Supplier’s address: Wallstraße 16, 10179 Berlin, DE | ||||
| Model identifier: 10035209, 10035253 | ||||
| Type of refrigerating appliance: | ||||
| Low-noise appliance: | No | Design type: | freestanding | |
| Wine storage appliance: | No | Other refrigerating appliance: | Yes | |
| General product parameters: | ||||
| Parameter | Value | Parameter | Value | |
| Overall dimensions (mm) | Height | 501 | Total volume (dm³ or L) | 46 |
| Width | 445 | |||
| Depth | 470 | |||
| EEI | 125 | Energy efficiency class | F | |
| Airborne acoustical noise emissions (dB(A) re 1 pW) | 41 | Airborne acoustical noise emission class | C | |
| Annual energy consumption (kWh/a) | 100 | Climate class: | temperate zone, subtropical zone | |
| Minimum ambient temperature (°C), for which the refrigerating appliance is suitable | 16 | Maximum ambient temperature (ºC), for which the refrigerating appliance is suitable | 38 | |
| Winter setting | No | |||
| Compartment Parameters: | |||||
| Compartment type | Compartment parameters and values | ||||
| Compartment volume (dm³ or L) | Recommended temperature setting for optimised food storage (ºC) These settings shall not contradict the storage conditions set out in Annex IV, Table 3 | Freezing capacity (kg/24h) | Defrosting type (auto-defrost = A, manual defrost = M) | ||
| Pantry | No | – | – | – | – |
| Wine storage | No | – | – | – | – |
| Cellar | No | – | – | – | – |
| Fresh food | Yes | 46.0 | 4 | – | M |
| Chill | No | – | – | – | – |
| 0-star or icemaking | No | – | – | – | – |
| 1-star | No | – | – | – | – |
| 2-star | No | – | – | – | – |
| 3-star | No | – | – | – | – |
| 4-star | No | – | – | – | – |
| 2-star section | No | – | – | – | – |
| Variable temperature compartment | – | – | – | – | – |
| For 4-star compartments | |||||
| Fast freeze facility | No | ||||
| Light source parameters: | |||||
| Type of light source | – | ||||
| Energy efficiency class | – | ||||
| Minimum duration of the guarantee offered by the manufacturer: 24 months | |||||
| Additional information: | |||||
| Weblink to the manufacturer‘s website, where the information in point4(a) Annex of Commission Regulation (EU) 2019/2019 is found: www.klarstein.co.uk | |||||
DISPOSAL CONSIDERATIONS

If there is a legal regulation for the disposal of electrical and electronic devices in your country, this symbol on the product or on the packaging indicates that this product must not be disposed of with household waste. Instead, it must be taken to a collection point for the recycling of electrical and electronic equipment. By disposing of it in accordance with the rules, you are protecting the environment and the health of your fellow human beings from negative consequences. For information about the recycling and disposal of this product, please contact your local authority or your household waste disposal service.
MANUFACTURER & IMPORTER (UK)
Manufacturer:
Chal-Tec GmbH, Wallstrasse 16, 10179 Berlin, Germany.
Importer for Great Britain:
Berlin Brands Group UK Ltd
PO Box 1145
Oxford, OX1 9UW
United Kingdom
References
Klarstein | Discover the Online Shop for Home & Living
Klarstein | Der Online Shop für Haushaltsgeräte und Home & Living
Tienda de Electrodomésticos Online | Artículos para el Hogar | Klarstein
Klarstein | Boutique en ligne d'électroménager à prix imbattable
Klarstein Elettromestici - Miglior Qualità Prezzo garantita
Take-e-way GmbH | take-e-back | Elektroschrott Rücknahmesystem Onlinehandel



















