Mesko MS 4485 3 Eggs Egg Boiler with Measuring Cup 350 W
OVERVIEW

SAFETY CONDITIONS. IMPORTANT INSTRUCTIONS ON SAFETY OF USE
PLEASE READ IT CAREFULLY AND KEEP IT FOR FUTURE REFERENCE
The warranty conditions are different if the device is used for commercial purposes.
- Before using the product please read carefully and always comply with the following instructions. The manufacturer is not responsible for any damages due to any misuse.
- The product is only to be used indoors. Do not use the product for any purpose that is not compatible with its application.
- The applicable voltage is 220-240V, ~50/60Hz. For safety reasons, it is not appropriate to connect multiple devices to one power outlet.
- Please be cautious when using children. Do not let the children play with the product. Do not let children or people who do not know the device to use it without supervision.
- WARNING: This device may be used by children over 8 years of age and persons with reduced physical, sensory or mental capabilities, or persons without experience or knowledge of the device, only under the supervision of a person responsible for their safety, or if they were instructed on the safe use of the device and are aware of the dangers associated with its operation. Children should not play with the device. Cleaning and maintenance of the device should not be carried out by children unless they are over 8 years of age and these activities are carried out under supervision.
- After you are finished using the product always remember to gently remove the plug from the power outlet holding the outlet with your hand. Never pull the power cable!!!
- Never leave the product connected to the power source without supervision. Even when use is interrupted for a short time, turn it off from the network, unplug the power.
- Never put the power cable, the plug or the whole device into the water . Never expose the product to the atmospheric conditions such as direct sun light or rain, etc.. Never use the product in humid conditions.
- Periodically check the power cable condition. If the power cable is damaged the product should be turned to a professional service location to b e replaced in order to avoid hazardous situations.
- Never use the product with a damaged power cable or if it was dropped or damaged in any other way or if it does not work properly. Do not try to repair the defected product yourself because it can lead to electric shock. Always turn the damaged device to a professional service location in order to repair it. All the repairs can be done only by authorized service professionals. The repair that was done incorrectly can cause hazardous situations for the user.
- Never put the product on or close to the hot or warm surfaces or the kitchen appliances like the electric oven or gas burner.
- Never use the product close to combustibles.
- Do not let cord hang over edge of counter.
- Do not immerse the motor unit in water.
- Do not carry or move the device when it is filled with hot water or steam. After completion of the work device can be moved only when it is cold.
- NOTE: The hot steam is extracted from the hole in the lid. Keep hands and face at a safe distance. Open the lid with caution. Never cover the steam outlet.
- Do not use egg boiler if it is not filled with water.
- The product is intended solely for cooking eggs.
- Do not pour a heating plate with less or more water than is indicated from the scale located inside the measuring cup.
- Before reusing the device must be allowed to cool itself for 30 minutes.
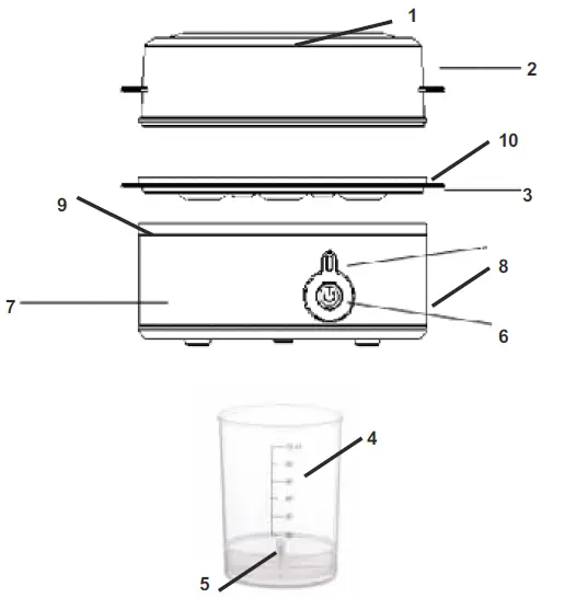
DESCRIPTION OF THE APPLIANCE
- Steam hole
- Lid
- Cooking rack (up to 3 eggs)
- Egg needle
- Measuring cup with scale
- Switch with indicator
- Body
- Power Cable
- Heating plate
- Holder
USING THE MACHINE
At the same time, you can boil up to 3 eggs. Depending on the amount of water, you can cook eggs in three ways: hard, medium and soft.
- Fill the cup (4) with water up to the desired degree of hardness and the number of eggs. Pour water into the heating plate (9).
- Pierce the rounded end of the egg using an egg needle (5) and place them on a cooking rack (3) with puncture at the top.
- Place the cooking rack (3) in the body (7) and put on the lid (2). Plug the power cord into the slot.
- Turn on the device by setting the switch in position ON (6). The indicator lights up. After the water has evaporated alarm signal sounds, and the indicator light goes out.
- Set the switch to OFF (6). Remove the plug from the socket.
- Open the cover (2). Warning! Beware of hot steam. Remove the cooking rack (3) using the holder (10) and place it immediately under cold running water.
WARNING: The egg needle should be used with caution. It is very sharp!
CLEANING AND MAINTENANCE
WARNING: Before cleaning, unplug the device and leave it to cool completely.
- Cleaning the machine do not use any solvents or aggressive detergents and do not use any sharp materials.
- During cleaning the outer surface of the body (7) use a damp cloth, then dry it completely. Be careful not to immerse the inside o the device
- The device is not intended to be washed in the dishwasher.
- Clean the lid (2) and the cooking rack (3) in warm tap water with a soft sponge and dishwashing liquid. Then dry them.
- Wipe the heating plate (9) with a damp cloth moistened with diluted vinegar to remove any limescale deposits formed after evaporation of water.
- DO NOT immerse the device in water.
TECHNICAL DATA
- Power supply 220-240V -50/60HZ
- Power: 210 W
- Max power: 350 W
To protect your environment: please separate carton boxes and plastic bags and dispose of them in corresponding waste bins. The used appliance should be delivered to the dedicated collecting points due to hazardous components, which may
affect the environment. Do not dispose this appliance in the common waste bin.























