LDTH7972S 23.75 in. in Print Proof Stainless
Steel Smart Top Control Dishwasher
User Manual
OPERATION
Before Using
WARNING
- To reduce the risk of fire, electric shock, or injury to persons, read the SAFETY INSTRUCTIONS before operating this appliance.
NOTE
- Connect to the hot water supply only. The water supply temperature should be a minimum of 120 °F (49°C) for better washing performance and shorter cycle time.
- Follow the instructions for loading the dishwasher to ensure effective cleaning.
- Remove insoluble items such as bones, toothpicks, and pieces of paper while loading the dishwasher.
Quick Start
- Load the dishes.
• Pull each rack out and load the dishes as described in this manual.
• Only load items that are dishwasher-safe.
• Scrape the dishes free of excess food, bones, and any other hard, non-soluble residue. Remove solid, burned-on scraps from dishes prior to loading in the dishwasher.
• Place items with deep dish bottoms at an angle to help water run off and speed the drying process.
• Do not load items that are not heat resistant or have decorative metal trim. - Add the detergent.
• Using the guidelines in this manual, fill the detergent cup with the recommended amount of detergent and close the lid. If a prewash is desired, the recess on top of the lid should also be filled with detergent. - Turn on the dishwasher.
• To turn on the display panel, press the Power button. - Check the rinse aid.
•The Rinse Aid Refill LED will flash if the level of rinse aid in the dishwasher is low. Add rinse aid if the level is low to maintain the effectiveness of the dry cycle. - Select the cycle and options.
• Select the cycle and options that best fit the load by referring to the Cycle Guide. The display will show the estimated time for the cycle and options selected. - Operate the dishwasher.
• Method 1 – Press the Start button and then close the door in less than four seconds to operate the dishwasher. If the door is not closed within four seconds, the white LED with time flashes, an audible tone is heard, and the cycle does not start.
• Method 2 – Close the door first and then press the Start button to operate the dishwasher.
NOTE
• If the door is opened during the cycle, the dishwasher will stop. To resume the cycle, see methods 1 and 2 above.
• If the door is opened during the cycle and is not closed within four seconds after selecting the Start button, or if the door is closed without pressing the Start button, the white LED with time flashes, an audible tone is heard, and the cycle does not start. - End of cycle.
• When the cycle is complete, a chime will sound and the display will show ENd until the door is opened or Power is pressed. To activate or deactivate ENd display, refer to the Using the Option Setting Mode topic.
• It is normal for the dishwasher to chime continuously if you open it during operation or just after the cycle ends. The dishwasher is letting you know that the interior temperatures of the unit are hot and to use caution when reaching inside. Once the unit has cooled down, the chiming will stop.
CAUTION
- Do not open the door during operation or immediately after it has completed the wash cycle as the escaping steam may cause scalding as the door is opened.
NOTE
- Empty the lower rack first and then the upper rack. This will avoid water dripping from the upper rack onto dishes in the lower rack.
Auto-Off
The dishwasher automatically turns off after four minutes of inactivity if paused or if no cycle is started.
Control Panel
Control Panel Features

- Power On/Off Button
• Press this button to turn the washer on or off.
• After the cycle is complete, the power automatically turns off for purposes of safety and economy.
• If there is a power surge, power outage, or disruption of any kind, power is automatically turned off for safety.
• When power is connected again, the dishwasher will turn on automatically and resume the cycle. - Option Setting Mode
• You can set various options by using the Option Setting Mode.
• While a appliance is off, press Power and Remote Start simultaneously to enter the Option Setting Mode.
• Refer to the Using Option Setting Mode topic for each function of the Option Setting Mode. - Display
• Rinse Aid Refill
– This LED illuminates when the rinse aid level is low. The LED automatically shuts off when the rinse aid is refilled or the level is set to 0.
– To adjust the rinse aid level, refer to the Using the Option Setting Mode topic.
• Machine Clean
– The Machine Clean LED flashes every 30 cycles. To activate or deactivate the LED, refer to the Using the Option Setting Mode topic.
•
: Digital Display
– The digital display on the control panel shows the ESTIMATED cycle time. When the cycle and options are selected, the display shows the total estimated time to complete those selections. During operation, the display shows the remaining estimated operating time.
NOTE
• The estimated time shown on the display does not include delay times for heating water, etc.
•If Delay Start is selected, the display shows the delay time in hours.
• Cycle time may vary depending on the soil level of your load.
•
: Control Lock
– The Control Lock feature helps prevent settings from being changed during a cycle. Selecting this feature locks all of the buttons, except for the Power button, on the control panel. This feature does not lock the door.
– While a cycle is running, press and hold Night Dry and Delay Start simultaneously for three seconds to activate or deactivate Control Lock.
– To start a new cycle, deactivate Control Lock.
• Sanitized
– If the Steam option is added to a cycle, the Sanitized indicator stays lit at the end of the cycle if the dishes were properly sanitized (except the Refresh cycle).
• Wi-Fi
– When the appliance is connected to the internet through a home Wi-Fi network, this LED illuminates.
– Press and hold Remote Start for approximately three seconds to connect to the network. - Cancel Button
• The drain pump activates and the cycle cancels. Once the dishwasher finishes draining, the power turns off.
•Press and hold Start for three seconds to activate. - Start Button
• To operate the machine, either press Start and close the door within four seconds or close the door and press Start.
• An alert will sound when the door is not closed within 4 seconds after you press Start button.
Wash Cycles
Select your desired cycle.
Auto
This cycle senses the soil amount and soil toughness and is optimized to achieve the best cleaning.
Normal
This cycle is for daily, regular, or typical use to completely wash a full load of normally soiled dishes. The Dry Boost Low option is recommended for optimal energy efficiency. Select the Night Dry option if leaving dishes overnight.
- After the cycle ends, the fan runs for an hour to help vent the warm, moist air in the tub. You can stop the fan by opening the door after the cycle ends.
Heavy
This cycle is for heavily soiled dishes and dishes with hardened on soil. This cycle defaults to the strongest spray intensity and uses it to wash heavily soiled dishes.
Delicate
Use this cycle to clean delicate items such as fine china and stemware.
1 Hour
This cycle will clean and dry lightly soiled dishes in 1 hour.
- This cycle offers heated drying. To improve drying results, add heated dry time by selecting the Dry Boost option.
Refresh
This cycle freshens up and warms dishes that have been unused for a long time.
- Do not use detergent when using this cycle.
- The steam option cannot be turned off on this cycle.
Download Cycle
Use a dedicated cycle downloadable via Wi-Fi or NFC. You must install the LG ThinQ smartphone app to download cycles other than the default Machine Clean cycle.
NOTE
- Only the cycle code for the current Download Cycle appears on the appliance. See the smartphone app for cycle codes, names, and more information about the available cycles.
– Default Cycle : P1-Machine Clean - Machine Clean (P1)
This cycle is for cleaning the inside of the dishwasher. Use the cycle without dishes in the machine. It eliminates residual soils, odor, white spots, and other dirt. Add citric acid or another cleaning agent for more effective results. - Express (P2)
This cycle will quickly clean lightly soiled dishes.
– This cycle does not have drying. - Rinse (P3)
This cycle is a quick rinse for dishes that will not be washed immediately. The cycle rinses dishes that have excess soil to soften dried on residue. Rinsing the dishes helps prevent odors in the dishwasher. No detergent should be used.
– This cycle does not have drying. - Pots & Pans (P4)
Cleans heavily soiled cookware. No more hand scrubbing frying pans and pots. - Casseroles (P5)
Cleans greasy and heavily soiled dishes.
Casseroles come out clean. - Glassware (P6)
Safely washes delicate glassware, leaving it sparkling. - Night Care (P7)
Quietly washes dishes overnight. Sleep soundly knowing dishes will be clean in the morning.
Options and Extra Functions
Select the desired cycle and then select the options for that cycle.
Steam
This option adds steam at the start of the cycle to improve wash performance.
If the Steam option is added to a cycle, the Sanitized indicator stays lit at the end of the cycle if the dishes were properly sanitized (except the Refresh cycle). If the dishwasher could not properly sanitize the dishes because the Steam option was not selected, the cycle was interrupted or the water could not be heated to the required temperature, the indicator will not light up at the end of the cycle. Open and close the door or press POWER to turn the indicator off.
NOTE
- This high temperature rinse sanitizes dishes and glassware in accordance with the NSF/ANSI Standard 184 for residential dishwashers. Certified residential dishwashers are not intended for use in licensed food establishments. Only sanitizing cycles have been designed to meet the requirements for soil removal and sanitization efficacy. There is no intention, either directly or indirectly, that all cycles on a certified machine have passed the sanitization performance test.
Using the Flexible Zone
This option adjusts the wash intensity to target different zones inside the dishwasher. Set it to wash just the upper rack or lower rack, or set the intensity to soft for the upper spray arm and strong for the lower spray arm.
The Flex Zone is off by default. Press the Flex Zone button to customize settings.
- Press the Flex Zone button repeatedly to select one of the three modes.
| Mode | Description |
| Various conditions • Place heavily soiled dishes like plates and bowls in the lower rack and lightly soiled dishes like cups and small plates in the upper rack to get the best results. | |
| Small loads & light soil • Use just the upper rack to save energy and time. | |
| Small loads & heavy soil • Use just the lower rack to save energy and time. |
High Temp.
Raises the main wash temperature to improve cleaning.
Dry Boost
Select the Dry Boost option for better drying performance. This option adds heated drying time to the cycle for better drying results.
| Mode | Description |
| Dry Boost Low | Press the Dry Boost button once, for optimal energy efficiency. |
| Dry Boost High | Press the Dry Boost button twice, for better drying results. |
| Dry Boost Off | Press the Dry Boost button three times to turn off the Dry Boost option. |
- If the rinse aid dispenser is empty, the Dry Boost Low option is automatically added to all cycles (except the Normal, 1 Hour cycle), unless you set the rinse aid dispenser to L0.
Night Dry
Dishes are often left in the dishwasher overnight after the cycle ends. This can result in the steam inside the tub condensing on dishes, leaving them wet. This option runs the ventilation fan periodically to help vent the steam from the tub.
- The Night Dry option is selected by default for all cycles for which it is available, except the Normal cycle.
Delay Start
This feature delays the start of a selected cycle.
Each time the Delay Start button is pressed, the delay time increases by an hour. The delay time can be set from 1 to 12 hours, in one-hour increments.
Remote Start
Use a smartphone to control your appliance remotely. You can also monitor your cycle operation so you know how much time is left in the cycle. Once this function is enabled, you can start a cycle from the smartphone application. If the door is not closed within 4 seconds after pressing Remote Start, Remote Start is canceled.
Cycle/Option Guide
The cycle guide below shows the available options for each cycle.
| Cycle | Auto | Normal | Heavy | Delicate | 1 Hour | Refresh | |
| Soil Level | All levels | All levels | Heavy | Light | Light | Light | |
| Water Usage | (L) | 13.2 – 23.7 | 9.2 – 29.2 | 23.9 – 27.0 | 16.6 – 21.7 | 18. | 8.0 |
| (gal) | 3.5 – 6.3 | 2.4 – 7.7 | 6.3 – 7.1 | 4.4 – 5.7 | 5. | 2. | |
| Wash Time with Options (Mins.) | 107 – 235 | 109 – 220 | 167 – 231 | 110 – 175 | 60 – 105 | 57 – 107 | |
| Cycle | Auto | Normal | Heavy | Delicate | 1 Hour | Refresh | |
| Available Options | Steam | • | • | •* | •* | •** | |
| Flex Zone | • | • | • | ||||
| High Temp. | • | • | • | • | |||
| Dry Boost | • | • | • | • | • | • | |
| Night Dry | •* | • | •* | •* | •* | •* | |
| Delay Start | • | • | • | • | • | • | |
* Default setting
** Option cannot be turned off
NOTE
- Actual water consumption will vary depending on soil level and hardness of water.
- The actual running time and cycle time displayed may change depending on options chosen, soil level, water temperature, and hardness of water. Therefore, display time and actual running time can be different.
- Options are not available for Download Cycle. The Machine Clean cycle is the default Download Cycle.
Using the Option Setting Mode
You can set various options by using the Option Setting Mode.

- Ensure the appliance is off.
- Press Power 1 and Remote Start 2 simultaneously to enter the Option Setting Mode.
- Refer to the table to set up each function.
| Function | Button | Display |
| Machine Clean Reminder | Night Dry | Off ↔ On |
| Rinse Aid Level | Dry Boost | L2 → L3 → L4 → L0 → L1 → L2 → |
| Clean Light | High Temp. | On ↔ Off |
| Chime Sound | 1 Hour | On ↔ Off |
| Auto Setting | Delicate | On ↔Off |
| End Sound | Heavy | On ↔ Off |
NOTE
- Machine Clean Reminder
– The Machine Clean LED flashes every 30 cycles. You can activate or deactivate the LED. - Rinse Aid Level
– You can adjust the level of rinse aid from L0 to L4.
– For more information, refer to the Rinse Aid Dispenser Adjustment section. - Clean Light
– The default ON setting keeps the green light on until the door is opened. If the setting is changed to OFF, the green light turns off after 90 seconds. - Chime Sound
– You can turn on/off the volume of the button sound or notification sound.
NOTE
– The error alert sound cannot be turned off.
- Auto Setting
– The default ON setting selects options automatically for better washing and drying performance.
– If the setting is changed to OFF, the options are not selected. - End Sound
– You can turn on/off the End sound.
Loading the Dishwasher
The extra tall tub allows loading of dishes, pans, or other utensils up to 14″ high. For effective washing performance, always follow these instructions.
- Remove large particles of food debris from plates including bones before loading.
- Items with burnt on food should be soaked prior to loading in the dishwasher.
- Deep pots or dishes should be placed upside down.
- Make sure that all items do not touch each other.

Non-Dishwasher Safe Items
The combination of high water temperature and dishwasher detergents may damage certain items.
Do not wash the following items in the dishwasher.
- Copper or anodized aluminum
- Hand painted silver or gold leaf china
- Wood or bone handled utensils
- Iron or non-rust proof utensils
- Plastic items which are not dishwasher safe
- Sterling silver or gold-plated flatware or delicate or metal-rimmed china
- Fragile items such as crystal glasses
CAUTION
- Do not place pots or pans with plastic handles in the appliance as the handles may deteriorate due to the heat and detergent.
- Waterproof or long-lasting lipstick smudges on glasses may not be removed during the wash.
Loading the Silverware Basket
The silverware basket has separators to avoid scratching and tarnishing of delicate silverware.
Loading Silverware into the Basket
Loading 10 Place Settings

Loading 12 Place Settings

Silverware Loading Tips:
- For best cleaning results, use the top separators in the basket when loading silverware. The separators will prevent nesting of silverware.
- Load sharp items, such as knives, pointing down.
- When unloading the dishwasher, it is best to start with the silverware basket. Doing so will prevent water droplets from falling on your silverware from the upper rack.
WARNING
- Be careful when loading and unloading sharp items. Load sharp knives with the handles up to reduce the risk of personal injury.
Loading the Lower Rack
Loading Dishes into the Lower Rack
Loading 10 Place Settings

Loading 12 Place Settings

Lower Rack Loading Tips:
- Plates should be positioned upright and facing the center of the rack, and pots, pans and large dishes must be turned upside down.
- Load dinner plates, dishes, soup bowls, etc. between the tines.
- Load cookie sheets, cake pans and other large items at the sides or back of the rack. Loading these items in the front of the dishwasher can prevent the water spray from reaching the detergent dispenser.
- Make sure that pot handles and other large items do not stop the rotation of the spray arms.
- The lower rack should not be used for small items such as cups, wine glasses, or small plates.
These items should be loaded in the upper rack. - Make sure that large items do not interfere with the rotation of the spray arms, and do not prevent the detergent dispenser from opening.
Folding Down the Lower Tines
Fold tines down to fit larger dishes; pull tines backup to fit smaller dishes.
Case 1 | Case 2 |
Loading Dishes & Pots

Loading Pots & Bowls

NOTE
- The silverware basket ships installed at the back of the bottom rack. For best performance, install it along the right side as shown.
![]() | ![]() |
Loading the Upper Rack
Loading Dishes into the Upper Rack
Loading 10 Place Settings | Loading 12 Place Settings |
Upper Rack Loading Tips:
- Place cups and glasses in the rows between the rack tines. Placing them over the rack tines can lead to breakage and water spots.
- To avoid chipping, do not let stemware touch other items.
- Place items so that the open end faces down for cleaning and drying.
- Do not stack items on top of each other.
- Use the upper rack for small or delicate items such as small plates, cups, saucers, glasses, and dishwasher-safe plastic items.
- Cups, glasses, and bowls must be positioned upside down.
- Make sure items do not interfere with the rotation of the spray arms above and below the upper rack.
- When loading larger items in the upper rack, such as wine glasses or taller cups, it may be necessary to remove the cutlery rack if one is present. (For models with cutlery rack)
Loading the Cup Rack
This feature is only available on some models.
Extra cups or cooking utensils can be laid on the fold down cup racks, which also provide support for long-stemmed glasses.

The cup racks can be folded up out of the way for tall glasses.

Removing and Replacing Cup Rack
This feature is only available on some models.
The left and right cup racks are interchangeable and can be removed.
- Slide the cup rack down into its closed position.

- Locate the assembly slot 1 on the cup rack, align the slot with the bar, and firmly pop the rack off the support bar on that side.
• The rack on the left pops free at the back. The rack on the right pops free at the front.
- Slide the cup rack off the support bar on the opposite side.

- Follow the instructions in reverse to replace the cup rack.
Folding Down the Upper Tines
Fold tines down to fit larger dishes; pull tines backs to fit smaller dishes.

Loading Dishes & Pots

Height Adjustable Upper Rack
The upper rack adjusts up and down. Raise the upper rack to allow items up to 14″ tall in the lower rack. Lower the upper rack to allow dishes up to 12″ tall in the upper rack. The dishwasher ships with the upper rack raised.
There are three available positions for adjusting the height of the upper rack to create more space.

WARNING
- Before adjusting, ensure the rack is empty of all dishes. Otherwise dishes may get damaged or you may get injured.
NOTE
- Raise the upper rack without pushing the buttons on each side. Pushing the buttons when raising the rack will prevent the rack from locking into position.
- To set the rack to the middle position, it may be easier to lower the rack all the way down and then raise each side of the rack individually until it clicks into place.
- Before pushing the upper rack into the dishwasher, ensure the rack height is the same on both sides. If the height is not the same on both sides, the dishwasher door will not shut and the upper spray arm will not connect to the water inlet.

- There is a 2 3/16 inches (56 mm) gain in height when the upper rack is moved to the lower position.
- After adjusting the rack levels, check that the spray arms are free to rotate.
- When the upper rack is in the lower position, make sure the rack and the spray arm do not hit the items on the lower rack.
- When the upper rack is in the lower position, push in the upper rack first, and the lower rack later.
- Pull out the lower rack first, and the upper rack later.
Lowering the Rack
Hold the rack at the center of each side to support its weight. Then, push the button on each side to release the rack and lower it into position.

Raising the Rack
Lift the rack at the center of each side until the rack locks into place in the upper position. It is not necessary to lift the lock levers to raise the rack.

Removing the Snap-In Gliding Upper Rack
This feature is only available on some models. These instructions are for models with snap-in rack supports rather than wheeled rack supports.
CAUTION
- The snap-in upper rack should only be removed for servicing. If you need to remove the rack, wear gloves and handle the screwdriver carefully to avoid personal injury or damage to the dishwasher.
- Pull the upper rack out until it stops. Remove any contents from the rack.
- To remove the front rack supports from the rails, push the front hooks open with a flat lade screwdriver while pulling the front of the rack up to snap the front rack support out of the hooks. Repeat to snap the front support out on the opposite side.

- To remove the back rack supports from the rails, hold a side rail with one hand, lift the front of the rack, and firmly push the rackback to snap the support out of the hooks in the rear. Repeat on the opposite side.

- To replace the rack, place the back rack supports behind the rear hooks and pull the rack forward to snap the supports into the hooks. Then align the front rack supports with the front hooks and push the front of the rack down to snap the supports into the front hooks.
Loading the Cutlery Rack
The cutlery rack is best suited for flatware. The separators on the cutlery racks help keep flatware separated to avoid damage and improve cleaning.
NOTE
- For best cleaning performance, place flatware in the silverware baskets. Heavily soiled utensils or items with baked on foods should be placed in the middle rack or spoon basket for best performance.
Loading Silverware into the Cutlery Rack
This feature is only available on some models.
Loading 10 Place Settings

CAUTION
- Do not place bowls in the center of the cutlery rack. The door may not close properly, resulting in leakage.

Height Adjustable Tray
This feature is only available on some models. The tray on the left side can be adjusted to a high or low position to accommodate utensils or cutlery of different sizes. Remove dishes before adjusting the tray. Adjust the tray by sliding the lever.

Removing the Cutlery Rack
The entire cutlery rack can be removed if more space is needed on the upper rack for larger items. Always remove the cutlery from the rack before removing the rack.
Pull the rack out to the end of the rails. Then, lift the front of the rack so that the rollers clear the stop on the end of the rail. The rack can now be slid forward and removed from the rails.

WARNING
- Be careful when loading and unloading items with sharp edges. Load sharp knives with th blade down to reduce the risk of injury.
Folding Down the Cutlery Tines
Fold tines to fit flatware.

Pull tines back up to fit smaller dishes.

Adding Cleaning Products
- Remove the label on the dispenser prior to running the dishwasher for the first time
- The amount of detergent needed depends on the cycle, load size, and soil level of dishes.
- Put detergent into the detergent compartment before starting any cycle, except the Rinse (Download Cycle: P3) cycle.
WARNING - Dishwasher detergent and rinse aid contain chemical components, like all other household detergent. So, they must be kept out of the reach of children.
CAUTION
- Use only detergent intended for dishwashers. Incorrect detergent may cause the dishwasher to fill with suds during operation. Excess suds may reduce wash performance and may cause the dishwasher to leak.
- To avoid damaging the dispenser and blower cover, do not use them to pull up and close the dishwasher door.

NOTE
- After completion of the wash program, check whether the detergent was completely washed out.
- Some dishwasher detergent tablets may become stuck in the dispenser due to their excessive size. Tablets can be placed onto the base of the wash tub next to the filter before starting the cycle.
- Too much detergent can leave a film on dishes and in the dishwasher, resulting in poor wash performance.
- If dishwasher detergent tablets are used without liquid rinse aid, the dishes and dishwasher interior will have excessive moisture. Select the Dry Boost option for bette drying performance.
- Using liquid rinse aid improves drying performance by allowing water to drain off of dishes after the final rinse.
- Do not use detergent tablets for shorter wash cycles. The tablet may not dissolve completely, causing detergent residue on dishes and inefficient cleaning.
- Using a wash booster helps remove spots, residue, and the white film caused by hard water. It does not help remove excess detergent residue.
- Push the button on the dispenser lid to open the cover.

- Add dishwashing detergent to the main wash compartment until the level is between the lines marked 15 and 25.
• Fill to over the 25 line for hard water or heavily soiled loads.
• Fill to the 15 line for soft water or lightly soiled loads.
- Slide the detergent lid closed until it clicks.

- If a prewash is desired, fill the recessed prewash compartment area on the lid with detergent.

Adding Rinse Aid to the Dispenser
The Rinse Aid Refill LED appears in the display when more rinse aid is needed.
The use of rinse aid is recommended to prevent water spots on dishes and to enhance drying performance.
NOTE
- Only use liquid rinse aid in the dishwasher.
- Do not overfill the rinse aid dispenser.
- Wipe off any spilled rinse aid around the dispenser.
- Open the rinse aid lid by lifting up the flap.

- Add a liquid rinse aid to the maximum fill level. Allow the rinse aid to settle in the dispenser while filling, or air bubbles may result in poor drying performance. Avoid overfilling the dispenser.

- Close the lid to lock the dispenser. Rinse aid is dispensed automatically during the final rinse cycle.

Rinse Aid Dispenser Adjustment
The dispenser has five adjustment levels. The dishwasher is programmed at the factory for a rinse aid dispenser level of 2. This can be checked and adjusted from the control panel.
NOTE
- Adjust the setting higher if you have hard water and notice calcium buildup on your dishes.
- Setting the rinse aid control too low will contribute to spotting and streaking on dishes and poor drying performance.
- Setting the control too high can cause foaming, which will cause poor wash performance.
- Ensure the appliance is off.
- Press Power and Remote Start simultaneously to enter the Option Setting Mode.
- Press Dry Boost to change the rinse aid dispenser setting. Each press of the button changes the setting one step from L0 to L4.
- Once the desired rinse aid dispenser setting is selected, press Start to save.
Refilling the Rinse Aid
How often the dispenser needs to be refilled depends on how often dishes are washed and the rinse aid setting used.
- The Rinse Aid Refill LED flashes when more rinse aid is needed, unless the rinse aid dispenser setting is set to L0.
SMART FUNCTIONS
LG ThinQ Application
The LG ThinQ application allows you to communicate with the appliance using a smartphone.
LG ThinQ Application Features.
- Monitoring
– Check the current status, cycle, options, running time and cycle end time for the appliance on a single screen. - Download Cycle
– You can download new and specialized cycles that are not included in the standard cyclesthe appliance. Connect the appliance to the app to download a variety of specialty cycles specific to the appliance. Once cycle download is completed in the appliance, the product keeps the downloaded cycle until a new cycles downloaded.
NOTE
- Only one downloaded cycle can be stored on the appliance at a time.
- The Machine Clean (P1) cycle is the default downloaded cycle.
- Machine Clean Coach
– This function shows how many cycles remain before running the Machine Clean (Download Cycle: P1) cycle. - Smart Diagnosis – This function provides useful information for diagnosing and solving issues with the appliance based on the pattern of use.
- Settings – Set the Rinse Aid Dispenser Level, Machine Clean Reminder, Signal Level and Clean Indicator Light. When the cycle is complete or the appliance has problems, you have the option of receiving push notifications on a smarts.
- Push Alerts – Turn on the Push Alerts to receive appliance status notifications. The notifications are triggered even if the LG ThinQ application is off.
- Energy Monitoring – You can use the energy monitoring function to check the estimated power usage.
NOTE
- If you change your wireless router, Internet service provider, or password, delete the connected appliance from the LG ThinQ application and connect it again.
- This information is current at the time of publication. The application is subject to change for product improvement purposes without notice to users.
Before Using LG ThinQ Application
- Check the distance between the appliance and the wireless router (Wi-Fi network).
• If the appliance is too far from the router,,the signal strength becomes weak. It may take a long time to connect or installation may fail. - Turn off the Mobile data or Cellular Data on your smartphone.

- Connect your smartphone to the wireless router.

NOTE
- To verify the Wi-Fi connection, check that the WiFi LED on the control panel is lit.
- The appliance supports 2.4 GHz Wi-Fi networks only. To check your network frequency, contact your Internet service provider or refer to your wireless router manual.
- LG ThinQ is not responsible for any network connection problems or any faults, malfunctions, or errors caused by network connection.
- If the appliance is having trouble connecting to the Wi-Fi network, it may be too far from the router. Purchase a Wi-Fi repeater (range extender) to improve the Wi-Fi signal strength.
- The Wi-Fi connection may not connect or may be interrupted because of the home network environment.
- The network connection may not work properly depending on the Internet service provider.
- The surrounding wireless environment can make the wireless network service run slowly.
- If the appliance cannot be connected due to problems with the wireless signal transmission, unplug the appliance and wait about a minute before trying again.
- If the firewall on your wireless router is enabled, disable the firewall or add an exception to it.
- The wireless network name (SSID) should be a combination of English letters and numbers. (Do not use special characters.)
- Smartphone user interface (UI) may vary depending on the mobile operating system (OS) and the manufacturer.
- If the security protocol of the router is set to WEP, network setup may fail. Change the security protocol (WPA2 is recommended) and connect the product again.
Installing the LG ThinQ Application
Search for the LG ThinQ application from the Google Play Store or Apple App Store on a smartphone. Follow instructions to download and install the application.
Using the Appliance Remotely
Remote Start
Use a smartphone to control the appliance. remotely or check to see how much time is left in the cycle.
Using Remote Start
- Load the dishes into the dishwasher.
- Press the Power button.
- Make sure that the Wi-Fi is connected.
- Press the Remote Start button and close the dishwasher door to enable the Remote Start function.
- Start a cycle from the LG ThinQ application on your smartphone.
NOTE
- Once the Remote Start mode is enabled, you can start a cycle from the LG ThinQ application, but the cycle and option keys on the appliance are deactivated. To activate the keys, disable Remote Start.
- The door must be closed in order to activate the Remote Start mode.
Disabling Remote Start
While Remote Start is activated, open the dishwasher door or press the Remote Start button with the door closed.
Radio Equipment Specifications
| Type | Frequency Range | Output Power |
| Bluetooth | 2412 MHz – 2462 MHz | < 30 dBm |
| Wi-Fi | 2402 MHz – 2480 MHz |
FCC Notice
The following notice covers the transmitter module contained in this product. This equipment has been tested and found to comply with the limits for a Class B digital device, pursuant to Part 15 of the FCC Rules. These limits are designed to provide reasonable protection against harmful interference in a residential installation. This equipment generates, uses, and can radiate radio frequency energy and, if not installed and used in accordance with the instructions, may cause harmful interference to radio communications. However, there is no guarantee that interference will not occur in a particular installation. If this equipment does cause harmful interference to radio or television reception, which can be determined by turning the equipment off and on, the user is encouraged to try to correct the interference by one or more of the following measures:
- Reorient or relocate the receiving antenna.
- Increase the separation between the equipment and the receiver.
- Connect the equipment into an outlet on a circuit different from that to which the receiver is connected.
- Consult the dealer or an experienced radio/TV technician for help.
This device complies with part 15 of the FCC Rules.Operation is subject to the following two conditions:
(1) This device may not cause harmful interference and
(2) This device must accept any interference received, including interference that may cause undesired operation.
Any changes or modifications in construction of this device which are not expressly approved by the party responsible for compliance could void the user’s authority to operate the equipment.
FCC RF Radiation Exposure Statement
|This equipment complies with FCC radiation exposure limits set forth for an uncontrolled environment. This transmitter must not be colocated or operating in conjunction with any other antenna or transmitter.
This equipment should be installed and operated with a minimum distance of 20 cm (7.8 inches) between the antenna and your body. Users must follow the specific operating instructions for satisfying RF exposure compliance.
Industry Canada Statement
This device contains licence-exempt transmitter(s)/ receiver(s) that comply with Innovation, Science and Economic Development Canada’s licence- exempt RSS(s). Operation is subject to the following two conditions:
- This device may not cause interference.
- This device must accept any interference, including interference that may cause undesired operation of the device.
IC Radiation Exposure Statement
This equipment complies with IC radiation exposure limits set forth for an uncontrolled environment.
This equipment should be installed and operated with a minimum distance of 20 cm (7.8 inches) between the antenna and your body.
NOTE
THE MANUFACTURER IS NOT RESPONSIBLE FOR ANY RADIO OR TV INTERFERENCE CAUSED BY UNAUTHORIZED MODIFICATIONS TO THIS EQUIPMENT. SUCH MODIFICATIONS COULD VOID THE USER’S AUTHORITY TO OPERATE THE EQUIPMENT.
Open Source Software Notice Information
To obtain the source code that is contained in this product, under GPL, LGPL, MPL, and other open source licenses that have the obligation to disclose source code, and to access all referred license terms, copyright notices and other relevant documents, please visit https://opensource.lge.com.
LG Electronics will also provide open source code to you on CD-ROM for a charge covering the cost of performing such distribution (such as the cost of media, shipping, and handling) upon email request to [email protected]. This offer is valid to anyone in receipt of this information for a period of three years after our last shipment of this product.
Smart Diagnosis Function
Use this feature to help you diagnose and solve problems with your appliance.
NOTE
- For reasons not attributable to LGE’s negligence, the service may not operate due to external factors such as, but not limited to, Wi-Fi unavailability, Wi-Fi disconnection, local app store policy, or app unavailability.
- The feature may be subject to change without prior notice and may have a different form depending on where you are located.
Using LG ThinQ to Diagnose Issues
If you experience a problem with your Wi-Fi equipped appliance, it can transmit troubleshooting data to a smartphone using the LG ThinQ application.
- Launch the LG ThinQ application and select the Smart Diagnosis TM feature in the menu. Follow the instructions provided in the LG ThinQ application.
Using Audible Diagnosis to Diagnose Issues
Follow the instructions below to use the audible diagnosis method.
- Launch the LG ThinQ application and select the Smart Diagnosis feature in the menu. Follow the instructions for audible diagnosis provided in the LG ThinQ application.
- Press the POWER button to turn on the appliance.
• Do not press any other buttons. - Place the mouthpiece of your smartphone close to the
logo.
- Press and hold the Download Cycle button for 3 seconds or longer while holding the smartphone mouthpiece to the logo until the data transfer is complete.
• Keep the smartphone in place until the data transfer has finished. Time remaining for data transfer is displayed. - After the data transfer is complete, the diagnosis will be displayed in the application.
NOTE
- For best results, do not move the smartphone while the tones are being transmitted.
MAINTENANCE
To maintain performance and prevent trouble, it is important to check the outside and inside of the dishwasher, including filters and spray arms, at regular intervals.
WARNING
- When cleaning the outside and inside of the dishwasher, do not use benzene or thinner. Otherwise, it may cause fire or explosion.
- To prevent injury during care and maintenance or cleaning, wear gloves and/or protective clothing.
Cleaning and Care
Cleaning the Exterior
- Do not use scrub pads or abrasive cleaners on the exterior of the dishwasher.
- Most soil can be removed using a soft, damp cloth or sponge. A mild soap can be used to help release stubborn soil. Rinse and wipe dry with a soft cloth after cleaning.
- Stainless steel surfaces can be polished using a stainless steel cleaner. Follow the instructions on the cleaner, and wipe in the direction of the grain.
CAUTION
- If cooking oil is spilled on the exterior of the product, wipe it off immediately. Do not clean the exterior of the product with cleaners which contain alcohol, thinners, bleach, benzene, flammable liquids, or abrasives. These substances may discolor or damage the appliance.
Cleaning the Interior
- Clean the interior of the dishwasher periodically with a soft, damp cloth or sponge to remove food and dirt particles.
- To remove white spots and odor from inside the dishwasher, run an empty cycle, without detergent, with one cup of white vinegar in a dishwasher safe glass or bowl placed on the upper rack. (Vinegar is an acid and with constant use it could damage the appliance.)
- Using Machine Clean – Run the Machine Clean (Download Cycle: P1) cycle once a month or after every 30 cycles to eliminate residual soil, odor, white spots and other dirt inside the appliance. The Machine
Clean (P1) cycle is the default Download Cycle.
- Remove all dishes from the appliance.
- Add 3 tbsp. (40 g) of citric acid to the detergent dispenser or follow the manufacturer’s instructions if using a dishwasher cleaning agent. Do not use dishwasher detergent.
- Run the Machine Clean (Download CycleP1) cycle.
- Press Start.
NOTE
- Run the Machine Clean (Download Cycle: P1) cycle once a month, or more often if needed, to remove detergent buildup and other residue.
- If you have not used the dishwasher for a long time, refresh the inside by running the Machine Clean (Download Cycle: P1) cycle without detergent. When the cycle is finished, clean the inside and outside of the dishwasher according to the MAINTENANCE instructions. the cleaning or repair of the external drain air gap and disposal.
Cleaning the Air Gap
- Turn off the dishwasher.
- Remove the air gap cover and the plastic cap underneath it.

- Clean out any debris with a toothpick or brush.

- Replace the plastic cap and air gap cover.

Cleaning the Filters
WARNING
- Be cautious of sharp edges when handling the stainless steel filter.
CAUTION - Remove food residue caught in filters to prevent the buildup of odor-causing bacteria and possible drainage problems.
NOTE - For best wash performance, clean the filter after each load. If food debris remains in the filter, it may cause an odor.
- In areas with hard water, clean the filter at least once a month with a soft brush.
- Clean the filters using non-abrasive materials and warm running water.
- Remove the lower rack and position the bottom spray arm so a wider vee is open to the front.
- Turn the inner filter counter-clockwise and take out the assembled inner filter and stainless steel filter.
With the filters removed, check the sump opening and remove any foreign materials, if needed.
- Clean the filters with a soft brush under running water. Reassemble the filters before reinstalling them.

- To replace the assembled filters, position the spray arm so the wider vee is toward the front. Fit the filters back into the filter holder and secure them by turning the inner filter clockwise until it clicks into place.

NOTE
- Make sure the filter is assembled correctly before starting a cycle. When assembling, rotate the filter firmly until it clicks.

Recommended Filter Cleaning Schedule
| Number of Loads Per Week | If you wash dishes before loading | If you scrape and rinse dishes before loading |
| 1 – 3 | Every 6 months | Once a year |
| 4 – 7 | ||
| 8-12 | Every 6 months | |
| 13 – 14 | ||
| Number of Loads Per Week | If you only scrape dishes before loading | If you do not scrape or rinse dishes before loading |
| 1 – 3 | Four times a year | Once a month |
| 4 – 7 | Twice a month(every 15 days) | |
| 8 – 12 | Eve 1.5 Every months | Every week |
| 13 – 14 | Twice a week |
Cleaning the Spray Arm
If the spray arm holes are blocked by any food residue, dishes may not be cleaned well due to improper water spray.
It is recommended that the spray arms be cleaned once every two weeks.
Cleaning the Lower Spray Arm
- Make sure that the water jet holes are not blocked by food particles.
- If any food residue blocks the spray arm holes, remove it with a pin or any sharp tool.

CAUTION
- To avoid breaking the rolling spray arm sections, do not pull or manually rotate them.
Cleaning the Upper Spray Arm
- Pull the upper rack forward. Make sure thatthe water jet holes are not blocked by food particles.
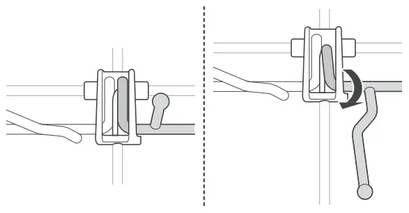
- When cleaning is necessary, remove the upper spray arm by turning the nut on the bottom of the spray arm 1/8 turn counterclockwise and pulling down.

- Remove food particles by rinsing or shaking the spray arm.
- If any food residue blocks the spray arm holes, remove it with a pin or any sharp tool.

- After removing the food residue, clean the spray arms under running water.
- After cleaning the upper spray arm, press it up into place. Turn the nut 1/8 turn clockwise to make sure that the nut locks back into place.

- After assembly, make sure that the spray arms rotate freely.
Seasonal Maintenance and Storage
- If you will be absent for an extended period of time during warmer months, close the water valve and disconnect the power supply line, or turn off the circuit breaker. Clean the filter, tub and dispenser to prevent odor.
- If you will be absent for an extended period of time during colder months and there is a possibility of freezing temperatures, winterize the water supply lines and the dishwasher itself.Winterization must be performed by qualified service personnel.
















































