User Manual
V1.0
Important safety considerations
The following safety instructions ensure the long service life of the projector to avoid fire or electric shock. Make sure to read them carefully and pay attention to all the following warnings.
- Do not install the projector in sites with improper ventilation.
- Do not install the projector in hot and humid sites.
- Do not block the ventilation holes(intake or exhaust).
- Do not install the projector in dust and smoke sites.
- Do not install the projector near the temperature and smoke transducer. It may cause a sensor failure.
- Do not install the projector in sites with the direct blowing of the warm and cool air-conditioned wind. Otherwise, it may cause the project failure due to moisture condensation or temperature increment.
Package Include
FAQ:
1. MAC/ Mobile Phone Connection
- Mac Book air:
Needs an extra Mini Display Port to HD adapter(not included) - Mac Book Pro:
Needs an extra Type C to HD adapter(not included) - Android:
Needs an extra Micro USB to HD/ Type C to HD adapter (not included) - iPhone:
Needs an extra Lightning to HD adapter(not included)

2. Blurry Image
- Adjust keystone correction to make the image rectangular.
- Second, rotate the focus button to gain the best clarity.
Effective Projection Distance: 1.2 M – 4.8 M
3. Mounting Hole
The projector’s mounting holes are compatible with standard camera tripods and projector brackets with 1/4-inch mounting screws.
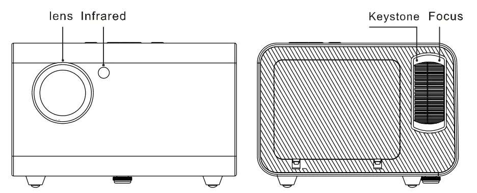
Product Function Structure Diagram

Note: The remote control must correspond to the Infrared or screen of the fuselage to be effective.
First Use
1. Power on/off 
Connect the power cord to the AC power port of the projector, short press the power button on the body, the indicator light will turn red, and the projector will turn on. Or point the remote control at the infrared window of the fuselage, press the power button of the remote control to start the projection.
2.Foc us/Keystone 
Adjust the focus wheel of the body until the picture is clear (please keep the picture above 45 inches, otherwise it will not be clear).
Adjust the keystone correction wheel of the fuselage until the screen is square.
3. Brightness of light source/Zoom 
- Select Brightness of light source to adjust the brightness of the image.
- Select Zoom to zoom the image size.
NOTE: Brightness of light source adjustment is optional function.
4.Restore Factory Default
If you encounter problems in the process of use, please plug in the power adapter, you can select – Set – restore factory, in order to return to the initial state of the system.
5. Dust net cleaning
To ensure the heat dissipation effect, please clean the dust filter regularly. After removing the dust-proof net, you can wash it with water or use a hair dryer to clean the dust in the net. Wait for the dust-proof net to dry before installing it back into the projector.
Input Source
1.USB Connection
After inserting the USB flash disk, select Movie, Music, Photo, or Text according to the desired content to enter the USB flash disk.
2.HD Connection

Connecting projector and computer,game console or other devices with HD cable.
3.AV Connection 
Connect the DVD, DTV Tuner, etc with AV cable, choose the “AV” source input. For DVD Player ,DTV Tuner, etc.
Projection Distance & Size
Note:The display sizes is for your reference.There are more projection size for your optional which depends on your need.
Supported multimedia formats
| File | Format | Suffix | Decoding |
| Audio play | Mp3 | mp3 | ⁄ |
| M4A | mp4 | \ | |
| Picture play | JPEG | -1Pg | |
| BMP | .bmp | ||
| PNG | •png | ||
| Video play | MPEG1 | .DAT\.MPG\.MPEG | \ |
| MPEG2 | .MPG | \ | |
| MPEG4 | .AVI\.MP4 | DIVX,XVID | |
| RM\RMVB | .RM\.RMVB | RV8, RV9, RV10 | |
| H264 | .WKV\.MOV | H.264 | |
| MJPEG | .AVI | \ | |
| DivX | .DIVX\.AVI | MPEG,DIVX,H264 | |
| FLV | .FLV | H264 |
NOTE:Support up to 1080P format video.
TroubleShooting
Q: Why is the projection screen so blurry?
A: Please keep the projection screen above 45 inches and adjust the focus until the screen is clear.
Q: Connected to my laptop via HDMI port, but projector keeps “No signal”?
A: Please make sure your laptop is set to projection mode.lf still fails,please try to connect the projector to other devices such as TV stick with the HDMI cable.lf the connection is successful.the projector has no problem.Please check the projection settings of your laptop.
Q: Why is there no sound when playing Netflix videos?
A: Turn off Dolby surround sound on your connected devices such as Firestick and Chromecast when watching Netflix videos..
FCC Warning:
This equipment has been tested and found to comply with the limits for a Class B digital device, pursuant to part 15 of the FCC Rules. These limits are designed to provide reasonable protection against harmful interference in a residential installation. This equipment generates, uses and can radiate radio frequency energy and, if not installed and used in accordance with the instructions, may cause harmful interference to radio communications. However, there is no guarantee that interference will not occur in a particular installation. If this equipment does cause harmful interference to radio or television reception, which can be determined by turning the equipment off and on, the user is encouraged to try to correct the interference by one or more of the following measures:
- Reorient or relocate the receiving antenna.
- Increase the separation between the equipment and receiver.
- Connect the equipment into an outlet on a circuit different from that to which the receiver is connected.
- Consult the dealer or an experienced radio/TV technician for help.
Caution: Any changes or modifications to this device not explicitly approved by manufacturer could void your authority to operate this equipment.
This device complies with part 15 of the FCC Rules. Operation is subject to the following two conditions: (1)This device may not cause harmful interference, and (2) this device must accept any interference received, including interference that may cause undesired operation.
This equipment complies with FCC radiation exposure limits set forth for an uncontrolled environment. This equipment should be installed and operated with minimum distance 20cm between the radiator and your body.























