frifri IS797 Precision Freestanding and Drop

Safety Regulations
The following warning symbols are fitted to the appliance as appropriate.
High voltage
Electric shock
Warning of dangerous electrical voltage
Only authorized specialist personnel may carry out work on electrical installations Follow the specific technical safety instructions
Always disconnect the appliance from the mains power before carrying out work on electrical installation, servicing or cleaning
Hot surfaces/hot internal components
During operation parts may become hot. Avoid accidental contact.
Hot frying oil
Hot frying oil can lead to injuries. Always allow the hot oil to cool down before carrying out cleaning or servicing work.
The manufacturer has mounted warning symbols (stickers) at all the relevant positions on the appliance before delivery. If during operation or cleaning any of these warning symbols become detached, the operator of the appliance is obliged to apply these warning symbols again immediately.
Specified use of the appliance
The appliance is exclusively intended for the frying of fresh and deep frozen foods and whilst operating should not be left unsupervised. Any other use of the appliance is regarded as non-specific. The observance of the operating manual and the following of the maintenance and repair instructions from the manufacturer are also part of the specified use.
Specific warnings and instructions
Do not attempt to move this appliance when the tank contains hot oil.
Do not use a water jet or steam cleaner, and do not immerse this appliance. Do not operate without first filling it with fat or frying oil to the maximum oil level mark.
During operation maintain the oil level between the maximum and minimum oil level marks. Too little oil will result in the safety cut out operating or the risk of ignition. Overfilling will cause surging or frothing over.
Used, contaminated frying oil is increasingly likely to ignite and also tends to froth over. If the frying oil ignites, do not attempt to extinguish it with water but use a fire extinguisher with a special filling (Halon) or a fire blanket.
If too much deep-frozen or wet frying product is put into the hot oil, frothing over of the oil may occur.
Overfilling the basket will also reduce the quality of the fried food.
For safe draining or transferring the frying oil it must have cooled to a temperature below 50 Deg C.
Never clean the elements with a steel brush or by burning off (dry operation). Improper cleaning of the elements will lead to the exclusion of the guarantee. The oil drain bucket has the capacity for one tank to drain at a time. Do not drain both tanks simultaneously.
Personnel safety
Warning
The personnel who operate and maintain the deep fat fryer must be trained in the correct operation and handling of the appliance and must have read and understood the safety regulations in this operating manual before starting work on or with it.
Do not modify or remove safety devices. Do not remove any warning symbols which may have been fitted to the appliance. Replace missing or defective warning symbols.
Do not operate the deep fryer in a damaged condition. Report immediately any irregularities, especially those which reflect safety, to your managers.
When servicing components, ensure that the deep fryer is disconnected from the mains power supply. Always check all safety functions after completing service work.
Safety equipment
Apart from the warning symbols applied to the appliance, it is also fitted with the following safety equipment:
- Main switch
- Safety contactor
- Safety thermostat
Only those personnel who have been authorized for the respective work may work on and with this appliance.
Personnel are seen as authorized if they fulfil the minimum training and knowledge requirements as listed in this section and have been assigned a fixed area of responsibility.
Owner/operator
The owner/operator is the person who is responsible for the specified use of the appliance and for the training as well as the tasks of the authorized personnel, including issuing directives to all the personnel with respect to appliance operations.
Operator of the appliance
Operator responsibilities include:
- Maintaining oil levels in the appliance.
- Loading the product and monitoring frying quality. Cleaning and filtering.
- Identifying and reporting problems.
Maintenance personnel
Carries out maintenance and repair of the appliance according to the work described in
Sections ‘Cleaning and Maintenance’. The dismantling, storing and disposal of the appliance.
Owner/operator
Should have relevant experience in assessing dangers and in personnel management. Must understand the safety regulations.
Operator
Must be instructed in the operation of the deep fryer and be aware of the safety regulations.
Service personnel
Must have successfully completed the relevant training and be familiar with the servicing of the appliance. Servicing work on the electrical equipment of the appliance may only be carried out by suitably qualified personnel.
Duty of maintenance
The appliance must only be used when in an undamaged condition. Use original consumables and original spare parts as replacements whenever necessary. Always check the equipment for safety after maintenance and repair work.
Availability of operating manual
A copy of this operating manual must be available at all times to the personnel at the installation location.
Use of the fryer
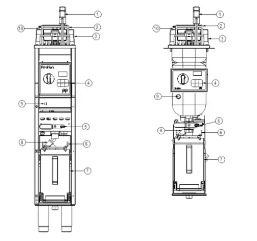
Fryer Layout

- Oil Return Lance
- Basket Holder
- Element Lifting Head
- Precision Control Panel
- Oil Drain Lever
- Filter Holder and Filter
- Drain Bucket
- Pump
- On/Off switch
- Element Lifting Head Release Knob
- Oil return lance – this is a simple push fit in to the quick release coupling adjacent to the lifting head. If using the lance to return hot oil, observe the pre mentioned PPE precautions, as the body of the lance may be hot.

- Basket holder – push fit on to boss at the rear of the lifting head.

- Element lifting head – the elements may be swung up and locked in to the Up position toallow access for cleaning the tanks. Use the element lifting knob (10) to unlock and lift the elements. When the tank is cleaned, lower the elements carefully until locked.

- Control Panel – carries out all cooking functions.
- Oil drain lever – drains tanks. Slide safety lever across to open valve.
- Filter holder and Filter – Position as shown, ensure stainless steel filter is inside fine tissue filter. The suction pipe connection ‘A’ to the pump MUST be towards the rear of the unit for the pump to engage.

- Drain bucket
- Pump
- On/Off switch
- Element Lifting Head Release Knob
Weights and Capacities
| Type | 211 | 311 | 411/412 | 422 | 622 | 633 |
| Net weight without options (Kg) | 47 | 56 | 69 | 79 | 98.5 | 98.5 |
| Number of baskets | 1 | 1 | 2 | 2 | 2 | 3 |
| Filling quantity per basket (Kg) | 0.9 | 1.5 | 2 x 0.9 | 2 x 0.9 | 2 x 1.5 | 3 x 0.9 |
| Oil quantity at Minimum (l) | 7.5 | 12.5 | 17 | 2 x 7.5 | 2 x 12.5 | 3 x 7.5 |
| Oil quantity at Maximum (l) | 9 | 14.5 | 20.5 | 2 x 9 | 2 x 14.5 | 3 x 9 |
| Production of frozen chips per hour (Kg) | 17-22 | 27-32 | 34-44 | 34-44 | 54–64 | 51-66 |
| Production of chilled chips per hour (Kg) | 20-25 | 30-35 | 40-50 | 40-50 | 60–70 | 60-75 |
Identification of models
Every fryer is provided with a technical identification plate. Always have this identification plate available when making enquiries to our customer services department.
Ambient conditions
| Type | 211 – 311 – 411 – 412 – 422 – 622 – 633 |
| Minimum Temperature (Deg C) | +5 |
| Maximum Temperature (Deg C) | +60 |
| Maximum Humidity (%) | 60 |
Preparation
Before initial use of the fryer ensure the cleaning steps below are followed and the operator is familiar with the controls and layout of the appliance. Once established, before beginning daily use it is good practice to develop a pre-cooking routine and take a moment
to run through a series of checks – are the buckets and filters in place, is the oil suction pipe located correctly, are the drain valves closed? Following a daily regime specific to your establishment will ensure trouble free operation and help avoid any unwelcome accidents
Initial Operation
Remove any remains of packaging. Strip plastic coating and clean the appliance before first use. Remove the lid of the tank. Take the basket out of the tank. Clean the tank and any accessories with a non-caustic cleaning agent suitable for use in a food area. After cleaning, clean the tank with clean water. Close the drain valve. Remove any residual water with a paper towel. Fill the tank with frying oil to the ‘Max’ level or place the fat for frying on the heating elements. The ‘Min/Max’ level is visible inside the tank.
Warning
This unit is designed to be used with oils and fats in a liquid form. Oils and fats that become solid at lower temperatures must be liquefied prior to cooking. This instruction applies to both filling from empty and topping up during use. If you intend to use the fat melt cycle (FMC) the solid fat should be in contact with the heating element, so the wire mesh plate must be removed. As the initial quantity of fat melts, keep
adding extra fat until the liquefied fat reaches the ‘Max’ level. Replace the wire mesh before frying begins.
Setting up your working station
Ensure you have checked the fry before switching on, is it filled with oil?
Do you need to adjust the oil level by topping up to the line?
Are you happy with the oil quality – older oil will produce darker results
You have all the correct utensils for removing the cooked foods?
Do you have space to work safely?
Getting quality results
Preheat your fryer to the correct temperature for the task. Too hot, and the food will overcook the outside before the centre is cooked To low and the food will become greasy and you will use more oil. Ensure your foods are dry and drained – wet foods cause spitting and foaming and water damages oils. Regularly remove any debris from the oil surface in between batches, as debris will start to degrade the oil quality. Only fry within the recommended basket loading, overloading will reduce oil temperature and encourage oil absorption into the foods. Test the oil quality – older oil becomes more volatile to foaming and the flash point will reduce. Ignition is more likely. Regular routine filtration and flushing of the tank is good working practice. Deep cleaning of the fryer and drain bucket will help maintain the oil life. Keep the oil covered when not in use as we this will extend the oil life. IS797 ECN4557
Using the Fryer
Control panel

- Timer control
- Up arrow
- Down arrow
- Oil pump indicator
- Oil heating indicator
- On/Off
Starting up
Switch the fryer on at the wall socket. Press and briefly hold
If the appliance is fitted with an oil pump will illuminate.
The LED display shows the current oil temperature.
Operation
Set the required temperature using the control knob. heating.
The appliance will be in Fat Melt Cycle until 60 Deg C is reached during which time illumination will pulse. After this heating will be consistent until the required temperature is achieved.
When the required temperature is reached the LED will show one of two readings:
If the appliance has been previously been switched off at the wall socket the LED will show 3 bars (- – -)
If the appliance has been switched off using only the last timer setting. Input the required cooking time using and . Each press increments or decreases the time by 10 seconds.
Holding the buttons down allows faster input. The maximum time limit is 15 minutes, but after 10 minutes the LED display will display the time in .1 increments, each increment representing 10 seconds. Therefore 10.1 is 10 minutes 10 seconds, 10.2 is 10 minutes 20 seconds etc. After 10.5 the next reading will be 11 minutes.
Fill the basket with the correct amount of product and press to start the timer.
If the appliance has a lift, the product will be lowered into the oil and cooking will begin. The LED display will count down and the buzzer will sound at the end of the cooking cycle. The basket will be raised from the oil. The LED display will then reset to show the set time for the next batch.
If the appliance has no lift, lower the product into the oil manually. The LED display will count down and the buzzer will sound at the end of the cooking cycle. Remove the product from the oil. The LED display will then begin counting up, and will continue to show the time incrementing until the timer is reset.
Timer reset can be achieved by pressing any one of buttons
Pump operation
If the appliance is fitted with an oil pump, filtered oil may be pumped back into the tank by following the steps below.
Place the fine tissue holder complete with the fine tissue filter into the location cut-outs in the drain bucket.
Place the stainless steel filter inside the fine tissue filter so that the oil passes through the stainless steel filter first. 
Slide the sprung loaded safety catch across and open the drain valve with the drain lever. Allow the oil to drain into the bucket. Close the drain valve. 
Lift and remove the basket support (A) from the fryer head. 
Fit the oil lance assembly by pushing home the quick release coupling. (To remove after pumping, hold the coupling release down whilst lifting the oil lance assembly up).
If the process is completed before 5 minutes, the pump may be cancelled by pressing
again.
Wear appropriate PPE if removing the lance whilst hot. Wipe down the lance and store.
Draining to an External Receptacle
On models with a pump, waste oil may be drained into an external receptacle ready for disposal by using the flexible drain pipe provided. Allow the oil to cool to below 40 Deg C. Wear PPE protection. Use the quick release couple to connect the flexible pipe to the same connection used for the oil lance. Ensure your receptacle has the capacity to take the full contents of the fryer tank and follow the pumping procedure.
Switching off
All the appliances are pre-set during manufacture. The following parameters may be altered should it be required.
To access control board parameters, switch the appliance on by pressing and briefly holding
Hold down buttons and simultaneously until the LED display shows ‘set’. There are now 9 user adjustable parameters. To cycle through the parameters, press
From the ‘set’ display, the parameters cycle in the order shown below:
| LED | Description |
| Function |
|
| Lift down | Down – | Moves the lift into the down position. Used for packaging and transport. If fitted, lift automatically rises when appliance is switched on. |
| LED | Description | Function | ||
| AC 1/0 | Adaptive control | 0 Off 1 On | Measures the oil temperature. If temperature is low, has an algorithm to extend the cooking time. | |
| LED | Description |
| Function |
| LI 1/0 | Lift (if fitted) | 0 Off 1 On | If the appliance has no lift, leave set to Off |
| LED | Description |
| Function |
| PU 1/0 | Pump | 0 Off 1 On | If the appliance has no pump, leave set to Off |
| LED | Description |
| Function |
| BU 1/0 | Buzzer | 0 Low 1 High | Adjusts buzzer volume |
| LED | Description |
| Function |
| X.XX | Displays the control board code |
To end parameter adjustment, either wait for the LED to return to the original display, or turn the control knob.
Cleaning and Maintenance
Cleaning intervals, daily or according to the duration of use of the appliance.
General cleanliness is essential in all kitchen environments. Always clean the equipment after use, and prepare thoroughly for the cleaning regime before starting i.e. have all cleaning equipment to hand and place out Wet Floor signs.
Caution
Only use non-caustic, non-abrasive cleaner.
Only use non-abrasive cleaning cloths.
Only use cleaners permitted for the food area
Always carry out cleaning work only after the oil and the appliance have cooled down to a temperature level at which no burns can occur.
Frying oil exchange
| Cleaning area | Cleaning work |
| External surfaces and covers | Clean with damp cloth |
| Control panel | Clean with damp cloth |
| Fast coupling (optional pump) | Cleaning agent/hot water |
| Frying tank | Hot water |
| Frying basket | Dishwasher/hot water |
| Frying basket holder | Dishwasher/hot water |
| Frying oil tank cover | Dishwasher/hot water |
| Internal surfaces and covers | Clean with damp cloth |
| Connecting cables | Clean with damp cloth |
| Oil receptacle container | Dishwasher/hot water |
| Deep fryer surrounds | Clean with hard and soft brushes and damp cloths and follow special instructions if necessary |
Periodic checks
| Filtration | Daily or according to intensity of use |
| Exchange | According to the saturation |
Maintenance
We recommend a regular maintenance service by an after sales service company, according to the intensity of use of the equipment.
After-sales service
For help with the installation, maintenance and use of your FriFri equipment, please contact our service department:
For non-UK customers, please contact your local FriFri dealer
All service work, other than routine cleaning should be carried out by one of our authorised service agents. We cannot accept responsibility for work carried out by other persons.
To ensure your service enquiry is handled as efficiently as possible, please tell us: FriFri reserve the right to carry out any work under warranty, given reasonable access to the appliance, during normal working hours, Monday to Friday, 08:30 to 17:00.
GUARANTEE
This unit carries a comprehensive UK mainland 2 year parts and labour warranty, and a 2 year parts only warranty for Export. The guarantee is in addition to, and does not diminish your statutory or legal rights.
The guarantee does not cover:
- Accidental damage, misuse or use not in accordance with the manufacturer’s instructions
- Consumable items (such as filters, glass, bulbs, slot toaster elements and door seals.)
- Damage due to incorrect installation, modification, unauthorised service work or damage due to scale, food debris build-up, etc.
The manufacturer disclaims any liability for incidental, or consequential damages. Attendance is based on reasonable access to the appliance to allow the authorised technician to carry out the warranty work.
Service calls to equipment under warranty will be carried out in accordance with the conditions of sale.
Spare Parts
For spare parts, see the Spare Parts Manual IS805.
Error codes
EU : Element up – Check that the element is correctly positioned fully down in the frying tank.
OH: Over temperature – allow the fryer to cool and retry. If the error persists, call the Service department.
SC: Safety contactor open– allow the fryer to cool and retry. If the error persists, call the Service department.























