INVENTUM SKV0177B Side By Side Fridge

safety instructions
- Carefully and fully read the instruction manual prior to using the appliance and carefully store the manual for future reference.
- Only use this appliance for the purposes described in the instruction. The appliance is suitable for storing food. It is possible to freeze fresh food in the freezer section.
- Only connect the appliance to alternate current, to an earthed wall socket, with a mains voltage that corresponds with the information provided on the information plate of the appliance.
- The appliance falls under protective class I and may only be used in combination with an earthed connection. The manufacturer is not liable for unsuitable operation and possible damage caused by unsuitable electric installations.
- Make sure that children are unable to play with the appliance, such as hide in it. This is dangerous.
- Keep the appliance out of reach of children. Children do not see the dangers when handling electrical appliances. Therefore, never allow children to work with electrical appliances without supervision. Keep the appliance and cord out of reach of children younger than 8 years of age.
- The appliance can be used by children of 8 years and older and persons with a limited physical, sensory or mental capacity or lack of experience or knowledge, provided they use the appliance under supervision or have been instructed about its safe use and understand the hazards involved.
- The appliance may not be cleaned or maintained by children, unless this is done under supervision.
- Do not locate multiple portable socket-outlets or portable power supplies at the rear of the appliance.
- Never bend the power cord sharply or allow it to run across hot parts.
- Make sure that the power supply cable does not get jammed during installation or is running along sharp edges.
- The connection point, socket and/or plug must always be accessible.
- Do not use the appliance if the plug, cord or appliance are damaged, or if the appliance no longer functions properly or if it is damaged in any other way. If this is the case, consult the shop or our technical service. Never replace the plug or cord yourself.
- The appliance must be moved and installed by two or more persons.
- When moving the appliance, do not lift it or pull the doors or handles.
- Be careful when moving the appliance to prevent the floor from getting damaged.
- During installation, do make sure the power cable is not damaged.
- Check that the appliance is not placed too close to a heat source.
- Do not place heat generating appliances such as (microwave) ovens on top of the fridge.
- In order to ensure proper ventilation, a free space of 10 cm should be maintained around the appliance.
- Install the appliance on a sturdy, flat and stable surface.
- Install the appliance in a dry and well ventilated room. The appliance is intended for use in a room where the ambient temperature falls within the applicable class, depending on the climate class found on the information plate on the back of the appliance.
Climate class Ambient temperature SN From 10°C to 32°C N From 16°C to 32°C ST From 18°C to 38°C T From 18°C to 43°C - Never cover the ventilation openings.
- Do not store explosive or highly flammable substances in the appliance. The vapours could cause a fire hazard or an explosion.
- Do not store glass bottles or jars with liquids in the freezer, as they could break when frozen.
- Do not use mechanical, electrical or chemical agents to speed up the defrosting process.
- Repairs to electrical appliances should only be performed by skilled persons.
- Only use the appliance indoors.
- Always remove the plug from the socket when the appliance must be cleaned or repaired.
- Never use the appliance with parts that are not recommended or supplied by the manufacturer.
- Do not pull the cord and/or appliance to remove the plug from the wall socket. Never touch the plug with wet or moist hands.
- Be careful with ice cubes and ice pops. If these are consumed directly out of the freezer, there is a risk of frostbite.
- Never submerge the appliance, cord or plug in water.
- Never clean the appliance with a high pressure cleaner or steam cleaner.
- The appliance cannot be used with a timer or separate remote control.
- This appliance is intended for household and similar use, such as:
- in staff kitchens, shops, offices and other work environments;
- by guests of hotels, motels and other residential environments;
- in Bed&Breakfast type environments;
- farms.
- If the appliance is not used as intended, no compensation can be claimed in case of defects or accidents and the warranty will be invalidated.
- Legislation requires that all electrical and electronic equipment must be collected for reuse and recycling. Electrical and electronic equipment marked with the symbol indicating separate collection of such equipment must be returned to a municipal waste collection point.
Refrigerant
The refrigerant isobutene (R600a) is contained within the refrigerant circuit of the appliance, a natural gas with a high level of environmental compatibility, which is nevertheless flammable. During transportation and installation of the appliance, ensure that none of the components of the refrigerant circuit becomes damaged. The refrigerant (R600a) is flammable.
WARNING: Refrigerators contain refrigerant and gases in the insulation. Refrigerant and gases must be disposed of professionally as they may cause eye injuries or ignition. Ensure that tubing of the refrigerant circuit is not damage prior to proper disposal.
WARNING: Risk of fire/ flammable materials If the refrigerant circuit should be damaged:
- Avoid open flames and sources of ignition.
- Thoroughly ventilate the room in which the appliance is situated. It is dangerous to alter the specifications or modify this product in any way. Any damage to the cord may cause a shortcircuit, fire, and/or electric shock.
product description
- Door – freezer section
- Interior lighting
- Control unit with interior lighting
- Door – cooler section
- Door compartment
- Glass shelves
- Adjustable feet
- Vegetable drawer
- Freezer drawer

REQUIRED SPACE FOR PLACEMENT
Ensure sufficient room to be able to open the door.
Caution: the appliance is not suitable for use as a built-in appliance.
using the appliance for the first time
Before using the appliance for the first time, you should proceed as follows: carefully unpack the appliance and remove all packaging material and any promotional stickers. Keep the packaging (plastic bags, polystyrene and cardboard) out of the reach of children. After unpacking the appliance, carefully check it for external damage that may have occurred during transport. Place the appliance on a sturdy, flat surface and make sure there is enough space all around for sufficient ventilation. A minimum space of 10 cm is required between the appliance and the surrounding walls. In this way the appliance is able to release heat properly, cool well and function in an energy efficient way. Do not place the appliance near heat sources such as central heating or a stove. Do take note of the climate class of the appliance. When placed in a room that is too cold, the refrigerator will not function properly.
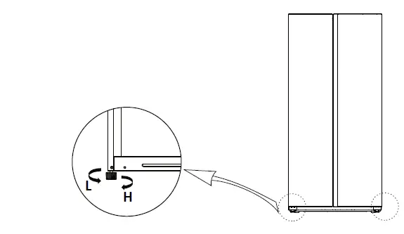
- You can use the adjustable feet to the left and right to level the appliance.
- Turn the adjustable feet clockwise to raise the appliance.
- Turn the adjustable feet counter-clockwise to lower the appliance.
After placing the appliance, leave it for at least 3 hours before inserting the plug in the socket. 
First clean the interior of the appliance. Use warm soapy water with, for instance, washing-up liquid, all-purpose cleaner or soda. Wipe the inside of the appliance after cleaning with clean water and properly wipe everything dry. Leave the appliance to dry for 1 to 2 hours.
ALIGNING THE DOORS
When the doors of the appliance have been aligned correctly in relation to the top side of the appliance, it is possible to adjust the height. If necessary, take the following steps: Important: the maximum height adjustment is 5 mm. Loosen the lock nut by two clockwise turns using an open-end wrench. Now it is possible to turn the adjusting nut in order to move the door up or down. When the door is in the correct position, tighten the lock nut again, anti-clockwise.
When the door is too low:
Open the door, use an open-end wrench to loosen the lock nut and turn the adjusting nut anti-clockwise to move the door upwards. When the door is in the correct position, tighten the lock nut again, anti-clockwise.
When the door is too high:
Open the door, use an open-end wrench to loosen the lock nut and turn the adjusting nut clockwise to move the door downwards. When the door is in the correct position, tighten the lock nut again, anti-clockwise.
use
The control unit of the appliance is located on the inside of the cooler section. Check that the voltage corresponds with the voltage stated on the informa-tion plate and insert the plug in the socket. When you insert the plug in the socket, the entire control panel will light up for approximately 3 seconds, after which the appliance starts to cool and freeze at 5°C/-18°C respectively.
The appliance will cool continuously until the set temperature has been reached. Allow the appliance to reach the required temperature with no food. Usually this will take 2 to 3 hours. After that, you can set the thermostat to the required position and fill the appliance with food. If the ambient temperature rises, set the appliance to a lower temperature position in order to be able to guarantee the interior temperature. Remove the plug from the socket to switch off the appliance.
Adjusting the temperature
Press the thermostat knob to set the required temperatures in the cooler and freezer section. The temperature of the cooler section is shown by default. After each press on the thermostat knob, the accompanying LED flashes for 3 seconds. After 30 seconds, the appliance will cool at the set temperature. In order to change from the cooler section settings to the freezer section settings you must hold the thermostat knob for 3 seconds.
COOLER SECTION
The temperature of the cooler section can be set to the following positions:
On the SUPER COOL position, LEDs 4 and 6 light up at the same time.
FREEZER SECTION
The temperature of the freezer section can be set to the following positions:
On the SUPER FREEZE position, LEDs 1 and 3 light up at the same time.
Super cool
Use this mode when the appliance is getting warmer and no longer cools properly due to extremely hot weather, frequently opening the door or placing
a large quantity of food in the appliance at once. This setting remains active for maximum 6 hours. After that, the appliance will cool at the previously set temperature.
Super freeze
Use this mode to super freeze food that is not yet frozen. In order to be able to freeze fresh food quickly, it is recommended to lower the temperature of the freezer section in time, such as 12 hours in advance. This setting remains active for maximum 24 hours. After that, the appliance will freeze at the previously set temperature.
tips
- High ambient temperatures have a negative effect on energy use. Keep the appliance in a position away from direct sunlight or other sources of heat.
- Keep ventilation openings free. Clogged openings lead to higher use of energy.
- Try not to open the door too often, especially when the weather is wet and hot. Once you open the door, mind to close it as soon as possible.
- The space between the shelves and the rear wall of the refrigerator compartment must be unobstructed to allow the cool air to circulate. Therefore don’t place any food items against the back.
- Turn the thermostat to a lower setting when the circumstances allow it.
- Before storing fresh cooked food, make sure the food has cooled at least to room temperature.
- If the gasket is damaged or if it turns out that the sealing is poor, the energy consumption is substantially higher. To restore efficiency, replace the gasket.
- Always consider the instructions, otherwise the energyconsumption is substantially higher.
To avoid contamination of food, please respect the following instructions
- Opening the door for long periods can cause a significatn increase of the temperature in the compartments of the appliance.
- Clean regularly surfaces that can come in contact with food and accessible drainage systems.
- Store raw meat and fish in suitable containers in the refrigerator, so that it is not in contact with or drip onto other food.
- Two-star frozen-food compartments are suitable for storing pre-frozen food, storing or making icecream and making ice cubes.
- One-, two- and three-start compartments are not suitable for the freezing of fresh food.
| Order | Compartments TYPE | Target storage temp. [°C] | Appropriate food |
| 1 | Fridge | +2 ≤ +8 | Eggs, cooked food, packaged food, fruits and vegetables, dairy products, cakes, drinks and other foods are not suitable for freezing. |
| 2 | (***)*-Freezer | ≤-18 | Seafood (fish, shrimp, shellfish), freshwater aquatic products and meat products (recommended for 3 months, the longer the storage time, the worse the taste and nutrition), suitable for frozen fresh food. |
| 3 | ***-Freezer | ≤-18 | Seafood (fish, shrimp, shellfish), freshwater aquatic products and meat products (recommended for 3 months, the longer the storage time, the worse the taste and nutrition), suitable for frozen fresh food. |
| 4 | **-Freezer | ≤-12 | Seafood (fish, shrimp, shellfish), freshwater aquatic products and meat products (recommended for 3 months, the longer the storage time, the worse the taste and nutrition), suitable for frozen fresh food. |
| 5 | *-Freezer | ≤-6 | Seafood (fish, shrimp, shellfish), freshwater aquatic products and meat products (recommended for 3 months, the longer the storage time, the worse the taste and nutrition), suitable for frozen fresh food. |
| 6 | 0-star | -6 ≤ 0 | Fresh pork, beef, fish, chicken, some packaged processed foods, etc. (Recommended to eat within the same day, preferably no more than 3 days). Partially encapsulated processed foods (non-freezable foods). |
| 7 | Chill | -2 ≤ +3 | Fresh/ frozen pork, beef, chicken, freshwater aquatic products, etc. (7 days below 0°C and above 0°C is recommended for consumption within that day, preferably no more than 2 days). Seafood (less than 0 for 15 days, it is not recommended to store above 0°C. |
| 8 | Fresh food | 0 ≤ +4 | Fresh pork, beef, fish, chicken, cooked food, etc. (Recommended to eat within the same day, preferably no more than 3 days) |
| 9 | Wine | +5 ≤+20 | Red wine, white wine, sparkling wine, etc. |
Note: please store different foods according to the compartments or target storage temperature of your purchased products.
- If the refrigerating appliance is left empty for long periods, switch off, defrost, clean, dry, and leave the door open to prevent mould developing within the appliance. Water dispenser cleaning (special for water dispenser products):
- Clean water tanks if they have not been used for 48 h; flush the water system connected to a water supply if water has not been drawn for 5 days.
WARNING -Food needs to be packed in bags before putting into the refrigerator, and liquids need to be packed in bottles or capped containers to avoid the problem that the product design structure is not easy to clean.
cleaning and maintenance
Before cleaning the appliance always unplug the appliance. Clean the interior of the appliance. Use warm soapy water with, for instance, washing-up liquid, all-purpose cleaner or soda in order to prevent nasty smells. Wipe the inside of the appliance after cleaning with clean water and properly wipe everything dry. Leave the appliance to dry for 1 to 2 hours. The shelves, drawers and door compartments can be removed from the appliance easily and washed by hand. These components may never be cleaned in the dishwasher. For areas that are difficult to clean in the refrigerator, such as narrow gaps or corners, it is recommended to wipe themregularly with a soft rag, soft brush, etc. When necessary use some auxiliary tools, such as thin sticks (tooth picks), to ensure no contamination can accumulate in these areas. Clean the outside of the refrigerator and the door gasket with mild soap and water. Use a soft moist cloth. We recommend that you dust the back of the appliance and on the floor with a cloth or vacuum cleaner once a year in order to maintain a good output and low energy consumption. Do not use hard brushes, cleaning steel wire balls, wire brushes, abrasives, such as toothpastes, organic solvents (such as alcohol, acetone, oils, etc.), boiling water, acid or alkaline items to clean the refrigerator considering that this may damage the fridge surface and interior. Boiling water and benzene may deform or damage plastic parts.
DEFROSTING
The freezer compartment of the appliance is frost-free – no-frost. With proper use, there should not be any frost accumulated. However, in case of improper use of the freezer compartment, frost might build up in the freezer compartment after the appliance has been used for a period of time. Defrost the freezer compartment when the layer of ice reaches a thickness of 3 mm. Keep the contents of the freezer in a cool place and wrapped in blankets or newspapers. Switch the thermostat off. Defrost the freezer compartment. You can speed up the defrosting process by placing a bowl of hot water in the freezer. Do not use sharp metal objects for this operation. They could puncture the refrigerator circuit and cause irreparable damage to the unit. Use a plastic scraper. Clean and dry the freezer. Plug the appliance in and set the thermostat to the desired temperature setting. When the freezer compartment reaches its correct temperature, replace the food items.
Warning: Never remove the ice with the aid of sharp objects, defrost sprays, a hair drier, a heater, or similar items. This may lead to unsafe situations and may cause irreparable damage to the appliance
REPLACING THE LED LIGHTING
This appliance is equipped with a LED light bulb. It can be used for a long time. In case, the LED bulb is blown, it must be replaced by a qualified person to avoid any hazard. Contact the Inventum service department.
Inventum Huishoudelijke Apparaten B.V.
- Postbus 5023
- 6802 EA Arnhem
- www.inventum.eu
- facebook.com/inventum1908
- pinterest.com/inventum1908
- youtube.com/inventum1908
- instagram.com/inventum1908
- www.inventum.eu




















