
OWNER’S MANUAL
MODEL
DIM32D1BSSPR

1-844-455-6097
Danby Products Limited, Guelph, Ontario Canada N1H 6Z9
Danby Products Inc., Findlay, Ohio US A 45840
2018.06.04
Welcome
Welcome to the Silhouette family. We are proud of our quality products and we believe in dependable service. We suggest that you read this owner’s manual before plugging in your new appliance as it contains important operation information, safety information, troubleshooting, and maintenance tips to ensure the reliability and longevity of your appliance. Visit www.SilhouetteAppliances.com to access self-service tools, FAQs, and much more. For additional assistance call 1-844-455-6097. Note the information below; you will need this information to obtain service under warranty. You must provide the original purchase receipt to validate your warranty and receive service.
Need Help?
Before you call for service, here are a few things you can do to help us serve you better read this owner’s manual: It contains instructions to help you use and maintain your appliance properly. If you receive a damaged appliance: Immediately contact the retailer or builder that sold you the appliance. Save time and money: Check the troubleshooting section at the end of this manual before calling. This section will help you solve common problems that may occur.
![]()
Important Safety Information READ AND FOLLOW ALL SAFETY INSTRUCTIONS
SAFETY REQUIREMENTS
DANGER: Risk of fi re or explosion. Flammable refrigerant used. Do not puncture refrigerant tubing.
- Do not use mechanical devices to defrost the refrigerator.
- Ensure that servicing is done by factory authorized service personnel, to minimize product damage or safety issues.
WARNING: Keep ventilation openings, in the appliance enclosure or in the built-in structure, clear of obstruction.
WARNING: Do not use mechanical devices or other means to accelerate the defrosting process, other than those recommended by the manufacturer.
WARNING: Do not damage the refrigerant circuit.
WARNING: Do not use electrical appliances inside the food storage compartments of the appliance, unless they are of the type recommended by the manufacturer.
CAUTION: Risk of fi re or explosion. Flammable refrigerant used. - Consult repair manual or owner’s guide before attempting to service this product. All safety precautions must be followed.
- Dispose of properly in accordance with federal or local regulations.
- Follow handling instructions carefully.
CAUTION: Children should be supervised to ensure that they do not play with the appliance.
DANGER: Risk of child entrapment. Before throwing away an old appliance: - Remove the door or lid.
- Leave shelves in place so that children may not easily climb inside.
WARNING: Fill with potable water only.
SAFETY REQUIREMENTS
This appliance is not intended for use by persons (including children) whose physical, sensory, or mental capabilities may be different or reduced, or who lack experience or knowledge unless such persons receive supervision or training to operate the appliance by a person responsible for their safety.
GROUNDING INSTRUCTIONS
This appliance must be grounded. Grounding reduces the risk of electrical shock by providing an escape wire for the electrical current.
This appliance has a cord that has a grounding wire with a 3-prong plug. The power cord must be plugged into an outlet that is properly grounded. If the outlet is a 2-prong wall outlet, it must be replaced with a properly grounded 3-prong wall outlet. The serial rating plate indicates the voltage and frequency the appliance is designed for.
WARNING – Improper use of the grounding plug can result in a risk of electric shock. Consult a qualifi ed electrician or service agent if the grounding instructions are not completely understood, or if doubt exists as to whether the appliance is properly grounded.
Do not connect your appliance to extension cords or together with another appliance in the same wall outlet. Do not splice the power cord. Do not under any circumstances cut or remove the third ground prong from the power cord. Do not use extension cords or ungrounded (two prongs) adapters.
If the power supply cord is damaged, it must be replaced by the manufacturer, its service agent, or a similar qualifi ed person in order to avoid a hazard.
SAVE THESE INSTRUCTIONS!
INSTALLATION INSTRUCTIONS
LOCATION
- Two people should be used when moving the appliance.
- Remove interior and exterior packaging prior to installation. Wipe the outside of the appliance with a soft, dry cloth and the inside with a lukewarm wet cloth.
- Place the appliance on a fl door that is strong enough to support it when it is fully loaded.
- Do not place the appliance in direct sunlight or near sources of heat, such as a stove or heater, as this can increase electrical consumption. Extreme cold ambient temperatures may also cause the appliance to perform improperly.
- This appliance is intended for household use only. It is not designed for outside installation, including anywhere that is not temperature controlled (garages, porches, vehicles, etc.).
- Before connecting the appliance to a power source, let it stand upright for approximately 6 hours. This will reduce the possibility of a malfunction in the cooling system from handling during transportation.
- This appliance is 15 inches (38 cm) wide by 34.3 inches (87 cm) high by 24.2 inches (61.4 cm) deep.
- The ice maker should be placed in an area where the ambient temperature is between 54°F – 95°F (12°C – 35°C). If the ambient temperature is above or below this range the performance of the appliance may be affected.
FRONT VENT
This appliance is front-breathing. Do not block the front air vent as this will result in high operating temperatures, higher energy usage, and possible system overheating and failure.
LEVELING INSTRUCTIONS
There is an adjustable leg on the bottom of the appliance that can be turned up or down to ensure that the appliance is level. It is important that the appliance is level to minimize noise and vibration. To level the appliance:
- Move the appliance to its fi nal location.
- Turn the leveling leg counter-clockwise as far as it will go, until the top of the foot is touching the bottom of the chassis
- Slowly turn the leveling leg clockwise until the appliance is level.

PREPARING THE ENCLOSURE
Gloves and safety goggles should be worn during installation. It is not recommended to install the appliance into a corner or directly beside a wall. The door will need to be opened more than 90° to allow for the removal of the ice bucket. If it is necessary to place the unit next to a wall or in a corner, leave at least 2-4 inches (5-10 cm) of space between the wall and the appliance to allow for the door opening. The cabinet opening must be at least 15 inches (38 cm) wide by 35 inches (88.9 cm) high by 25 inches
(63.5 cm) deep.
Note: The listed depth requirement is assuming that the electrical outlet and the water supply are located in the adjacent cabinetry or fl ush mounted in the rear wall, not surface mounted inside the enclosure.
If the electrical outlet and water supply are located inside adjacent cabinetry, cut a 1.5 inch (3.8 cm) diameter hole to admit the power cord and water inlet hose. If the cabinet wall is metal, the hole edge must be covered with a bushing or grommet.
REQUIRED TOOLS
- Safety goggles
- Gloves
- Tape measure
- Carpenter square
- Level
- Flashlight
- Electric drill with a hole bit

WATER INLET HOSE INSTALLATION
WARNING To avoid electrical shock, which can cause death or severe injury, ensure the ice maker is not plugged in before connecting the water supply line.
Plastic tubing is not recommended for the inlet hose as it greatly increases the potential for water leaks. The manufacturer will not be responsible for any damage if plastic tubing is used for the water supply line. Do not install water supply tubing in areas where temperatures fall below freezing. Ensure the ice maker is connected to a potable
water source that is not tied into a water softening system. Chemicals from the water softener may damage the ice maker. Ensure that the water supply line complies with all local plumbing codes.
Required Tools
- Adjustable wrench
- Flat blade screwdriver
- A household cold water line with water pressure between 20 and 60 psi.
- A water supply hose made of 1/4 inch (6.4 mm) OD copper tubing. To determine the length of copper tubing needed, measure the distance from the ice maker inlet valve at the back of the appliance to the cold water supply, then add approximately 3 feet (0.9 meters) so that the ice maker can be moved out of the cabinet for cleaning.
- A shut-off valve to connect the water supply line to the household water system. Do not use a self-piercing type of shut-off valve.
- A compression nut and ferrule (sleeve) for connecting the water supply line to the ice maker inlet valve.
- A clamp and a number 8, 1/2” screw to secure the waterline.
Connecting the Water Supply
- Ensure the ice maker is disconnected from the power supply.
- Place the end of the house water supply line into a sink or bucket. Turn on the water supply and fl use the supply line until the water is clear. Turn off the water supply at the shut-off valve.
- Remove the plastic cap from the water inlet valve on the back of the ice maker.
- Slide the brass compression nut and the ferrule (sleeve) onto the water supply line.
- Push the water supply line into the water valve inlet as far as it will go, approximately 1/4”. Slide the ferrule (sleeve) into the water valve inlet and tighten the compression nut onto the valve. Tighten another half turn with a wrench. Do not overtighten.
- Secure the water line to the back of the appliance using the clamp and screw.
- Coil approximately 3 feet of water supply line behind the ice maker and arrange the coils so that they do not vibrate or wear against any surface.
- Turn on the water supply at the shut-off valve and tighten any connections that leak.

DRAIN HOSE INSTALLATION
It is important to note that this appliance maintains temperatures slightly above freezing to ensure that the ice will break up into usable blocks when it falls into the bucket. This also means that the ice will melt over time if it is not used immediately. For this reason, one of the following three drain options must be selected.
A – manual drain
B – continuous drain
C – drain pump
A braided drain hose is provided in the accessory bag. Ensure that the drain hose does not get kinked or bent during the installation process.
Option A – Manual Drain
The manual drain method can be used if there is no appropriate drain in the room that the appliance can be connected to. When using this option, melted water will fi ll the ice bucket inside the appliance and must be manually removed. No drain hose is attached to the appliance. The water level inside the ice maker will need to be periodically checked and then manually removed when it fi lls the ice bucket. Water can be removed by either removing the bucket from the appliance and emptying it into a sink or drain or by removing the drain cap and seal from the front of the bucket and allowing the water to drain into a second receptacle.
Note: The ice maker is refrigerated but it is not a freezer. Any ice that is created will eventually melt and fi ll the ice bucket with water. If there is no drain hose installed, the appliance must be regularly and manually drained to ensure that new ice will continue to be created. When using the manual drain option, ensure that the drain pump switch on the back of the appliance is set to “OFF”.
Option B – Continuous Drain
In the continuous drain method, water will be removed from the appliance by means of gravity alone. This option is useful if there is a nearby drain in the fl poor.
- Use the drain hose provided in the accessory bag.
- Attach the drain hose to the continuous drain outlet near the bottom of the appliance.
- Direct the other end of the drain hose to a fl our drain.
- Remove the rear drain seal and the rear drain cap from the back of the bucket to allow melted water from the bucket to fl ow into the internal water tank, which will then drain through the hose. The drain hose must angle downward from the back of the appliance or water will back up into the appliance and may cause a leak. When using the continuous drain option, ensure that the drain pump switch on the back of the appliance is set to “OFF”.

Option C – Drain Pump
Using the drain pump option is encouraged if there is no nearby fl our drain that can be used. Using the pump allows the drain hose to be angled in any direction.
- Use the drain hose provided in the accessory bag.
- Attach the drain hose to the pump drain outlet on the back of the appliance.
- Direct the other end of the drain hose to a drain.
- Remove the rear drain seal and the rear drain cap from the back of the bucket to allow melted water from the bucket to fl ow into the internal water tank, which will then drain through the hose. When using the continuous drain option, ensure that the drain pump switch on the back of the appliance is set to “ON”.

DRAINING THE APPLIANCE
If the appliance will be cleaned or if it will not be used for a long period of time, it should be completely drained of all water.
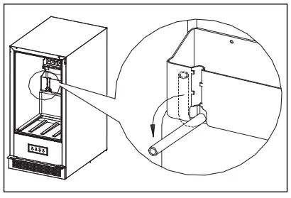
Turn off the water supply and remove the ice bucket. On the inner back wall of the appliance, there is a rubber tube connected to the interior water tank. Gently unhook the tube and lower it toward the drain port at the back of the ice maker cabinet to allow the water inside the appliance to drain.
Note: Do not leave the appliance unattended while it is draining. Water fl ow can overwhelm the drain and may leak from the front of the cabinet. It is advisable to slightly raise the front of the cabinet while draining to avoid this issue.

CONTINUOUS WATER CIRCULATION
This appliance operates using a continuous water cycle that produces very little waste.
When the appliance is operating and the internal water container is low, new water is allowed into the appliance from the water source. The water
tank fi as up and the recirculation pump cycles water over the evaporator tray until ice is produced. This process is continuous as long as the appliance is turned on and the water source is connected.
Any water that enters the drain at the bottom of the ice maker is not recycled, it is drained through the drain hose, or is it collected in the ice bucket if no rain hose is connected. This ensures that new ice is always created with clean water.
OPERATING INSTRUCTIONS
FEATURES – FRONT
- Ice bucket
- Bottom board of ice bucket
- Front drain cap
- Front drain seal
- Water level indicator
- Rear drain seal
- Rear drain cap

FEATURES – REAR
- Drain pump switch
- Water inlet
- Drain pump outlet
- Drain pump cap
- Direct drain outlet
- Direct drain cap
- Braided drain hose (not pictured)

FEATURES – INTERNAL
- Continuous drain water tank
- Internal water tank

CONTROL PANEL
Ice cube sizes differ by density and not volume. A large ice cube is the same size as a small ice cube but contains more frozen water.
- Small ice cube button
- Medium ice cube button
- Large ice cube button
- Power button

The ice maker is automatically set to make medium ice. To change the size of the created ice, press the desired ice size button.
To stop making ice but to keep the appliance on standby, press and hold the power button for 3 seconds. The power indicator light will fl ash to indicate standby mode. Do not leave the appliance in standby mode for more than 6 hours. To resume making ice, press the power button again.
This appliance can produce up to 32 lbs. of ice daily. The ice bucket capacity is 25 lbs.
When new ice is created, remove it from the appliance and place it in a freezer for long-term storage.
WATER FILTER
It is highly recommended to use a water fi later on the water source connected to this appliance. A water fi later works to remove sediments such as dirt, rust, and other debris that are not visible to the naked eye but which exist in all water sources. These contaminants can negatively affect the quality of the ice produced and can increase wear and tear on the appliance.
DOOR REVERSAL INSTRUCTIONS
If the appliance is placed on its back or side for any length of time during this process, it must be allowed to remain upright for 6 hours before plugging it in to avoid damage to the internal components.
![]() | ![]() | ![]() |
- Open the door to a 90° angle and remove two screws from the door axis.
- Slide the bottom of the door outward to remove it from the cabinet.
- Remove three screws from the top right hinge and remove the right top hinge.
- Remove the screw hole covers from the top left of the cabinet and install the top left hinge at the top left of the cabinet with three screws. Block the holes at the top right of the cabinet with the screw hole covers.
- The lower left hinge is pre-installed on the cabinet.
- When reinstalling the door, it will need to be fl ripped 180° from its original position to ensure that the handle is on the correct side. Install the door by sliding it onto the top hinge pin.
- Replace the door axis by placing the hinge pin in the bottom of the door and securing it to the bottom left hinge with two screws. Ensure the top of the door is properly aligned with the top of the cabinet and that the rubber gasket makes a good seal with the cabinet all the way around.
A. Bottom Right Hinge
B. Door Axis Screws
C. Door Axis
D. Top Right Hinge
E. Hinge Screws
F. Top Left Hinge
G. Screw Hole Cover
H. Bottom Left Hinge
CARE & MAINTENANCE
CLEANING CYCLE
The frequency of cleaning cycles will be determined by the amount of use and the hardness of the water supply.
- Turn off the water supply to the appliance.
- Wait for any remaining ice inside the appliance to melt from the evaporator into the bucket, then discard.
- Turn the appliance off.
- Completely drain the appliance of all water using the draining instructions.
- Use a sterile brush to scrape or loosen any hard water build-up on the internal water tank, the ice bucket, the cover board, and the direction plate.
- Fill the internal water tank with a cleaning solution that is equal parts water and vinegar.
- Turn the water supply and the appliance back on.
- Allow the appliance to make 6 or 7 batches of ice. Discard all of this ice.
- Turn off the water supply and the appliance.
- Completely drain the appliance of all water a second time using the draining instructions. This is done to remove any residual cleaning solution inside the water tank.
- Turn the water supply and the appliance back on.
- Allow the appliance to make 2 or 3 batches of ice. Discard all of this ice a second time to avoid any ice that may have a residual cleaning solution.
To clean the inside of the appliance, use a soft cloth and a solution of a tablespoon of baking soda to one quart of water or some mild detergent.
Clean the outside with a soft, damp cloth and some mild detergent.
Note: Do not use cleaners containing ammonia or alcohol on the appliance. Ammonia or alcohol can damage the appearance of the appliance. Never use any commercial or abrasive cleaners or sharp objects on any part of the appliance.
POWER FAILURE
In the event of a power failure, the drain may not operate. If the power is out for an extended period of time, this could result in water leakage and fl or damage due to melting ice.
It is strongly recommended that if the appliance will not be used or will be left unattended for more than 48 hours, it should be drained of water and turned off to avoid possible water leakage due to a power failure.
MOVING
• Ensure that all water is drained.
• Turn the adjustable leg up to the base to avoid damage.
• Tape the door shut.
• Be sure the appliance stays in the upright position during transportation.
• Protect the outside of the appliance with a blanket or similar item.
• If the appliance is placed on its back or side during transportation, upon reaching the destination, allow it to remain upright for 6 hours before plugging in to avoid damage to the internal components.
DISPOSAL
This appliance may not be treated as regular household waste, it should be taken to the appropriate waste collection point for the recycling of electrical components. For information on local waste collection points, contact your local waste removal agency or government offi ce.
TROUBLESHOOTING
Silhouette Consumer Care: 1-844-455-6097 Hours of operation: Monday to ‘Thursday 8:30 am – 6:00 pm Eastern Standard Time Friday 8:30 am – 4:00 pm Eastern Standard Time Information in this manual is subject to change without notice. |
| PROBLEM | POSSIBLE CAUSE |
| No power | • A fuse may be blown or the circuit breaker tripped • Plug not fully inserted into the wall outlet |
| The ice is not big enough or melts too quickly | • Door is not shut properly or opened excessively • Close proximity to a heat source or direct sunlight • Ambient temperature or humidity is very high • Chosen ice size setting is too small |
| Water leakage | • The water inlet connection is leaking • The drain hose connection is leaking • The drain caps on the ice bucket are not completely closed |
| Excessive noise or vibrations | • The appliance is not level |
| Ice maker alarm is sounding | • Internal water tank is full • Not enough water entering the appliance from the water inlet |
| INDICATOR LIGHT | DESCRIPTION | POSSIBLE CAUSE |
|
| |
| Flashing and beeping | The water tank is full; drain appliance of excess water or ensure that the drain pump is tutted on to resume normal functioning | |
| Flashing | The ice bucket is full of ice; remove excess ice to resume normal functioning | |
| Flashing | Sensor failure; contact an authorized service technician | |
| Flashing | The appliance is low on water; check that the water supply is functioning normally | |
| Flashing | Sensor failure; contact an authorized service technician |
LIMITED “IN-HOME” WARRANTY

This quality product is warranted to be free from the manufacturer’s defects in material and workmanship, provided that the unit is used under the normal operating conditions intended by the manufacturer.
This warranty is available only to the person to whom the unit was originally sold by Danby Products Limited (Canada) or Danby Products Inc. (U.S.A.) (hereafter “Danby”) or by an authorized distributor of Danby, and is non-transferable.
TERMS OF WARRANTY
Plastic parts are warranted for thirty (30) days from the date of purchase, with no extensions provided.
First, 24 months
During the first twenty-four (24) months, any functional parts of this product found to be defective will be repaired or replaced, at the warrantor’s option, at no charge to the original purchaser.
To obtain service
Contact the dealer where the unit was purchased, or contact the nearest authorized Danby service depot, where service must be performed by a qualified service technician. If service is performed on the unit by anyone other than an authorized service depot, all obligations of Danby under this warranty shall be void.
Boundaries of in-home service
Danby reserves the right to limit the boundaries of “In-Home Service” to the proximity of an authorized service depot. Any appliance requiring service outside the limited boundaries of “In-Home Service”, will be the consumer’s responsibility to transport at their own expense to the original point of purchase or a service depot for repair. If the appliance is installed in a location that is 100 kilometers (62 miles) or more from the nearest service center, it must be delivered to the nearest authorized Danby Service Depot by the purchaser.
Transportation charges to and from the service location are not protected by this warranty and are the responsibility of the purchaser.
Nothing within this warranty shall imply that Danby will be responsible or liable for any spoilage or damage to food or other contents of this appliance, whether due to any defect of the appliance, or its use, whether proper or improper.
EXCLUSIONS
Save as herein provided, by Danby, there are no other warranties, conditions, representations or guarantees, express or implied, made or intended by Danby or its authorized distributors and all other warranties, conditions, representations or guarantees, including any warranties, conditions, representations or guarantees under any Sale of Goods Act or like legislation or statute is hereby expressly excluded. Save as herein provided, Danby shall not be responsible for any damages to persons or property, including the unit itself, howsoever caused or any consequential damages arising from the malfunction of the unit and by the purchase of the unit, the purchaser does hereby agree to indemnify and hold harmless Danby from any claim for damages to persons or property caused by the unit.
GENERAL PROVISIONS
No warranty or insurance herein contained or set out shall apply when damage or repair is caused by any of the following:
- Power failure.
- Damage in transit or when moving the appliance.
- An improper power supply such as low voltage, defective house wiring, or inadequate
- Accident, alteration, abuse, or misuse of the appliance such as inadequate air circulation in the room or abnormal operating conditions (ie. extremely high or low room temperature).
- Use for commercial or industrial purposes (ie. If the appliance is not installed in a domestic residence).
- Fire, water damage, theft, war, riot, hostility, acts of God such as hurricanes, floods, etc.
- Service calls result in customer education.
- Improper Installation (ie. Building-in of a free-standing appliance or using an appliance outdoors that is not approved for outdoor application, including but not limited to: garages, patios, porches, or anywhere that is not properly insulated or climate-controlled).
Proof of purchase date will be required for warranty claims; retain bills of sale. In the event that warranty service is required, present the proof of purchase to our authorized service depot.
Warranty Service
In-home
Danby Products Limited
PO Box 1778, Guelph, Ontario, Canada N1H 6Z9
Telephone: (519) 837-0920 FAX: (519) 837-0449
Danby Products Inc.
PO Box 669, Findlay, Ohio, U.S.A. 45840
Telephone: (419) 425-8627 FAX: (419) 425-8629
1-800-263-2629
1-844-455-6097





















