BEKA BA314G Tachometers Intrinsically Safe

DESCRIPTION
The BA314G is a field mounting intrinsically safe Tachometer which will function with a wide variety of sensors. The instrument displays speed plus the run-time of the machinery being monitored. This abbreviated instruction sheet is intended to assist with installation, a comprehensive instruction manual describing safety certification, system design and configuration may be downloaded from the BEKA website or may be requested from the BEKA sales office. The BA314G Tachometer has IECEx, ATEX, UKEX, ETL and cETL intrinsic safety certification for use in flammable gas and dust atmospheres. The certification information label, which is located on the top of the instrument assembly, shows the certification numbers and codes. Other certifications may be shown. Copies of certificates may be downloaded from the BEKA website.

Typical certification information label
INSTALLATION
The BA314G Tachometer has a robust IP66 glass reinforced polyester (GRP) carbon loaded enclosure incorporating an armoured glass window & stainless steel fittings. It is suitable for exterior surface mounting in most industrial environments, or pipe mounting using an accessory kit. If the enclosure is not bolted to an earthed post or structure, the earth terminal on the cable entry bonding plate, which may be assembled on the inside or outside of the enclosure, should be connected to local earthed metalwork or to the plant’s potential equalising conductor. Terminals A1, A2, A3 and A4 are only fitted when the Tachometer includes optional alarms. Similarly terminals C1, C2, C3 and C4 are only fitted when the instrument has an optional 4/20mA output. See full manual for details.
- Step A Unscrew the four captive ‘A’ screws and separate the indicator assembly and the back-box.
- Step B Secure the enclosure back-box to a flat surface with M6 screws through the four ‘B’ holes. Alternatively use a pipe mounting kit.
- Step C Remove the temporary hole plug and install an appropriate IP rated cable gland or conduit fitting. Feed the field wiring through the cable entry.
- Step D Terminate field wiring on the instrument assembly. Replace the assembly on the enclosure back-box and tighten the four ‘A’ screws.
Abbreviated Instruction for BA314G intrinsically safe field mounting Tachometer


EMC
For specified immunity all wiring should be in screened twisted pairs with screens earthed at one point within the safe area.

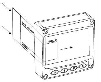
Scale card
The instrument’s units of measurement and tag information are shown above the display on a slide-in scale card. New instruments are fitted with a scale card showing the information specified when the instrument was ordered, if this was not provided a blank scale card will be fitted which can easily be marked on-site. Custom printed scale cards are available from BEKA associates. To remove the scale card carefully pull the tab perpendicularly away from the instrument assembly. See Fig 2 for the location of the scale card tab.

To replace the scale card carefully insert it into the slot shown in Fig 2. Force should be applied evenly to both sides of the scale card to prevent it twisting. The card should be inserted until about 2mm of the transparent tab remains protruding.
CONFIGURATION
Tachometers are supplied configured as requested at time of ordering, if not specified default configuration will be supplied but can easily be changed on-site. Fig 5 shows the location of each functionwithin the configuration menu with a brief summary of the function. Please refer to the full instruction manual for detailed configuration information and for description of optional outputs. Access to theconfiguration menu is obtained by pressing the ( and ) buttons simultaneously. If the Tachometer’s security code is set to default 0000 the first parameter input will be displayed. If the instrument isprotected by a security code, code will be displayed. The four digit code must be entered to gain access to the menu.

The BA314G is CE marked to show compliance with the European Explosive Atmospheres Directive 2014/34/EU and the European EMC Directive 2014/30/EU.
It is also UKCA marked to show compliance with UK statutory requirements Equipment and Protective Systems Intended for Use in Potentially Explosive Atmospheres Regulations
- UKSI 2016:1107 (as amended) and with the Electromagnetic Compatibility Regulations
- UKSI 2016:1091 (as amended).
Manuals and datasheets can be downloaded from http://www.beka.co.uk/ba314g
Old Charlton Rd, Hitchin, Hertfordshire, SG5 2DA, UKTel: +44(0)1462 438301 Fax: +44(0)1462 453971e-mail: [email protected] web: www.beka.co.uk




















