BANCROFT BNC1036-001 Offshore Lite Warrior V3 2.4GHz RTR Racing Board
CONTENTS OF SET
- Offshore Lite Sea Rider V4 Racing Boat
- Transmitter
- 7.4V Power Pack
- 2S/3S balance charger with AC power cable
- Boat Stand
- 9V Dry battery (for Transmitter)
- 2.5mm Allen Key (Only For Deep Vee Turn Fins) 2.0mm Allen Key (for Grub Screws

Caution for Li-Ion battery:
ESC with low voltage hard cut off at 3. 2V per cell, when driving your boat, as soon as you notice boat stop, that means ESC low voltage cut off effective, you should immediately drive boat back to shore in slow speed, recharge battery and race again. don’t keep racing boat when ESC low voltage cut off effective, otherwise, you will allow battery over-discharge, battery voltage will reach very low and won’t be recharged again.
Caution:
- Continuous running of the model will generate high heat levels, Which will lead to premature wear of the motor. Once your power pack is exhausted, we recommend that you open model’s upper deck and let motor air cool for around 15 minutes before installing a fresh power pack. This action will protect motor and extend its working life.
- Before racing your model boat, carefully check silicone tube for guarantee good water cooling system; Avoid water inlet on the bottom of hull become deformed, otherwise, water cooling system failure, this may lead t ESC burned out and motor defected.
INSTALLING THE 9V BATTERY IN YOUR TRANSMITTER
- Ensure the transmitter/OFF’ switch is in the ‘OFF’ position.
- Remove the battery cover screw.
- Remove the battery cover by pressing down on the embossed arrow and sliding the cover as indicated.
- Insert 9V battery, noting correct location (polarity+ or-).
- Slide battery cover back into place.
- Re-fit battery cover screw.
NOTE 1: The Offshore Lite Series are supplied with a start-up 9V dry cell battery. Once this battery is depleted, please replace it with another dry cell 9V battery (alkaline recommended) or fully charged 9V rechargeable battery. Remove 9V battery from the transmitter if you do not intend to use it for a period of time.
NOTE 2: When the transmitter battery (dry cell or rechargeable) is at the end of its life, it should be disposed of at an approved battery recycling centre. DO NOT DISPOSE OF IT IN HOUSEHOLD WASTE!
CHARGING THE 7.4V POWER PACK
- Plug the power cable into the Balance Charger and then into the power outlet. All three power LEDs turn on with green lights means charger work properly.
- Connect the 7.4V power pack to the balance charger’s 2Cell balance port, two power LEDs change from green to red means charging begins. Once charging of one cell is done,the corresponding power LED will turn green.
- Supplied 7.4V power pack will charge from flat in around 80 mins. When the two power LEDs all turn green means charging finished.
- Disconnect the 7.4V power pack from the balance charger, unplug the power cable from the power outlet.

CAUTION:
- The 7.4V Power Pack is not supplied pre-charged and you must charge it fully before using your Offshore Lite Series for the first time.
- The 7.4V Power Pack can be re-charged many times before it needs replacing. When the 7.4V Power Pack no longer holds a charge (is dead), it should be properly recycled. DO NOT DISPOSE OF IT IN HOUSEHOLD WASTE!
- Never leave the battery unattended during the charging process. Always keep this charger out of reach of children.
- Do not attempt to disassemble the charger S) Un-plug the charger from the power outlet if you do not intend to use it for a period of time.
- NOTE The Offshore Lite Series will typically run for around 8 minutes on a fully charged 7.4V Power Pack. As soon as you notice a drop off in speed you should bring the model back to shore or control may be lost.
INSTALLING THE 7.4V POWER PACK IN THE OFFSHORE LITE SERIES
- Remove the Offshore lite series’ upper deck by rotating the plastic lock at its rear section.
- Insert the 7.4V Power Pack into the left side of the hull. The connector of power pack heads towards the front of boat.Tie the power pack with provided magic belt inside the hull.
- Attach the 7.4V Power Pack’s connector to the matching connector in the Offshore Lite Series. Do not force them together – they only attach one way!
- Place the water proof rubber ring along the slot of hull, make sure it’s secured positioned before re-position the upper deck.
- Re-position the upper deck.
- NOTE: 1. It is suggested that don’t leave the rubber ring in the slot of hull. Remove the rubber ring when not racing the boat, so as to keep the rubber ring flexible for water proof effective
TRANSMITTER/RECEIVER BINDING
- The binding process effectively ties the transmitter and receiver together. Under normal circumstances, both items are supplied like this from the factory. If, however, you find that your transmitter and receiver are not bound(receiver’s red LED is on), you should do the following:
- Switch “ON” the transmitter.
- Switch “ON” the receiver by Attaching the 7.4V power pack’s connector to the matching connector in the Offshore Lite Series boat.
- Press down the “BIND” button on the receiver, the receiver’s green LED will be on to indicate that binding has been successful and the receiver will now accept commands from the transmitter.
- Note 1: During binding process, transmitter and receiver should be no more than one meter apart and no other similar devices should be within 10 meters.
- Note 2: if the green light flashing, showing the binding failure, please do again as above indication.
HOW TO CONTROL/OPERATE YOUR OFFSHORE LITE SERIES
- Forward Throttle Trigger
Your Offshore Lite Series can be driven forward by pulling the throttle trigger. Release the trigger and the Offshore Lite Series will stop. - Left/Right Steering Wheel
The steering wheel controls the Offshore Lite Series’s left and right movement. Turn the wheel to the left to steer to the left. Turn the wheel to the right to steer to the right. Release the wheel to go straight. Racing Tip: The Offshore Lite Series are an oval racer, designed for clockwise racing, and will be less responsive to steering inputs at high speed, particularly left turns. Decrease your speed to allow tighter turning
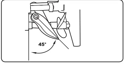
TURN FINS
The Offshore Lite Warrior V3 features adjustable turn fins to aid in turning. These can be adjusted using the included Allen key. The optimum angle of adjustment is 45 degrees to the hull.
DRIVING YOUR OFFSHORE LITE SERIES
- Switch ‘ON’ the transmitter. Check that the transmitter’s red LED glows brightly.
- Check that the Offshore Lite Warrior’s turn fins are adjusted correctly.
- Switch ‘ON’the Offshore Lite Series (connect the 7.4V Power Pack).
- Check that the propeller and the rudder respond to transmitter inputs before placing the Offshore Lite Series on the water.
AFTER USE
- When you have finished using your Offshore Lite Series, you should first switch ‘OFF’ the model (disconnect the 7.4V Power Pack), then switch ‘OFF’your transmitter.
- Remove all batteries from the transmitter and model.
- Leave the Offshore Lite Series’s upper deck off to allow moisture to evaporate. Ideally, place the model in this way in a warm and dry place, like an airing cupboard, until you are sure it is dry and then store it away.
- Remove the rubber ring from the slot of hull, so as to keep the rubber ring flexible for water proof effective in next time boat racing.
- NOTE: If the Offshore Lite Series begins to bob when running, it may have taken on an excessive amount of water. In this case, you should immediately return to shore, remove the upper deck and drain the water from the hull.
IF YOUR VESSEL DOES NOT OPERATE IN A STRAIGHT LINE
- If your Offshore Lite Series do not run in a straight line when not being steered, you can adjust it by using the steering trim located on the upper right hand side of the transmitter.
- Run your Offshore Lite Series on calm water when adjusting the steering. If your model runs to the right when not being steered, press the
- “ST.TRIM-L” button. Re-center the model and see if this has corrected the problem. Keep making small adjustments in this way until the model runs stright.
- Press the “ST.TRIM-R” button to correct if your model steers to the left without being steered in the same way as detailed above

MAINTAINING THE DRIVESHAFT
- Lubricating the flex shaft is vital to the life of the drivetrain. The lubricant also acts as a water seal, keeping water from entering the hull through the stuffing tube. Lubricating the flex shaft, propeller shaft after every 2 or 3 times of operation.
- Use the 2mm Allen key to loose the two grub screws of the coupler which connects the flex shaft, then slide the flex shaft w/ prop shaft out of the stuffing tube.
- . Lubricate the flex shaft w/ prop shaft with the waterproof marine grease, reinstall the flex shaft w/ prop shaft in reverse order, be sure to retighten the two grub screws of the coupler

CAUTION!
- The transmitter’s range will vary depending on your surroundings and battery strength.Do not operate
- Offshore Lite Series too far away or control will be lost.
- Ensure that all batteries are correctly installed and that the 7.4V Power Pack is fully charged.
- Do not operate your Offshore Lite Series in areas with strong currents, in salt water or areas of water with large waves.
- Do not touch moving parts during operation, especially the propeller.
- Do not let your Offshore Lite Series run aground, as this can cause damage.
- If you lose control of your Offshore Lite Series, never wade into deep water or water with strong currents to retrieve it. First, hold the transmitter as high as you can to try to re-establish control. If this does not work, find another way to move closer to the model, but do not endanger yourself in the process
CAREFUL HANDLING OF BATTERY (POWER PACK) REQUIRED
- Care must be taken when handling rechargeable batteries (the Power Pack) to avoid the possibility of injury and/or damage to property. Do not short circuit, disassemble or incinerate rechargeable batteries. It is very dangerous to disregard these warnings.
- GENERAL INFORMATION FOR THE SAFE OPERATION OF YOUR OFFSHORE LITE SERIES
- Please follow these simple rules to ensure safe operation and gain the maximum enjoyment from your model.
- Avoid overloading your model. Never run it in areas where its movement will be restricted, e.g. areas where there is pond weed, etc., as this can over stress the motor.
- Ensure nothing prevents the smooth running of moving parts.
- Do not run your model in confined spaces.
- Never run your model in a public space where it might upset or endanger people or wildlife.
- Immediately switch’OFF’your model and transmitter if you see lightning or hear thunder. Never use your model in the rain.
- Do not dismantle or tamper in anyway with this R/Cvehicle and its transmitter.The manufacturer and distributor will accept no responsibility, expressed or implied, for accidents or injuries caused as a result of disassembly, modification and/or usage against the Instructions for this product. Tampering or modification will also invalidate the guarantee.























