
The expert for robots in your home
With one click to the online shop

myRobotcenter.eu myRobotcenter.co.uk

![]()
1790 | Titanium

Instruction manual
1. PARTS AND COMPONENTS

- Wi-Fi indicator
- Power/operation button
- Back home button
Back home button
The robot will automatically go to the charging base when this button is pressed.
Light indicator
Charging: Blinking orange
Fully charged: Blue light
Standby mode: Blue light
Error: Red light on/blinking
Low battery: Orange light
Cleaning: Blue light
Sleeping mode: Light off
Power/operation button
Long press this button for a few seconds to turn the robot on or off.
Press it to start cleaning too.

1. Anti-collision sensor

- Free-fall sensors
- Driving wheels
- Power switch
- Charging terminals
- Omnidirectional wheel
- Side brushes
- Battery
- Dust tank
- Main brush

Charging base

Power adapter
Dust tank

Wet & dry tank
Primary filter and High-efficiency filter

Multifunctional brush made of bristles and silicone
Side brushes

Main silicone brush
2 mops

Cleaning brush
- Charge indicator
- Signal transmitter
- Charging terminals
2. BEFORE USE
Take the product out of the box.
Remove all packaging material Save the original box.
Make sure all parts and components are included and in good conditions. If any visible signs of damage are observed, contact the Technical Support Service immediately.
Note: Remove all objects around the robot such as clothing, papers, cables, curtains or other fragile objects.

Fig. 15
If the area to be cleaned has a balcony or stairs, a physical barrier must be placed in order to prevent product damage and ensure safe operation.

Fig. 16
Direct exposure to sun light or great light contrasts may affect to the correct operating of the sensors. If this happens and the robot stops, change it to a new location for it to start operating again.
Place the charging base against the wall and leave a minimum free space of:
2 metres to the front.
1 metre to each side.
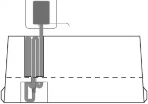
Connect the charging base to a power supply. Wind and store the remaining cord in the lower part of the charging base to avoid accidents.
Install both side brushes in their corresponding slots, located on the robot’s bottom part. Press until it clicks to make sure they are properly fixed.

Press the power switch located on the bottom part of the robot. Make sure the power switch is turned On.
Place the robot on the charging base and make sure the charging terminals on the robot match with those of the charging base. Once the robot is properly placed, it will beep once and the power button will light up If the light blinks orange, it means the battery is not completely charged. To ensure maximum cleaning time, wait until the light switches to steady blue. This will indicate the battery is fully charged and that the robot is ready to clean.
3. OPERATION
Start cleaning
Long press the power button on the robot to activate the robot up.
Press the power button on the robot to start cleaning.
Note: If the robot runs out of battery during cleaning, it will automatically return to the charging base. Once the battery is fully charged, the robot can start a new cleaning cycle.
Warning: If there is no good access to the charging base, the robot will not be able to return to its charging position. In that case, once the robot has stopped, take it manually to the charging base.
Pause
Press the power button on the robot to pause the cleaning process.
Press the power button on the robot to resume the cleaning process.

Return to the charging base
Press the back home button on the robot in order to send the robot to the charging base.
Turn off
Long press the power button to turn the robot off.

Warning: The robot vacuum cleaner has a power switch located on its main body. If the robot is not going to be used for long periods of time, it is suggested to switch it off. If the robot is switched off, it will restore factory default settings as a safety measure. The robot will only carry out scheduled cleaning if it has been scheduled while the switch is ON, otherwise, it will have to be scheduled again from the App.
Cleaning modes
This robot includes different modes and different functions that can be activated from the App.
Auto mode
Press the power button for the robot to start Auto cleaning mode.
The robot will clean the whole surface, edges, around objects such as tables, chairs etc. Once it starts running out of battery, it will return to the charging base.

Thorough Scrubbing mode
Attach the mop cloth to the water tank and fill the tank with water.
Take the dust tank out.
Install the water tank in the robot and turn it on.

Use the App to select the desired scrubbing power level: High, Medium or Low.
Once the scrubbing mode is selected, the device will perform the function “All in One” to vacuum, mop, scrub and sweep at the same time thanks to its mixed tank.
Note: If you want to sweep the floor, skip the water-filling step.
To ensure perfect scrubbing from the start, it is suggested to dampen the mop cloth evenly with water before use.
Spiral mode
The robot will carry out an intense cleaning of a specific area when this mode is activated.
The robot will start cleaning at a specific point and will move outwards performing spiral movements (1 meter). Then, it will return to the starting point in spiral movements again.
Before operating the robot under Spiral cleaning mode, place it on the spot to be cleaned.
Press the spiral cleaning button on the App.

Edge mode
When this mode is selected, the robot will clean along walls and around furniture (table or chair legs, for example).
Press the edge cleaning button on the App.
Room mode
The robot will carry out a cleaning cycle under Auto mode and then will return to the starting point.
Press the room cleaning button on the App display.
To ensure an efficient cleaning of the room, close the door.
Suction power level function
Select the desired robot’s suction power during the cleaning process. There are 3 suction power levels: Turbo, Normal and Eco. The power level function can also be turned off if you wish to use the Wet & dry tank for scrubbing only.

Scrubbing intensity levels function
Select the desired water intensity level during the scrubbing process. There are 3 water levels:
High, Medium or Low. The scrubbing intensity function can also be turned off if you wish to use the Wet & dry tank for sweeping only.
Random mode
The robot will start cleaning randomly and will return to the charging base smartly when it runs out of battery. The robot will not create maps under this mode.
This mode can be activated from the App.
Manual mode
The robot can be moved manually using the direction buttons on the App
Cleaning scheduling
This robot includes schedule settings in order for you to customise the cleaning cycles. The robot can be scheduled through the App.
4. CLEANING AND MAINTENANCE
In order to lengthen your robot’s shelf life and to allow your robot to operate at peak performance, carry out the following procedures periodically.
Empty the robot’s dust tank.
Press the dust tank’s release button.

Open the dust tank and empty it.
Cleaning of the robot’s filter
Remove the filter.
Carefully shake off all dust from the filter.
Cleaning of the free-fall sensors
Use a clean, dry and soft cloth to wipe off any dust from the free-fall sensor located on the right side of the robot’s bottom part.
Warning: Do not spray cleaning products directly on the sensor.

Cleaning of the main brush
Slightly press the main brush frame’s tabs in order to open the main brush storage gap and to remove it.
Remove any hair, fluffs or dust collected in the brush and around the axes.

Clear and clean the robot’s suction channel.

Reinstall the main brush and its frame.
High-efficiency filter
The high-efficiency filter is designed with fibres that help trapping dust particles, dust mites, pollen… It is very important to clean periodically the filter, to avoid these particles from building up in the filter, causing efficiency loss. It is convenient to carry out this maintenance once a week.
It is suggested to replace the filter by a new one after a maximum of 160 hours of use. Recommendations: Dirt can be removed with a small brush or by shaking it carefully against a hard surface for dust to fall off. The high-efficiency filter cannot be washed.
Mesh primary filter and sponge filter
The filtering system is featured with a mesh primary filter and a sponge filter. It is suggested to replace them either after a maximum of 160 hours of use or when they are worn out due to operation.
Recommendations: Dirt can be removed with a small brush or by shaking it carefully against a hard surface for dust to fall off. You can also use warm water without detergents to obtain better results. Always make sure they are completely dry before installing them again.
Side brushes
Side brushes are designed with multiple bristles and are used to push dirt towards the suction nozzle and to clean thoroughly edges and corners. These brushes can wear out over time, affecting negatively to the cleaning efficiency. For this reason, it is suggested to replace each side brush after a maximum of 220 hours.
Recommendations: It is recommended to clean the side brushes once a week with the help of the cleaning brush.
Main brush
The main brush is designed with bristles and silicone, spins at top speed and helps introducing dirt into the suction nozzle. This brush is in contact with the floor, and therefore with dirt, so it can be worn out over time, affecting negatively to the cleaning efficiency. For this reason, it is suggested to replace each side brush after a maximum of 320 hours.
Recommendations: It is recommended to clean the main brush once a week with the help of the cleaning brush.
Sensors
Cleaning robot vacuum cleaners have different types of sensors, for example, proximity sensors that allow the robot to move around while detecting obstacles or free-fall sensors that help the robot to detect slopes or possible gaps/unevenness such as stairs. These sensors are always in contact with dust particles, and therefore, can be blocked over time, causing possible navigation errors. It is suggested to clean all the robot’s sensors with the cleaning brush or with a dry cloth after a maximum of 35 hours of operation.
Battery charge and replacement
To lengthen the battery’s service life, keep the robot charging on the charging base when not in use.
If the robot is not going to be used for a long time, remove the battery from the product and store it in a dry and safe place.
To replace the battery, follow the instructions below:
Unscrew the 2 screws on the battery compartment, remove the battery cover and the battery.

Insert the new battery with the battery label facing up.
Place the battery and the battery cover in its place and fix properly de screws back again.
5. TROUBLESHOOTING
Beeps while red light blinking:
| Beeps | Error | Solution | |
| 01 | 1 | Gyroscope error | Place the robot on a stable surface and restart it. Do not move it |
| 02 | 2 | Bumper error | Check the bumper and remove any object that could be blocking it. |
| 03 | 3 | Free-fall sensor error | Check if the bumper is dirty and clean the sensor. |
| 02 | 4 | Low battery or charging error | The robot has run out of battery and must be taken manually to the charging base. |
Beeps while red light steady on:
| Beeps | Error | Solution | |
| 01 | 1 | Driving wheel error | Check if the driving wheel is blocked. |
| 02 | 2 | Side brushes error | Check if the side brush is blocked and clean it. |
| 03 | 3 | Fan error | Clean dust or other objects in the air ducts channel. |
| 02 | 4 | Main brush error | Check if the main brush is entangled or blocked and clean it. |
Other possible situations
| Problem | Solution |
| The robot cannot be activated | Make sure the main power switch is in the ON position. Make sure the battery is fully charged. If the problem persists, turn the main power switch off and restart it. |
| The robot stops operating suddenly | Check if robot is trapped or stuck on an obstacle. Check if the battery level is too low. If the problem persists, turn the main power switch off, wait for 2 seconds and restart it. |
| The schedule function does not work | Make sure the main power switch on the bottom of robot is turned on. Make sure the time, time of day (AM/PM), and the scheduled time have been set correctly. Check if robot’s battery is too low to start cleaning. |
| Weak suction power | Check if any obstructions are blocking the suction inlet. Empty the dust tank. Clean the filters with a vacuum cleaner or a cleaning brush. Check if the filters are wet. Air-dry the filters completely before use. |
| The robot does not charge | Check if the indicator on the charging base are lighted up. If not, contact the Technical Support Service of Cecotec. Clean the charging terminals with a dry cloth. Check if the robot beeps when it gets to the charging base. If not, contact the Technical Support Service of Cecotec. |
| The robot does not return to the charging base | Remove objects within 3 ft/1 m to the left and right side and within 6 ft/2 m of the front of the charging base. The robot will return quicker to the charging base when it is close to it. If the robot is far away from it, it will take longer to detect it. Clean the charging terminals. |
| The main brush does not rotate | Clean the main brush. Check if the main brush is properly installed. |
| The robot movements and routes are usual. | Clean the sensors carefully with a dry cloth. Restart the robot by turning the power switch off and on. |
6. TECHNICAL SPECIFICATIONS
Product: Conga 1790 Titanium
Product reference: 05472
Output voltage: 19 V DC
Output current: 0.6 A
Power: 40 W
Battery: 14.4 V DC Li-Ion 2600 mAh
100-240 V AC ~, 50/60 Hz
Made in China | Designed in Spain
7. DISPOSAL OF OLD ELECTRICAL APPLIANCES
The European directive 2012/19/EU on Waste Electrical and Electronic Equipment (WEEE), specifies that old household electrical appliances must not be disposed of with the normal unsorted municipal waste. Old appliances must be collected separately, in order to optimize the recovery and recycling of the materials they contain and reduce the impact on human health and the environment.
The crossed out “wheeled bin” symbol on the product reminds you of your obligation to dispose of the appliance correctly. Consumers must contact their local authorities or retailer for information concerning the correct disposal of old appliances and/or their batteries.
8. TECHNICAL SUPPORT AND WARRANTY
This product is under warranty for 2 years from the date of purchase, as long as the proof of purchase is submitted, the product is in perfect physical condition, and it has been given proper use, as explained in this instruction manual.
The warranty will not cover the following situations:
The product has been used for purposes other than those intended for it, misused, beaten, exposed to moisture, immersed in liquid or corrosive substances, as well as any other fault attributable to the customer.
The product has been disassembled, modified, or repaired by persons, not authorised by the official Technical Support Service of Cecotec.
Faults deriving from the normal wear and tear of its parts, due to use.
The warranty service covers every manufacturing defects of your appliance for 2 years, based on current legislation, except consumable parts. In the event of misuse, the warranty will not apply.
If at any moment you detect any problem with your product or have any doubt, do not hesitate to contact Cecotec Technical Support Service at +34 963 210 728.
www.cecotec.es
Grupo Cecotec Innovaciones S.L.
C/ de la Pinadeta s/n, 46930
Quart de Poblet, Valencia (Spain)
EA02200612

















