
COMMERCIAL
HVRPWR™ 40V
CORDLESS UPRIGHT
For use with models CH95519.
WARNING ALWAYS REMOVE THE BATTERY PACK from the appliance before making any adjustments, changing accessories, storing product cleaning, or when not in use.
Assembly & Daily Operation
ASSEMBLY
1. Make sure Upper Tube Connector (A) is installed on Upper Tube (B).![]() | 2. Insert Upper Tube into the top of the Debris Transfer Tube (C) until it locks in place.![]() |
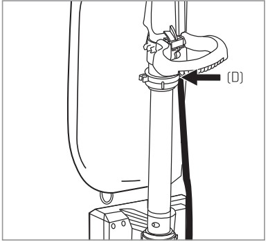
3. Twist Upper Tube Connector (A) clockwise until it clicks to secure Upper Tube (B).![]() | 4. Route wire through the clip (D) on side of the pole.![]() |
BATTERY STATUS INDICATOR**
When charging, the fully lit LEDs on the battery will indicate the charge level.

INSERTING BATTERY
1. Remove the fully charged battery from the charger.![]() | 2. insert into housing and push firmly until locked Into place.![]() |
HANDLE RELEASE
Step on (Al 0u/el head and pull handle bock to lower into operating position. Return handle to a full upright position to engage lack. This product features Auto Stop and will not operate in the upright position by disengaging power to the motor.

POWER
Push fingertip controls on the handle forward to select Hush mode or Boost. Push controls backward into the ‘OFF” position to turn off.

CHANGING THE BAG
1. Unzip the Filtration Bog Case ![]() | 2. Pull the cardboard collar on completely. filtration bag downward to release the bog dock from the dock port.![]() |
3. Gently pull the cardboard collar on the filtration bag up to engage the self-sealing lock and remove it from the bag dock. Discord.![]() | 4. Glide o new filtration bog collar firmly Into the bog dock ensuring all hooks on the dock door are Inserted on the cardboard collar.![]() |
5. Rotate bog dock up and press firmly and the filtration hag at indicated points until It snaps Into place.![]() | 6. Zip up the filtration bog case completely. ![]() |
REPLACEMENT BAGS
AH10330 – HEPA Filtration
AH10159 – Standard Filtration
COMMERCIAL
••HYRPWR” 40V ONLY
For all safety precautions, please see user Manuel.
HooverCommercial.com
1-888-768-2014 (M-F 8AM – 5 PM EST)
@f2020 Techtronlc Floorcore Technology Limited
964480251





























