Royalcraft Milano Sofa Set Instructions
Assembly Instructions
Before you start
Warnings
IMPORTANT, RETAIN FOR FUTURE REFERENCE READ CAREFULLY
- See enclosed instructions for assembly, safety and care information.
- Failure to follow the warnings could result in serious injury.
- Handle heavy parts with care.
- Ensure that this product is fully assembled as illustrated before use.
- This product should only be used on firm, level ground.
- Keep small parts out of reach of children.
- Do not stand or climb onto this product.
- This product is intended for domestic use only.
- Furniture can be dangerous if incorrectly used.
- No liability will be accepted for damage or injury caused by incorrect use of this product.
Dos
- When you are ready to start, make sure that you have the right tools, plenty of space and a clean, dry area for assembly.
- Remove all packaging and banding and place the components carefully on suitable surfaces to prevent damaging or scratching them.
- Check the pack and make sure you have all of the parts listed.
- Check all screws and bolts are tightened and inspect regularly.
- This product is suitable for all year outdoor use, but we recommend that a furniture cover be used to add additional protection to your product when not in use.
- PLEASE NOTE – All cushions should be stored indoors after use. The cushions are not waterproof.
- During severe weather conditions and in the winter months we recommend moving your furniture inside into a cool, dry place.
- Before storage, ensure that the product is clean and dry.
- To clean, wipe down with a sponge and warm soapy water and wipe with a clean, dry cloth.
- Cushions should be cleaned following the care instruction on the label.
Don’ts
- Do not use scourers, abrasives, washing powders, chemical cleaners or any other substances containing abrasives since these substances can damage the product, including the glass panel.
- Never tilt the chair during use.
- Do not place very hot or very cold items on the glass surface unless adequately thick table-mats are used to prevent such items from coming into contact with the glass.
- Do not use the glass as a chopping surface.
- Do not strike glass with hard or pointed items.
- Do not strike the glass with hard or pointed items.
- Do not use power tools to construct this product.
- Do not use this product if parts are missing, damaged or worn.
- Do not sit or lean on the table.
- Do not stand or climb onto the product and do not use it as a ladder, as this could lead to it unbalancing and overturning.
- Never drag furniture when moving it, always lift it.
Number of people required for assembly
- Two people

Time to assemble
- 40 minutes

Tools required

Tips:
- Do NOT fully tighten bolts before all components are connected.
- Only fully tighten once you are satisfied with the alignment of all components.
- Do not over tighten bolts.
Member Part
Please find the member parts.
Member Part | |||
| Part No. | Diagram | Name | Qty. |
| MP1 | ![]() | Coffee Table | 1 PC |
| MP2 | ![]() | Armchair | 2 PCS |
| MP3 | ![]() | Loveseat | 1 PC |
Parts List
Components, fixtures & fittings (not actual size)
Parts List | |||||
| Part No. | Diagram | Qty. | Part No. | Diagram | Qty. |
| A | Coffee Table Top | 1 PC | B | ![]() Coffee Table Leg | 4 PCS |
| C | ![]() Coffee Table Glass Top | 1 PC | D | ![]() Armchair Seat | 2 PCS |
| E | ![]() Loveseat Seat | 1 PC | F | ![]() Front Leg | 6 PCS |
| G | ![]() Rear Leg | 6 PCS | |||
| H | ![]() Armchair Seat Cushion | 2 PCS | I | ![]() Loveseat Seat Cushion | 1 PC |
| J | ![]() Armchair Backrest Cushion | 2 PCS | K | ![]() Loveseat Backrest Cushion | 2 PCS |
| W15 | ![]() M6*15mm Bolt | 48 PCS | F2 | Bolt Head Cap | PCS |
| F3 | Washer | 48 PCS | S1 | Spanner | 1 PC |
Step by step assembly instructions
MP1 – Coffee Table
Step One
Open the packaging, place the Coffee Table Glass Top (C) on the carton until the rest of the table is fully assembled.
With the help of another person, place Coffee Table Top (A) upside down on a flat, non-abrasive surface to avoid scratching the table surface or rim.
Step Two
Loosely attach the Table Legs (B) to the Coffee Table Top (A) using Washers (F3) and Bolts (W15). Only tighten the bolts when all bolts and washers are in place.Once you are satisfied with the alignment of the component carefully tighten all bolts using Spanner (S1). Do not over-tighten. Cover each bolt with Bolt Head Cap (F2).

Step Three
With the help of another person, carefully turn the table in the upright position. Level the table by adjustable foot screws.

Step Four
With the help of another person, carefully turn the table in the upright position. Level the table by adjustable foot screws. Carefully place the Coffee Table Glass Top (C) on the Coffee Table Top (A). Your Coffee Table is now ready for use.

MP2 – Armchair
Step One
Place the Armchair Seat (D) upside down. Attach Legs (F) and (G) to the Armchair Seat (D) using Washers (F3) and Bolts (W15). Once you are satisfied with the alignment of all components, carefully tighten all bolts using Spanner (S1). Cover each Bolt Head with Bolt Head Cap (F2)

Step Two
Stand the Armchair and Level the Armchair by adjustable foot screws..

Step Three
Place the Armchair Seat Cushion (H) and Armchair Backrest Cushion (J) onto the Armchair Seat (D). Your Armchair is now ready for use.

MP2 – Loveseat
Step One
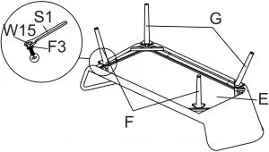
Place the Loveseat Seat (E) upside down.
Attach Legs (F) and (G) to the Loveseat Seat (E) using Washers (F3) and Bolts (W15). Once you are satisfied with the alignment of all components, carefully tighten all bolts using Spanner (S1). Cover each Bolt Head with Bolt Head Cap (F2).

Step Two
Stand the Loveseat and Level the Loveseat by adjustable foot screws.

Step Three
Place the Loveseat Seat Cushion (I) and Loveseat Backrest Cushion (K) onto the Loveseat Seat (E). Your Loveseat is now ready for use.

Never tilt the product during use. Ensure the product is always placed firmly on the ground.
PLEASE KEEP THESE INSTRUCTIONS FOR FUTURE REFERENCE





Coffee Table Top










Bolt Head Cap
Washer
Spanner














