ATB68F6NW
User Manual
Freezer

FOR PERFECT RESULTS
Thank you for choosing this AEG product. We have created it to give you impeccable performance for many years, with innovative technologies that help
make life simpler – features you might not find on ordinary appliances. Please spend a few minutes reading to get the very best from it.
Visit our website to:
Get usage advice, brochures, troubleshooter, service and repair information: www.aeg.com/support
Register your product for better service: www.registeraeg.com
Buy Accessories, Consumables, and Original spare parts for your appliance: www.aeg.com/shop
CUSTOMER CARE AND SERVICE
Always use original spare parts.
When contacting our Authorised Service Centre, ensure that you have the following data available: Model, PNC, Serial Number.
The information can be found on the rating plate.
Warning / Caution-Safety information
General information and tips
Environmental information
Subject to change without notice.
SAFETY INFORMATION
Before the installation and use of the appliance, carefully read the supplied instructions. The manufacturer is not responsible for any injuries or damage that are the result of incorrect installation or usage. Always keep the instructions in a safe and accessible location for future reference.
1.1 Children and vulnerable people safety
- This appliance can be used by children aged 8 years and above and persons with reduced physical, sensory or mental capabilities or lack of experience
and knowledge if they have been given supervision or instruction concerning the use of the appliance in a safe way and understand the hazards involved. - Children aged from 3 to 8 years are allowed to load and unload the appliance provided that they have been properly instructed.
- This appliance may be used by persons with very extensive and complex disabilities provided that they have been properly instructed.
- Children of less than 3 years of age should be kept away from the appliance unless continuously supervised.
- Do not let children play with the appliance.
- Children shall not carry out cleaning and user maintenance of the appliance without supervision.
- Keep all packaging away from children and dispose of it appropriately.
1.2 General Safety
- This appliance is intended to be used in household and similar applications such as:
– Farmhouses; staff kitchen areas in shops, offices, and other working environments;
– By clients in hotels, motels, bed, and breakfast, and other residential type environments. - To avoid contamination of food respect the following instructions:
– do not open the door for long periods;
– clean regularly surfaces that can come in contact with food and accessible drainage systems; - WARNING: Keep ventilation openings, in the appliance enclosure or in the built-in structure, clear of obstruction.
- WARNING: Do not use mechanical devices or other means to accelerate the defrosting process, other than those recommended by the manufacturer.
- WARNING: Do not damage the refrigerant circuit.
WARNING: Do not use electrical appliances inside the food storage compartments of the appliance, unless they are of the type recommended by the
manufacturer. - Do not use water spray and steam to clean the appliance.
- Clean the appliance with a moist soft cloth. Only use neutral detergents. Do not use abrasive products, abrasive cleaning pads, solvents, or metal objects.
- When the appliance is empty for long period, switch it off, defrost, clean, dry, and leave the door open to prevent mold from developing within the appliance.
- Do not store explosive substances such as aerosol cans with a flammable propellant in this appliance.
- If the supply cord is damaged, it must be replaced by the manufacturer, its Authorised Service Centre, or similarly qualified persons in order to avoid a hazard.
SAFETY INSTRUCTIONS
2.1 Installation
WARNING!
Only a qualified person must install this appliance.
- Remove all the packaging.
- Do not install or use a damaged appliance.
- Follow the installation instructions supplied with the appliance.
- Always take care when moving the appliance as it is heavy. Always use safety gloves and enclosed footwear.
- Make sure the air can circulate around the appliance.
- At first installation or after reversing the door wait at least 4 hours before connecting the appliance to the power supply. This is to allow the oil to flow
back in the compressor. - Before carrying out any operations on the appliance (e.g. reversing the door), remove the plug from the power socket.
- Do not install the appliance close to radiators or cookers, ovens, or hobs.
- Do not expose the appliance to the rain.
- Do not install the appliance where there is direct sunlight.
- Do not install this appliance in areas that is too humid or too cold.
- When you move the appliance, lift it by the front edge to avoid scratching the floor.
2.2 Electrical connection
WARNING!
Risk of fire and electric shock.
WARNING!
When positioning the appliance, ensure the supply cord is not trapped or damaged.
WARNING!
Do not use multi-plug adapters and extension cables.
- The appliance must be earthed.
- Make sure that the parameters on the rating plate are compatible with the electrical ratings of the mains power supply.
- Always use a correctly installed shockproof socket.
- Make sure not to cause damage to the electrical components (e.g. mains plug, mains cable, compressor).
Contact the Authorised Service
Centre or an electrician to change the electrical components. - The mains cable must stay below the level of the mains plug.
- Connect the mains plug to the mains socket only at the end of the installation. Make sure that there is access to the mains plug after the installation.
- Do not pull the mains cable to disconnect the appliance. Always pull the mains plug.
2.3 Use
WARNING!
Risk of injury, burns, electric shock or fire.
The appliance contains flammable gas, isobutane (R600a), natural gas with a high level of environmental compatibility. Be careful not to cause damage to the refrigerant circuit containing isobutane.
- Do not change the specification of this appliance.
- Do not put electrical appliances (e.g. ice cream makers) in the appliance unless they are stated applicable by the manufacturer.
- If damage occurs to the refrigerant circuit, make sure that there are no flames and sources of ignition in the room. Ventilate the room.
- Do not let hot items touch the plastic parts of the appliance.
- Do not put soft drinks in the freezer compartment. This will create pressure on the drink container.
- Do not store flammable gas and liquid in the appliance.
- Do not put flammable products or items that are wet with flammable products in, near or on the appliance.
- Do not touch the compressor or the condenser. They are hot.
- Do not remove or touch items from the freezer compartment if your hands are wet or damp.
- Do not freeze again food that has been thawed.
- Follow the storage instructions on the packaging of frozen food.
- Wrap the food in any food contact the material before putting it in the freezer compartment.
2.4 Internal lighting
WARNING!
Risk of electric shock.
- Concerning the lamp(s) inside this product and spare part lamps sold separately: These lamps are intended to withstand extreme physical conditions in household appliances, such as temperature, vibration, humidity, or are intended to signal information about the operational status of the appliance. They are not intended to be used in other applications and are not suitable for household room illumination.
2.5 Care and cleaning
WARNING!
Risk of injury or damage to the appliance.
- Before maintenance, deactivate the appliance and disconnect the mains plug from the mains socket.
- This appliance contains hydrocarbons in the cooling unit. Only a qualified person must do the maintenance and the recharging of the unit.
- Regularly examine the drain of the appliance and if necessary, clean it. If the drain is blocked, defrosted water collects in the bottom of the appliance.
2.6 Service
- To repair the appliance contact the Authorised Service Centre. Use original spare parts only.
- Please note that self-repair or nonprofessional repair can have safety consequences and might void the guarantee.
- The following spare parts will be available for 7 years after the model has been discontinued: thermostats, temperature sensors, printed circuit boards, light sources, door handles,
INSTALLATION
WARNING!
Refer to Safety chapters.
door hinges, trays and baskets.
Please note that some of these spare parts are only available to professional repairers and that not all spare parts are relevant for all models.
- Door gaskets will be available for 10 years after the model has been discontinued.
2.7 Disposal
WARNING!
Risk of injury or suffocation.
- Disconnect the appliance from the mains supply.
- Cut off the mains cable and discard it.
- Remove the door to prevent children and pets to be closed inside of the appliance.
- The refrigerant circuit and the insulation materials of this appliance are ozone-friendly.
- The insulation foam contains flammable gas. Contact your municipal authority for information on how to discard the appliance correctly.
- Do not cause damage to the part of the cooling unit that is near the heat exchanger.
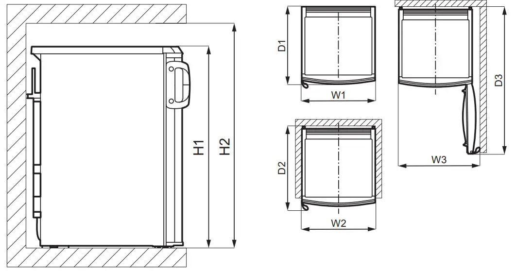
3.1 Dimensions

| Overall dimensions ¹ | ||
| H1 | mm | 850 |
| W1 | mm | 595 |
| D1 | mm | 635 |
¹ the height, width and depth of the appliance without the handle and feet
| Space required in use ² | ||
| H2 | mm | 950 |
| W2 | mm | 600* |
| D2 | mm | 690 |
² the height, width and depth of the appliance including the handle, plus the space necessary for free circulation of the cooling air
* increased to 660 mm if the room temperature is greater than 38°C
| Space required in use ² | ||
| H2 | mm | 950 |
| W3 | mm | 660 |
| D3 | mm | 1175 |
³ the height, width and depth of the appliance including the handle, plus the space necessary for free circulation of the cooling air, plus the space necessary to allow door opening to the minimum angle permitting removal of all internal equipment
3.2 Location
Refer to the installation instructions for the installation.
This appliance is not intended to be used as a built-in appliance.
In case of different installation from freestanding respecting space required in use dimensions, the appliance will function correctly but energy consumption might increase slightly.
To ensure the appliance’s best functionality, you should not install the appliance in the nearby of heat source (oven, stoves, radiators, cookers or hobs) or in a place with direct sunlight. Make sure that air can circulate freely around the back of the cabinet.
This appliance should be installed in a dry, well-ventilated indoor position. To ensure the best performance, if the appliance is positioned below an overhanging wall unit, the minimum distance between the top of the cabinet shall be maintained. Ideally, however, the appliance should not be positioned
below overhanging wall units. One or more adjustable feet at the base of the cabinet ensure that the appliance stands level.
CAUTION!
If you position the appliance against the wall, use back spacers provided or keep the minimum distance indicated in the installation instructions.
CAUTION!
If you install the appliance next to a wall, refer to the installation instructions to understand the minimum distance between the wall and the side of the appliance where door hinges are to provide enough space to open the door when the internal equipment is removed (e.g. when cleaning).
This appliance is intended to be used at an ambient temperature ranging from 10°C to 43°C.
The correct operation of the appliance can only be guaranteed within the specified temperature range.
If you have any doubts regarding where to install the appliance, please turn to the vendor, to our customer service or to the nearest Authorized Service Centre.
It must be possible to disconnect the appliance from the mains power supply. The plug must therefore be easily accessible after installation.
3.3 Electrical Connection
CAUTION!
Any electrical work required to install this appliance should be carried out by a qualified electrician or competent person.
WARNING!
This appliance must be earthed.
The manufacturer declines any liability should these safety measures not be observed.
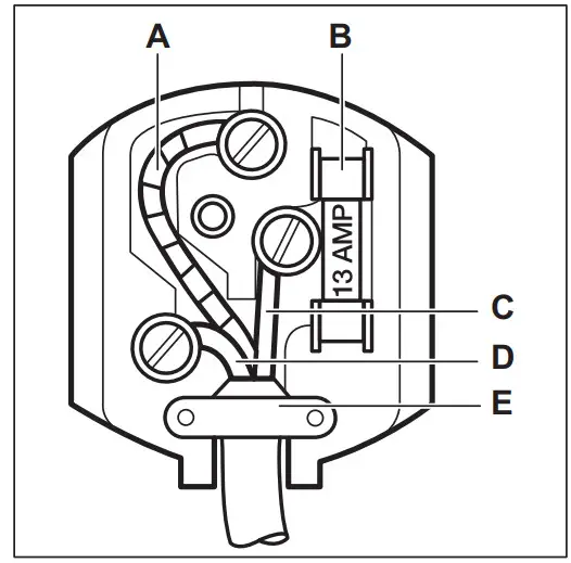
The wires in the mains lead are colored in accordance with the following code:

- A – green and yellow: Earth
- C – Brown: Live
- D – blue: Neutral
As the colors of the wires in the mains the lead of this appliance may not correspond with the colored markings identifying the terminals in your plug, proceed as follows:
- Connect the wire colored green and yellow to the terminal marked either with the letter “E“ or by the earth symbol or colored green and yellow.
- Connect the wire colored blue to the terminal either marked with the letter “N“ or colored black.
- Connect the wire colored brown to the terminal either marked with the “L“ or colored red.
- Check that no cut, or stray strands of wire is present and the cord clamp (E) is secure over the outer sheath.
Make sure the electricity supply voltage is the same as that indicated on the appliance rating plate. - Switch on the appliance.
The appliance is supplied with a 13 amp fuse (B). In the event of having to change the fuse in the plug supplied, a 13 amp ASTA approved (BS 1362) fuse must be used.
WARNING!
A cut-off plug inserted into a 13 amp socket is a serious safety (shock) hazard.
Ensure that it is disposed of safely.
3.4 Levelling
When placing the appliance make sure that it stands level. This can be achieved by two adjustable feet at the bottom in front.

3.5 Door reversibility
Please refer to the separate document with instructions on installation and door reversal.
CAUTION!
At every stage of reversing the door protects the floor from scratching with durable material.
OPERATION
4.1 Control panel

| 1. ON/OFF Power Indicator Light 2. ON/OFF Button 3. Temperature Warmer Button 4. Display 5. Temperature Colder Button | 6. Alarm Indicator Light 7. Alarm Stop Button 8. Frostmatic Indicator Light 9. Frostmatic Button |
4.2 Switching on
Leave the appliance to stand upright for 4 hours after installation.
- Insert the plug into the wall socket
- Press the ON/OFF Button.
The ON/OFF Power Indicator Light will light up. The appliance is switched on.
When you switch the appliance for the first time, the Alarm Indicator Light will blink and the acoustic alarm will sound until the internal temperature has reached a level required for the safe conservation of frozen food.
To switch off the acoustic alarm press the Alarm Stop Button.
4.3 Switching off
Press the ON/OFF Button for 3 seconds.
All the indicators light up and the display switches off.
To disconnect the appliance from the power disconnect the mains plug from the power socket.
4.4 Temperature Regulation
The default temperature of the freezer is -18°C.
The temperature may be adjusted by pressing the Temperature Warmer/ Colder Button. The set temperature will be reached within 24 hours.
The display shows the set temperature.
After a power failure, the set temperature remains stored.
4.5 Frostmatic function
The Prostatic is used to perform pre-freezing and fast freezing in a sequence of the Freezer compartments. This function accelerates the freezing of fresh food and, at the same time, protects foodstuffs already stored from undesirable warming.
To freeze fresh food activate the Frostmatic function at least 24 hours before placing the food to complete pre-freezing.
- To activate the function press the Prostatic button. The Prostatic NIndicator Light will illuminate. The compressor will now run continuously, to ensure that the fresh food is frozen as quickly as possible.
- Place the food in the freezing compartment or compartments and leave the Frostmatic function for a further 24 hours.
- Once the food is completely frozen, press the Frostmatic Button and the Prostatic Indicator Light will go out.
The Prostatic function will end automatically after 52 hours. - Move frozen food from the freezing compartments into the storing compartments to make room for another freezing.
4.6 High-temperature alarm
When the temperature inside the device rises above -11°C (for example due to an earlier power failure), an acoustic alarm will sound and the Alarm Indicator Light will blink.
To deactivate the acoustic alarm press the Alarm Stop Button. The Display shows the highest temperature reached for a few seconds. Then shows again the set temperature.
The Alarm Indicator Light continues to flash until the internal temperature has reached a level required for the safe conservation of frozen food.
DAILY USE
5.1 Freezing fresh food
The freezer compartment is suitable for freezing fresh food and storing frozen and deep-frozen food for a long time.
To freeze fresh food activate the Frostmatic function at least 24 hours before placing the food to be frozen in the freezer compartment.
Store the fresh food evenly distributed in the third and fourth compartment or drawer from the top.
The maximum amount of food that can be frozen without adding other fresh food during 24 hours is specified on the rating plate (a label located inside the appliance).
When the freezing process is complete, the appliance automatically returns to the previous temperature setting (see “Frostmatic Function”).
5.2 Storage of frozen food
When activating an appliance for the first time or after a period out of use, before putting the products in the compartment let the appliance run at least 3 hours with the Frostmatic function switched on.
The freezer drawers ensure that it is quick and easy to find the food package
HINTS AND TIPS
6.1 Hints for energy saving
- The internal configuration of the appliance is the one that ensures the most efficient use of energy.
- Do not open the door frequently or leave it open longer than necessary.
- The colder the temperature setting, the higher the energy consumption.
- Ensure good ventilation. Do not cover the ventilation grilles or holes.
- Make sure that food products inside the appliance allow air circulation through dedicated holes in the rear interior of the appliance.
you want. If large quantities of food are to be stored, remove all drawers, except for the bottom drawer which needs to be in place to provide good air circulation.
Keep the food no closer than 15 mm from the door.
CAUTION!
In the event of accidental defrosting, for example, due to a power failure, if the power has been off for longer than the value shown on the rating plate under “rising time”, the defrosted food must be consumed quickly or cooked immediately then cooled, and then re-frozen.
Refer to “High-temperature alarm”.
5.3 Thawing
Deep-frozen or frozen food, prior to being consumed, can be thawed in the refrigerator or inside a plastic bag under cold water.
This operation depends on the time available and on the type of food. Small pieces may even be cooked still frozen.
6.2 Hints for freezing
- Activate Frostmatic function at least 24 hours before placing the food inside the freezer compartment.
- Before freezing wrap and seal fresh food in aluminum foil, plastic film or bags, airtight containers with lid.
- For more efficient freezing and thawing divide food into small portions.
- It is recommended to put labels and dates on all your frozen food. This will help to identify foods and to know when they should be used before their deterioration.
- The food should be fresh when being frozen to preserve good quality.
Especially fruits and vegetables should be frozen after the harvest to preserve all of their nutrients. - Do not freeze bottles or cans with liquids, in particular drinks containing carbon dioxide – they may explode during freezing.
- Do not put hot food in the freezer compartment. Cool it down at room temperature before placing it inside the compartment.
- To avoid an increase in temperature of already frozen food, do not place fresh unfrozen food directly next to it. Place food at room temperature in the part of the freezer compartment where there is no frozen food.
- Do not eat ice cubes, water ices, or ice lollies immediately after taking them out of the freezer. Risk of frostbites.
- Do not re-freeze defrosted food. If the food has defrosted, cook it, cool it down, and then freeze it.
6.3 Hints for storage of frozen food
- Higher temperature settings inside the appliance may lead to shorter shelf life.
- The whole freezer compartment is suitable for the storage of frozen food products.
- Leave enough space around the food to allow air to circulate freely.
- For adequate storage refer to the food packaging label to see the shelf life of food.
- It is important to wrap the food in such a way that prevents water, humidity, or condensation from getting inside.
6.4 Shopping tips After grocery shopping:
- Ensure that the packaging is not damaged – the food could deteriorate. If the package is swollen or wet, it might have not been stored in the optimal conditions, and defrosting may have already started.
- To limit the defrosting process buy frozen goods at the end of your grocery shopping and transport them in a thermal and insulated cool bag.
- Place the frozen foods immediately in the freezer after coming back from the shop.
- If food has defrosted even partially, do not re-freeze it. Consume it as soon as possible.
- Respect the expiry date and the storage information on the package.
6.5 Shelf life
| Type of food | Shelf life (months) |
| Bread | 3 |
| Fruits (except citrus) | 6 – 12 |
| Vegetables | 8 – 10 |
| Leftovers without meat | 1 – 2 |
| Dairy food: | |
| Butter Soft cheese (e.g. mozzarella) Hard cheese (e.g. parmesan, cheddar) | 6 – 9 3 – 4 6 |
| Seafood: | |
| Fatty fish (e.g. salmon, mackerel) Lean fish (e.g. cod, flounder) Shrimps Shucked clams and mussels Cooked fish | 2 – 3 4 – 6 12 3 – 4 1 – 2 |
| Meat: | |
| Poultry Beef Pork Lamb Sausage Ham Leftovers with meat | 9 – 12 6 – 12 4 – 6 6 – 9 1 – 2 1 – 2 2 – 3 |
CARE AND CLEANING
WARNING!
Refer to Safety chapters.
7.1 Cleaning the interior
Before using the appliance for the first time, the interior and all internal accessories should be washed with lukewarm water and some neutral soap to remove the typical smell of a brand-new product, then dried thoroughly.
CAUTION!
Do not use detergents, abrasive powders, chlorine, or oil-based cleaners as they will damage the finish.
CAUTION!
The accessories and parts of the appliance are not suitable for washing in a dishwasher.
7.2 Periodic cleaning
The equipment has to be cleaned regularly:
- Clean the inside and accessories with lukewarm water and some neutral soap.
- Regularly check the door seals and wipe them clean to ensure they are clean and free from debris.
- Rinse and dry thoroughly.
7.3 Defrosting of the freezer
The freezer compartment is frost-free.
This means that there is no build-up of frost when it is in operation, neither on the internal walls nor on the foods.
7.4 Period of non-operation
When the appliance is not in use for a long period, take the following precautions:
- Disconnect the appliance from the electricity supply.
- Remove all food.
- Clean the appliance and all accessories.
- Leave the door open to prevent unpleasant smells.
8.1 What to do if…
| Problem | Possible cause | Solution |
| The appliance does not operate. | The appliance is switched off. | Switch on the appliance. |
| The mains plug is not connected to the mains socket correctly. | Connect the mains plug to the mains socket correctly. | |
| There is no voltage in the mains socket. | Connect a different electrical appliance to the mains socket. Contact a qualified electrician. | |
| The appliance is noisy. | The appliance is not supported properly. | Check if the appliance stands stable. |
| The acoustic or visual alarm is on. | The cabinet has been re‐ recently switched on. | Refer to “Door Open Alarm” or “High-Temperature Alarm”. |
| The temperature in the appliance is too high. | Refer to “Door Open Alarm” or “High-Temperature Alarm”. | |
| The compressor operates continually. | Temperature is set incorrectly‐ ly. | Refer to the “Control Panel” chapter. |
| Many food products were put in at the same time. | Wait a few hours and then check the temperature again. | |
| The room temperature is too high. | Refer to the “Installation” chapter. | |
| Food products placed in the appliance were too warm. | Allow food products to cool to room temperature before storing. | |
| The door is not closed correctly. | Refer to the “Closing the door” section. | |
| The Prostatic function is switched on. | Refer to the “Frostmatic function” section. | |
| The compressor does not start immediately after pressing the “Frostmatic”, or after changing the temperature. | The compressor starts after a period of time. | This is normal, no error has occurred. |
| The door is misaligned or inter‐ feres with a ventilation grill. | The appliance is not level-led. | Refer to installation instructions. |
| The door does not open easily. | You attempted to re-open the door immediately after closing. | Wait a few seconds between closing and re-opening the door. |
| There is too much frost and ice. | The door is not closed correctly. | Refer to the “Closing the door” section. |
| The gasket is deformed or dirty. | Refer to the “Closing the door” section. | |
| Food products are not wrapped‐ ped properly. | Wrap the food products better. | |
| Temperature is set incorrectly‐ ly. | Refer to the “Control Panel” chapter. | |
| The appliance is fully loaded and is set to the lowest temperature. | Set a higher temperature. Refer to the “Control Panel” chapter. | |
| The temperature set in the appliance is too low and the ambient temperature is too high. | Set a higher temperature. Refer to the “Control Panel” chapter. | |
| Water flows on the floor. | The melting water outlet is not connected to the evaporative tray above the compressor. | Attach the melting water outlet to the evaporative tray. |
| Temperature cannot be set. | The “Frostmatic function” is switched on. | Switch off “Frostmatic function” manually, or wait until the function deactivates automatically to set the temperature. Refer to the “Frostmatic function” section. |
| The temperature in the appliance is too low/too high. | The temperature is not set correctly. | Set a higher/lower temperature. |
| The door is not closed correctly. | Refer to the “Closing the door” section. | |
| The food products’ tempera‐ there is too high. | Let the food products temperature decrease to room temperature before storage. | |
| Many food products are stored‐ ed at the same time. | Storeless food products at the same time. | |
| The door has been opened often. | Open the door only if necessary. | |
| The Prostatic function is switched on. | Refer to the “Frostmatic function” section. | |
| There is no cold air circula‐ on in the appliance. | Make sure that there is cold air circulation in the appliance. Refer to the “Hints and Tips” chapter. |
NOISES

TECHNICAL DATA
The technical information is situated in the rating plate on the internal side of the appliance and on the energy label.
The QR code on the energy label supplied with the appliance provides a web link to the information related to the performance of the appliance in the EU EPREL database.
Keep the energy label for reference together with the user manual and all other documents provided with this appliance.
It is also possible to find the same information in EPREL using the link https://eprel.ec.europa.eu and the model name and product number that you find on the rating plate of the appliance.
See the link www.theenergylabel.eu for detailed information about the energy label.
INFORMATION FOR TEST INSTITUTES
Installation and preparation of the appliance for any EcoDesign verification shall be compliant with EN 62552.
Ventilation requirements, recess dimensions, and minimum rear clearances shall be as stated in this User Manual at Chapter 3. Please contact the manufacturer for any other further information, including loading plans.
ENVIRONMENTAL CONCERNS
Recycle materials with the symbol
.
Put the packaging in relevant containers to recycle it. Help protect the environment and human health by recycling waste of electrical and electronic appliances. Do not dispose of appliances marked with the symbol
with the household waste. Return the product to your local recycling facility or contact your municipal office.

12002358-A-272020
















