DOMETIC CF 11 CF SERIES Compressor cooler User Manual
Please read this manual carefully before starting the device. Keep it in a safe place for future reference. If the device is passed on to another person, this manual must be handed over to the user along with it.
The manufacturer cannot be held liable for damage resulting from improper usage or incorrect operation.
Explanation of symbols
WARNING!
Safety instruction: Failure to observe this instruction can cause fatal or serious injury.
CAUTION!
Safety instruction: Failure to observe this instruction can lead to injury.
NOTICE!
Failure to observe this instruction can cause material damage and impair the function of the product.
NOTE
Supplementary information for operating the product.
Safety instructions
General safety
WARNING!
- Do not operate the cooling device if it is visibly damaged.
- If this cooling device’s power cable is damaged, it must be replaced by the manufacturer, customer service or a similarly qualified person in order to prevent safety hazards.
- This cooling device may only be repaired by qualified personnel. Improper repairs can lead to considerable hazards.
- This cooling device can be used by children aged 8 years or over, as well as by persons with diminished physical, sensory or mental capacities or a lack of experience and/or knowledge, providing they are supervised or have been taught how to use the cooling device safely and are aware of the resulting risks.
- Cleaning and user maintenance must not be carried out by children without supervision.
- Children must not play with the cooling device.
- Children must be supervised to ensure that they do not play with the cooling device.
- Always keep and use the cooling device out of the reach of children under the age of 8 years.
- Do not store any explosive substances such as spray cans with a flammable propellant in the cooling device.
CAUTION!
- Disconnect the cooling device from the power supply
- before each cleaning and maintenance
- after every use
- Food may only be stored in its original packaging or in suitable containers.
NOTICE!
- Check that the voltage specification on the type plate corresponds to that of the energy supply.
- Only connect the cooling device as follows:
- With the DC connection cable to a DC power supply in the vehicle
- Or with the AC connection cable to the AC power supply
- Never pull the plug out of the socket by the cable.
- If the cooling device is connected to the DC outlet: Disconnect the cooling device and other power consuming devices from the battery before connecting a quick charging device.
- If the cooling device is connected to the DC outlet: Disconnect the cooling device or switch it off when you turn off the engine. Otherwise you may discharge the battery.
- The cooling device is not suitable for transporting caustic materials or materials containing solvents.
- The insulation of the cooling device contains flammable cyclopentane and requires special disposal procedures. Deliver the cooling device at the end of its life-cycle to an appropriate recycling.
Operating the cooling device safely
CAUTION!
- Before starting the cooling device, ensure that the power supply line
and the plug are dry.
NOTICE!
- Do not use electrical devices inside the cooling device unless they are recommended by the manufacturer for the purpose.
- Do not place the cooling device near naked flames or other heat sources (heaters, direct sunlight, gas ovens etc.).
- Danger of overheating!
Ensure at all times that there is a minimum of 50 mm ventilation on all four sides of the cooling device. Keep the ventilation area free of any objects that could restrict the air flow to the cooling components.
Do not place the cooling device in closed compartments or areas with none or minimal air flow. - Ensure that the ventilation openings are not covered.
- Do not fill the inner compartment with ice or fluids.
- Never immerse the cooling device in water.
- Protect the cooling device and the cable against heat and moisture.
Scope of delivery
- Compressor cooler
- Connection cable for DC connection
- Connection cable for AC connection
- Operating manual
- Shoulder strap
Intended use
The compressor cooler is suitable for refrigerating and freezing foodstuffs.
The compressor cooler has been designed for operation using a DC socket of a car or caravan as well as an AC mains supply.
The compressor cooler can also be used for camping. The compressor cooler may not be exposed to rain.
CAUTION! Health hazard!
Please check if the cooling capacity of the compressor cooler is suitable for storing the food or medicine you wish to cool.
Technical description
The cooler can chill products, keep them cool as well as freeze them. A low maintenance refrigerant circuit with compressor provides the cooling.
The cooler is portable.
For use in vehicles, the cooling device can be secured with a safety belt.
The cooler can withstand a short term inclination of 30°, for example on boats.
An integrated battery monitor can be switched on to protect your vehicle battery from discharging to dangerously low levels.
Operating and display elements
Control panel
| Item | Description | Explanation | |
| 1 | ON/OFF button | Switches the cooling device on or off when the button is pressed for between one and two seconds | |
| 2 | POWER | Operating display | |
| LED lights up green | Compressor is on; set temperature not yet reached | ||
| LED lights up orange | Set temperature has been reached | ||
| LED flashes orange | Voltage is too low | ||
| 3 | ERROR | LED flashes red | Device is switched on but not ready for operation |
Connection sockets
| Item | Description | Explanation |
| 4 | SET | Selects the input mode
|
| 5 | Display | Displays the temperature in the refrigerator compartment |
| The first three digits of the four-digit display show the tem- perature, the fourth digit indicates the temperature unit (°C or °F). | ||
| When an error occurs, the display shows “Err1” or “Err2”. | ||
| 6 | + | Press once to increase the selected value |
| 7 | – | Press once to decrease the selected value |
- AC voltage supply inlet
- AC fuse holder
- DC voltage supply inlet

Operation
The cooling device is equipped with an LED interior light that remains on when the voltage is applied. The energy consumption of the LED interior light is extremely low and is negligible compared to the total energy consumption of the device.
Before initial use
NOTE
Before starting your new cooler for the first time, you should clean it inside and outside with a damp cloth for hygienic reasons.
Energy saving tips
- Choose a well ventilated location which is protected from direct sunlight.
- Allow warm food to cool down first before placing it in the device to keep cool.
- Do not open the cooling device more often than necessary.
- Do not leave the lid open for longer than necessary.
- Defrost the cooling device as soon as a layer of ice forms.
- Avoid unnecessarily low temperature settings.
Latching the lid

- Close the lid.
- Press the latch (fig.3) down, until it latches in place audibly.
Connecting the cooling device

The cooler can be operated with 12 V or 24 V or 100 – 240 V∼.
NOTICE! Danger of Damage!
- Disconnect the cooler and other consumer units from the battery before you connect the battery to a quick charging device.
- Overvoltage can damage the electronics of the device.
- Place the cooler on a firm base.
- Make sure that the ventilation slots are not covered and that the heated air can be dissipated.
Using the fused DC plug
NOTICE! Danger of damage!
For protection of the device the DC cable supplied includes a fuse inside the plug. Do not remove the fused DC plug.
Only use the DC cable supplied.
NOTE
If you connect the cooler to the DC socket, remember that the ignition must be turned on to supply it with power.
- Plug the DC connection cable (fig.4 2,) into the DC power supply inlet of the cooler (fig. 2 3,).
- Connect the DC connection cable to a DC power outlet.
Connecting to an AC power supply (e.g. at home or in the office)
DANGER! Danger of electrocution
- Never handle plugs and switches with wet hands or if you are standing on a wet surface.
- If you are operating your cooler on board a boat with an AC power supply, you must install a residual current circuit breaker between the power supply and the cooler.
Seek advice from a trained technician.
The cooling device has a built-in multi-voltage mains adapter with a priority circuit for connecting to an AC voltage source. The priority circuit automatically switches to mains operation if the appliance is connected to an AC power supply, even if the DC connection cable is still connected.
- Plug the AC connection cable (fig.4 3,) into the AC power supply inlet of the cooler (fig. 2 1,).
- Connect the AC connection cable to the AC power outlet.
Secure the cooling device in the vehicle
- Open the lid of the cooling device.
- Place the safety strap into the guide (fig. 4 1,) of the cooling device.
- Close the lid.
- Engage the safety strap and tighten it.
Switch on the cooling device
See fig.1
NOTICE! Risk of damage!
- Always ensure sufficient ventilation so that the heat generated during operation can dissipate. Ensure that the ventilation slots are not covered. Make sure that the device is sufficiently far away from walls and other objects so that the air can circulate.
- Ensure that the items placed in the cooler are suitable for cooling to the selected temperature.
- Disconnect the cooler and other electric consumers from the battery before you connect the battery to a quick charging device. Overvoltage can damage the electronics of the device.
For safety reasons, the cooler is equipped with an electronic system to prevent the polarity being reversed.This protects the cooler against reversed polarity when connecting to a battery and against short circuiting.
- Press the ON/OFF button (1) for three seconds.
- The “POWER” LED (2) is lit green.
Once the cooling device has reached the set temperature, the LED lights up orange. - The display (5) switches on and shows the current interior temperature.
- The cooler starts cooling the interior.
- The “POWER” LED (2) is lit green.
Setting the temperature
See fig.1
- Press the “SET” (4) button once.
- Use the “+” (6) and “–” (7) buttons to set the cooling temperature.
- The set cooling temperature then appears in the display for a few seconds. The display flashes several times before it returns to the current temperature.
Selecting the temperature unit
See fig.1
You can switch the temperature display between Celsius and Fahrenheit. To do this, proceed as follows:
- Switch on the cooler.
- Press the “SET” button (4) twice.
- Use the “+” (6) or “–” (7) buttons to set the temperature unit °Celsius or °Fahrenheit.
- The selected temperature units then appear in the display for a few seconds. The display flashes several times before it returns to the current temperature.
Using the battery monitor
NOTICE! Beware of damage
When switched off by the battery monitor, the battery will no longer be fully charged. Avoid starting repeatedly or operating electric consumers without longer charging phases. Make sure that the battery is recharged.
The cooling device is equipped with a multi-level battery monitor that protects your vehicle battery against excessive discharging when the device is connected to the vehicle DC supply.
If the cooler is operated when the vehicle ignition is switched off, the cooler switches off automatically as soon as the supply voltage falls below the set level. The cooler will switch back on once the battery has been recharged to the restart voltage level.
NOTE
When the cooling device is switched off by the battery monitor due to
low voltage, the display (fig.1 5) switches off and the “Power”
LED (fig.1 2) flashes orange.
In HIGH mode, the battery monitor responds faster than at the levels “LOW” and “MED” (see the following table)
Battery monitor mode | LOW | MED | HIGH |
Cut-off voltage at 12 V | 10.1 V | 11.4 V | 11.8 V |
| Cut-in voltage at 12 V | 11.1 V | 12.2 V | 12.6 V |
Cut-off voltage at 24 V | 21.5 V | 24.1 V | 24.6 V |
| Cut-in voltage at 24 V | 23.0 V | 25.3 V | 26.2 V |
This is how to select the battery monitor mode (fig. 1,):
- Switch on the cooler.
- Press the “SET” button (4) three times.
- Use the “+” (6) and “–” (7) buttons to select the battery monitor mode.
- The selected mode then appears in the display for a few seconds. The display flashes several times before it returns to the current temperature.
NOTE
When the cooler is supplied by the starter battery, select the battery monitor mode HIGH. When the cooler is connected to a supply battery, the battery monitor mode LOW will suffice. If you wish to operate the cooling device from the AC mains, set the battery monitor to LOW.
Switching off the cooler
See fig.1
- Empty the cooler.
- Switch off the cooler: Press the ON/OFF button (1) for three seconds.
- Disconnect the plug.
If you do not want to use the cooling device for a longer period of time: - Leave the lid slightly open. This prevents odours from building up.
Defrosting the cooling device
Humidity can form frost in the interior of the cooling device or on the evaporator. This reduces the cooling capacity.
Defrost the device in good time to avoid this.
NOTICE! Risk of damage to the device!
Never use hard or sharp tools to remove ice or to free objects frozen
onto the device.
To defrost the cooling device, proceed as follows
- Empty the contents.
- If necessary, put them in another cooling device to keep them chilled.
- Switch off the device.
- Leave the lid open.
- Wipe off the condensate.
Replacing the AC fuse
DANGER! Danger of electrocution!
Disconnect the connection cable before you replace the device fuse.
- Remove the connection cable.
- Pry out the fuse insert (fig. 2 2,) with a screwdriver.
- Replace the defective fuse with a new one that has the same rating (T4AL 250 V).
- Press back the fuse insert into the housing.
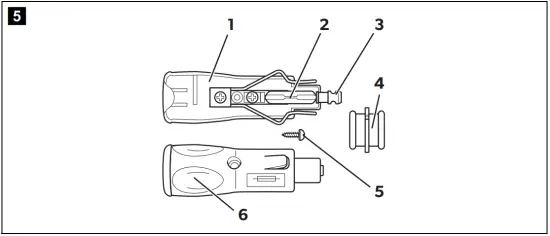
Replacing the DC plug fuse

- Pull the adapter sleeve (4) off of the plug.
- Unscrew the screw (5) out of the upper half of the housing (6).
- Carefully lift the upper half of the housing off the lower half (1).
- Take out the contact pin (3).
- Replace the defective fuse (2) with a fuse with the same type and rating (T8 A 32 V).
- Re-assemble the plug in the reverse order.
NOTE – Internal DC fuse
There is an additional DC fuse inside the device (Automotive standard blade fuse, 10 A). This fuse can only be replaced by an authorised repair centre.
Cleaning and maintenance
WARNING!
Always disconnect the device from the power supply before you clean and service it.
NOTICE! Risk of damage
- Never clean the cooler under running water or in dish water.
- Do not use abrasive cleaning agents or hard objects during cleaning as these can damage the cooler.
- Occasionally clean the device interior and exterior with a damp cloth.
- Make sure that the air inlet and outlet vents on the device are free of any dust and dirt, so that heat can be released and the device is not damaged.
Troubleshooting
Problem | Possible cause | Suggested remedy |
| Device does not function, “POWER” LED does not light up. | No voltage was detected in the DC power outlet. | In most vehicles the ignition must be turned on before power will be supplied to the DC power outlet. |
| No voltage present in the AC power outlet. | Try using another plug outlet. | |
| The device fuse is defective. | Replace the device fuse, see chapter “Replacing the AC fuse”. | |
| The integrated mains adapter is defective. | This can only be repaired by an authorised repair centre. | |
| The device does not cool (plug is inserted, “POWER” LED is lit). | Defective compressor | This can only be repaired by an authorised repair centre. |
| The device does not cool (plug is inserted, “POWER” LED flashes, display is switched off). | Battery voltage is too low. | Test the battery and charge it when needed.
|
| When operating from the DC outlet: The ignition is on, the device is not working and the “POWER” LED is not lit. Pull the plug out of the DC power outlet and make the following checks. | The DC outlet is dirty. This results in a poor electrical contact. | If the plug of your cooler becomes very warm in the DC outlet, either the DC outlet must be cleaned or the plug has not been assembled correctly. |
| The fuse of the DC plug has blown. | Replace the fuse of the DC plug, see chapter “Replacing the DC plug fuse” | |
| The DC fuse inside the device has blown. | This can only be repaired by an authorised repair centre. | |
| The vehicle fuse has blown. | Replace the vehicle’s DC outlet fuse. Please refer to the operating manual of your vehicle. |
Guarantee
The statutory warranty period applies. If the product is defective, please contact the manufacturer‘s branch in your country (see the back of the operating manual for the addresses) or your retailer.
For repair and guarantee processing, please include the following documents when you send in the device:
- A copy of the receipt with purchasing date
- A reason for the claim or description of the fault.
Disposal
- Place the packaging material in the appropriate recycling waste bins wherever possible.
If you wish to finally dispose of the product, ask your local recycling centre or specialist dealer for details about how to do this in accordance with the applicable disposal regulations.
Technical data
| CF 11 | |
| Ref. no.: | 9600010779 |
| Voltage: | 12/24 Vg and 100 – 240 Vw |
| Power consumption: | 30 W |
| Rated current: | |
| 100 Vw: | 0.5 A |
| 240 Vw: | 0.2 A |
| 12 Vg: | 2.2 A |
| 24 Vg: | 1.3 A |
| Cooling range: | +10 °C to –18 °C (+50 °F to –64 °F) |
| Energy efficiency class: | A++ |
| Category: | Category 1 (refrigerator with one or more fresh-food storage compartments) |
| Climate class: | N or T |
| Ambient temperature: | +16 °C to+43 °C (+61 °F to +109 °F) |
| Noise emission: | 46 dB (A) |
| Gross capacity: | 11 l |
| Storage capacity: | 10.5 l |
| Refrigerant quantity: | 28 g |
| CO2 equivalent: | 0.040 t |
| Global warming potential (GWP): | 1430 |
| Dimensions (W x H x D): | 235 x 358 x 540 mm |
| Weight: | 8.5 kg |
| Inspection/certification: | ![]() |
NOTE
If the ambient temperature is above +32 °C (90 °F), the minimum temperature cannot be attained.
The refrigerant circuit contains R134a. Contains fluorinated greenhouse gases Hermetically sealed equipment.
YOUR LOCAL DEALER
dometic.com/dealer
YOUR LOCAL SUPPORT
dometic.com/contact
YOUR LOCAL SALES OFFICE
dometic.com/sales-offices
A complete list of Dometic companies, which comprise the Dometic Group, can be found in the public filings of:
DOMETIC GROUP AB
Hemvärnsgatan
15 SE-17154 Solna
Sweden
![]()




















