Item Number: 5106235
5106235 Everly Electroplate Copper with Clear Bell
WARNING (To reduce the risk of fire, electric shock, or personal injury):
- We suggest installation by a licensed electrician.
- Please read the instruction carefully and save it as you may need it at a later time.
- Before you start, NEVER attempt any work without shutting off the electricity until the work is done.
» Go to the main fuse, or circuit breaker, box in your home. Place the main power switch in the “OFF” position.
» Place the wall switch in the “OFF” position. - Mounting surface should be clean, dry, flat, strong enough and 1/4″ larger than the canopy on all sides. Any gaps between the mounting surface and canopy exceeding 3/16″ should be corrected as required.
- Make sure that the ceiling or wall can stand the weight of the lamp before installation.
- Make sure the voltage you are using is 120V. The maximum wattage is 60W per bulb.
- Keep the lamp away from acidic and alkaline substances in case of damaging the surface of the lamp.
- When replacing bulbs, you should turn off or unplug the lamp and you must wait until it is cool as bulbs get hot quickly.
- The safety instructions appearing in this manual are not meant to cover all possible conditions that may occur. It must be understood that common sense, caution and care must be used with any electrical products.
IMAGE FOR FINISHED PRODUCT:

TOOLS REQUIRED (NOT INCLUDED):
Before starting assembly and installation please prepare the needed tools as below picture

PARTS TYPE & QTY INCLUDING:

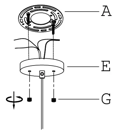
(A) Mounting plate assembly (1)
(B) Green ground screw (1)
(E) Canopy (1)
(F) Strain relief (2)
(G) Ball knob (2)
(H) Cord (1)
(I) Socket (1)
(J) Glass shade (1)
ACCESSORIES & QTY ENCLOSED:
(C) Plastic Wire Connector (3)
(D) Mounting screw (2)
(K) Allen wrench (1)
ASSEMBLY & INSTALLATION INSTRUCTIONS:
- Carefully remove the fixture from the carton and check that all parts and accessories are included as shown in the above illustration.
- Turn off power Before you start the installation, NEVER attempt any work without shutting off the electricity until the work is done.
» Go to the main fuse, or circuit breaker, box in your home. Place the main power switch in the “OFF” position.
» Place the wall switch in the “OFF” position. - Unscrew ball knobs (G) from canopy (E).
Gently remove mounting plate assembly (A).
- Adjust the length of cord (H) to achieve the desired height of the mounted fixture.
1) Use Allen wrench (K) to unscrew the screw in strain relief (F), carefully pull and push cord (H) through canopy (E) and strain relief (F) to lengthen or shorten the length of cord (H).
2) Once the desired height of fixture is achieved, carefully tighten the screw till snug.
NOTE: To prevent cord (H) from slipping out of canopy (E), make an overhand knot of cord (H).
- If needed, shorten the extra length of the fixture wiresfrom cord (H) so that they all are at least 6 inches(152.4 mm) long above canopy (E) within the outlet box.

- Carefully pass supply wires through mounting plate assembly (A).
Secure mounting plate assembly (A) to the outlet box with mounting screws (D).
NOTE: the side of mounting plate (A) marked “GND” must face out.
- Make wire connections Connect wires as below wires connection shown. REFER TO THE FOLLOWING CHARTS, NEVER CONNECT OTHER WIRES TO GROUND WIRES.
Connect ground wires according to the below chart
Connect wires according to the below chartConnect Black or Red Supply Wire to: Connect White Supply Wire to: Black White *Parallel cord (round & smooth) *Parallel cord (square & ridged) Clear, Brown, Gold or Black without tracer Clear, Brown, Gold or Black with tracer Insulated wire(other than green) with copper conductor Insulated wire(other than green) with silver conductor * Note: When parallel wires (SPT I& SPT ll) are used. The neutral wire is square shaped or ridged and the other wire will be round in shape or smooth (see illus.)
• Twist wires together with plastic wire connector (C) until tightly joined.
• Wrap each connector with approved electrical tape for a more secure connection.
• Carefully tuck all wires into the outlet box. - Fix canopy (E) to mounting plate assembly (A).
Secure with the previously removed ball knobs (G).
Note: canopy (E) should be snug against the ceiling and ball knobs (G). If not, adjust the threaded length of the preassembled mounting screws on mounting plate assembly (A):
• Unscrew the pre-assembled hex nuts.
• Screw the pre-assembled mounting screws in or out of mounting plate (A).
• When the secure length is achieved, tighten the pre-assembled hex nuts and back to step 8.
- Install the bulb (Not included) (Please do not exceed the maximum wattage recommended on the socket.)

- Check everything is already installed properly, then you could turn on the light. Enjoy!
ORDERING PARTS
Keep this sheet for future reference in case you need to order replacement parts. All parts for this fixture can be ordered from the place of purchase. Be sure to use exact wording from illustration when ordering parts.
CLEANING
To clean, wipe the fixture with a soft cloth. Clean glass with a mild cleaner (such as mild and non-abrasive soap). Do not use abrasive materials such as scouring pads or powders, steel wool or abrasive paper.




Connect wires according to the below chart
• Twist wires together with plastic wire connector (C) until tightly joined.



















