ASHLEY T929-20 Living Room Carynhurst Coffee Table Instruction Manual

IMPORTANT SAFETY NOTICE: READ CAREFULLY BEFORE BEGINNING ASSEMBLY!
- Always use proper tools.
- Follow the assembly steps in order. Do not skip any steps.
- Be sure to check all pocking materials carefully for small ports may hove come loose inside the carton during shipment. If parts are missing, contact the retailer from which you purchased the product to obtain any missing ports. DO NOT USE SUBSTITUTE PARTS.
- Periodically check to ensure that all connectors (bolts, screws, etc.) are tight.
- Keep the instructions for future reference.
- Some assembly may involve attaching gloss or mirrors. Be very careful handling the gloss or mirrors, as severe injury may result if the gloss or mirror breaks. Never handle large pieces of gloss or mirrors by yourself.
- When assembling products that have electric cords (lamps, light, etc.), always (1) make sure the electrical cord is unplugged before assembly and (2) be careful not to twist the electrical cord during assembly.
- When assembling shelves or entertainment centers, do not stand on lower shelves in order to assemble upper shelves—use a step ladder.
- Do not stand on tables, including but not limited to, end tables, coffee tables, and dinner tables, as tables are not to support the weight of o person.
- Where assembly instructions state that the assembly requires two or more people do not attempt by yourself as there is o risk of injury.
![]()
NOTE:
ASHLEY FURNIRIRE INDUSTRIES. LLC DISCLAIMS ANY LIABILITY FOR DAMAGES OR INJURIES WHICH WAY OCCUR DUE TO \ FAIURE TO PROPERLY FOLLOW ASSEMBLY INSTRUCTORS. PROPERLY ASSEMBLE THE PRODUCT, OR PROPERLY USE THE PRODUCT.
NOTE:
YOUR UNIT MAY LOOK DIFFERENT IN APPEARANCE FROM THE ONE SHOWN IN THE ILLUSTRATIONS ON THIS INSTRUCTION SHEET.
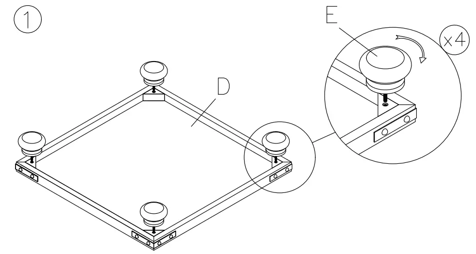
Package Contents

![]()
NOTE:
UNIT SHOULD BE ASSEMBLED BY TWO OR MORE PEOPLE.
DO NOT TIGHTEN ANY BOLTS UNTIL ALL BOLTS HAVE BEEN STARTED!
INSTALLATION INSTRUCTION

























