
ENEBY
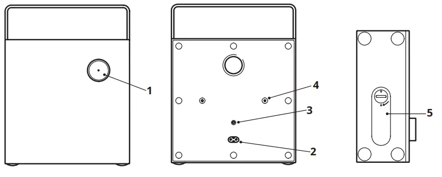
ENEBY 20/30 overview
ENEBY 20 gen 2 (E1720)

ENEBY 30 gen 2 (E1730)

- Power On/Off/Volume control
- AC IN
- AUDIO IN
- For ENEBY wall mount and ENEBY Stand (sold separately)
- Battery compartment lid (only on ENEBY 20, sold separately)
Getting started:
- Connect main cord into AC In (2) connector.
- A quick press on the knob (1) turns the speaker On. ENEBY 20/30 starts to search for paired devices. If a paired device is found, the LED shines without blinking and your speaker is ready to use.
- If no device is found the speaker LED continues to blink and enters pairing mode automatically. Go to the Bluetooth settings in your mobile device and connect to ENEBY 20/30. The LED should now stop blinking and your speaker is ready to use.
If no music has been playing for 20min, the speaker will enter sleep mode.
Adjust Volume
Turn the knob (1) left to decrease or turn it right to increase the volume level.
Add additional Bluetooth device(s)
(max 8 devices)
- Make sure no other device is paired and in range to the speaker.
- Go to your Bluetooth menu on your mobile device and connect to ENEBY 20/30.
- Once the Bluetooth connection is established, the white LED stops blinking.
Unpair Bluetooth device
Go to your Bluetooth menu on your mobile device and unpair ENEBY 20/30 from your devices.
Play music from external sources:
Connect a portable audio device to the AUDIO IN (3) jack on the rear panel. The speaker automatically detects the external input and disables Bluetooth functionality. Use a 3.5mm 3-pol Audio cable for this feature.
Use speaker throughout the home:
ENEBY 20 has the possibility to be portable. ENEBY battery pack is sold separately.
- To insert the battery, open the compartment lid (5) and insert the battery in the correct direction.
- The battery is charging in the product when the mains cord is connected and the speaker is turned on.
- When the battery is low a red LED in the knob (1) will flash. During charging the red LED is on.
Attach Speaker to a wall or a stand:
ENEBY wall mount and ENEBY stand are accessories and are sold separately.
Use holes (4) and included screws to mount stand or wall mount. Do not over-tighten the screws.
| Other settings: | |
| Unpair Bluetooth devices | Press and hold the knob (1). Release the knob when the LED light turns red the first time. A confirmation sound will be played. (Note that on some phone models you also need to remove ENEBY20/30 from the phone’s paired devices list to be able to pair again.) |
| Set up a stereo pair | You can pair two identical ENEBY speakers to create a wider stereo experience. In this configuration, one speaker serves as the left channel and the other serves as the right channel. On/Off and Volume need to be controlled individually on each speaker. 1. Turn on both speakers. 2. Press and hold the knobs (1) at the same time. Release the knobs when the LED light turns red the second time. Wait 2 seconds. A confirmation sound will be played. 3. Short press the knob (1) once again on one of the speakers. This speaker is now assigned as the left channel. 4. Open the Bluetooth setting on your mobile device and connect to the ENEBY speaker. To disable the stereo pair, follow the instructions “Unpair Bluetooth devices” on both speakers. |
| Set bass and treble | During playback press and hold the knob (1). Release the knob when the LED light turns red the third time. This activates the bass setting. The LED light flashes slowly. Turn left/right to adjust the bass. Confirm the bass setting and activate the treble setting by pressing the knob once. The LED light flashes quickly. Turn left/right to adjust the treble. Confirm by pressing the knob once and this also exits the sound settings. |
| Disable the auto-off function | Press and hold the knob (1). Release the knob when the LED light turns red the fourth time. A confirmation sound will be played. ENEBY will now not turn off automatically. |
| Factory reset | Press and hold the knob (1). Release the knob when the LED light turns red the fifth time (after approximately 30 seconds). A louder confirmation sound will be played. The factory reset will clear all Bluetooth devices and sound settings, and it will activate the auto-off function. |
Safety and important notice
WARNING:
- Risk of overheating! Never install the product in a confined space. Always leave a space of at least 5 mm around the product for ventilation.
Ensure curtains or other objects never cover the ventilation slots on the product. - Never place the product or batteries near open flames or other heat sources, including direct sunlight.
- Only use this product indoors. The apparatus shall not be exposed to dripping or splashing, no objects filled with liquids, such as vases, shall be placed on the apparatus.
- Never place this product on other electrical equipment.
- The mains plug or an appliance coupler is to be used as a disconnect device, the disconnect device shall remain readily operable.
- If the supply cord is damaged, replace it with a new cord set that is type-approved for your country.
- Batteries (battery pack or batteries installed) shall not be exposed to excessive heat such as sunshine, fire, or similar.
IMPORTANT!
- The speaker is for indoor use only and can be used in temperatures ranging from 0º C to 40º C.
- Do not leave the speaker in direct sunlight or near any heat source, as it may overheat.
- Do not subject the speaker to wet, moist, or excessively dusty environments, as this may cause damage.
- The range between the speaker and the receiver is measured in the open air.
- Different building materials and placement of the units can affect the wireless connectivity range.
- Too high a volume can damage your hearing.
- Do not touch the acoustic components.
- Don not use the product as a shelf or stand.
CARE INSTRUCTIONS
To clean the speaker, wipe with a moist cloth. Never submerge the speaker in water.
NOTE!
Never use abrasive cleaners or chemical solvents as this can damage the product.
Product servicing
Do not attempt to repair this product yourself, as opening or removing covers may expose you to dangerous voltage points or other risks.
Manufacturer: IKEA of Sweden AB
Address: Box 702, SE-343 81 Älmhult, SWEDEN
The Bluetooth® word mark and logos are registered trademarks owned by Bluetooth SIG, Inc. and any use of such marks by IKEA is under license. Other trademarks and trade names are those of their respective owners.
The crossed-out wheeled bin symbol indicates that the item should be disposed of separately from household waste. The item should be handed in for recycling in accordance with local environmental regulations for waste disposal. By separating a marked item from household waste, you will help reduce the volume of waste sent to incinerators or land-fill and minimize any potential negative impact on human health and the environment. For more information, please contact your IKEA store.
Troubleshooting
| Problem | Tip |
| Cannot use Bluetooth: | Make sure 3.5mm connector is not plugged into AUDIO IN jack on rear panel. |
| Make sure your phone, tablet or other media device supports Bluetooth. | |
| Make sure to connect to the IKEA device called ENEBY 20/30 | |
| Make sure your phone, tablet or other media device is paired and that its Bluetooth is turned on. | |
| Make sure no other Bluetooth devices in the room are paired. If so, turn off the Bluetooth function in that device. | |
| Poor sound quality when playing via Bluetooth: | If Bluetooth reception is poor, move the device closer to the speaker or remove any obstacles between the device and the speaker. Note: Bluetooth reception will normally operate at a distance of up to 6-8m in conditions with an unobstructed path. When objects, furniture or walls are in between, Bluetooth reception will be reduced. When the device is placed in pockets of clothes or in a bag, Bluetooth reception can be reduced. |
| Poor sound quality when playing via AUDIO IN input: | Make sure your phone, table,t or other media device is not at maximum volume, if so, turn down the volume. |
Technical data
| Model Name | ENEBY 20 gen 2 | ENEBY 30 gen 2 |
| Type number: | E1720 | E1730 |
| Input: | 100-240VAC 50-60Hz | |
| Standby Power Consumption: | <0.5 W | |
| Rated Power Consumption: | 39W | 40W |
| Operating temperatures: | 0°C to 45°C | |
| Operating humidity: | 0 to 95%RH | |
| Dimensions (mm): | 199x199x80 (without handle) | 299x299x106 |
| Weight: | 1.5kg (without battery) | 3.8kg |
| Audio In: | 3.5mm jack | |
| Audio In Input sensitivity: | 1.65V max | |
| Battery playtime at 50% volume: | 8-10 Hours | N/A |
| Auto Standby: | 20 min | |
| Speaker type: | mixed mono | |
| Woofer: | 1 x 3.2″ | 2 x 4″ |
| Soft dome tweeter: | 1 x 1″ | |
| Amplifier output power: | 1x15W + 1x5W | 2x15W + 1x12W |
| Frequency range: | 57 – 20 kHz | 48 – 20 kHz |
| Bluetooth Version: | V 4.2 | |
| Wireless range in the open air: | 8-10 m | |
| Operating frequency: | 2.4 – 2.48 GHz | |
| Radio output power: | 4 dBm | 9 dBm |
© Inter IKEA Systems B.V. 2020
AA-2226920-3


















