
Smart WIFI PTZ Camera
Easy Installatton&Easy Operation
User Manual
WP-245-W Smart Wifi PTZ Camera
iPhone and Android configuration Wifi network demo video
Thanks for you choosing Anpviz wireless network security camera.
This manual applies to the PTZ I Bullet/Dome IP Cameras. Please download the correct PC software from the following link:
https://anpvizsecurity.com/download/u-easy-camhi-series-c0096 Hotspot distribution network and wired distribution network operation video, please scan the code and click the QR code below to view:
General Introduction
The Anpviz camhi series security cameras consists of various indoor and outdoor cameras with different shapes and functions. Users can monitor multiple security cameras on the same device. Anpviz camhi series security cameras support Android and iOS smartphones as well as tablets, Windows PC and Mac. All security cameras are equipped with LAN ports and support wired connections.
Setting up the security camera
The security camera starts operating immediately after the power is switched on. We recommend you connect the security camera to your mobile device or PC; in that case, you can access the security camera more easily. There are 3 ways to add and manage the camera: using the mobile phone APP, PC software or the PC browser.
Product Introduction
This is a network camera for security surveillance, It is connected to the Internet through network cable or Wi-Fi for data transmission and reception, you can use it to remotely watch real-time images on mobile phone and computer anytime anywhere, it can save video in the Micro SD card or computer, you can set motion detection and humanoid detection alarm on the camera, when the alarm is triggered, the camera can send email, push phone message, and make alarm sound, and other more functions.
Product ListNO. Name QTY 1 IP Camera 1 PCS 2 12V Power Adapter 1 PCS 3 Quick Start Guide 1 PCS 4 Installation Accessories 1 PCS 5 Network cable (Some models include) 1 PCS
Product Precautions
The proper environment temperature for this camera range from -20 t to 50 t , Please avoid exposing it to too much hotter or colder environment. When installing the camera, please protect the camera’s interface cable and power supply, please make sure they cannot be short-circuited or be lengthened.
For better user experience, please keep the front and both sides of the camera lens away from objects reflective as glass, white wall etc, so that the picture function well without overexposure.
Make sure the camera has been placed in areas of good signal of the Wi-Fi, set it up away from somewhere might jamming signal as metal or microwave oven.
If it is a PTZ rotation type camera, do not twist the camera to force it to rotate, if you need to adjust the monitoring orientation, you can adjust it through the PT function of the mobile APP or computer.
PRODUCT INTRODUCTION

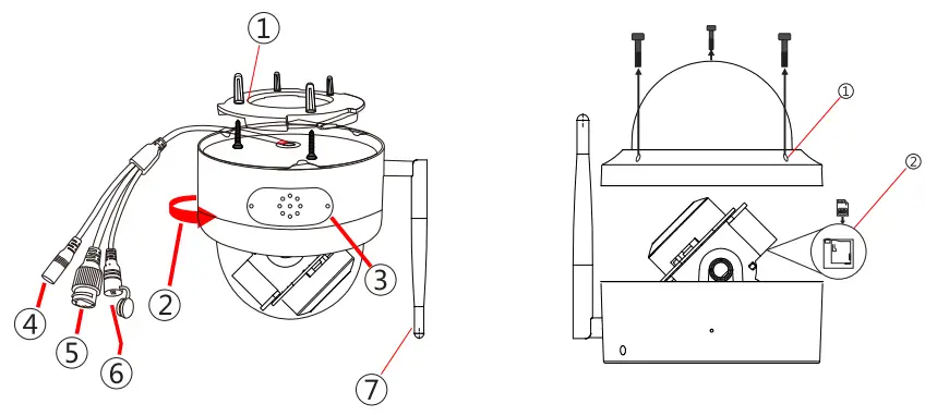
| 1. Install the quick assembly block a ccording to the hole position 2. Speaker 3. LAN Port 4. WIFI Antenna | 2. Align the bottom of the camera and rotate it to the right 4. DC 12V Power Port 6. Reset Button | 1. Unscrew the screw to open the camera mask 2. Find the SD card slot and insert the SD card 3. If the purchased camera already has an SD card installed,there is no need to disassemble the camera to install it. |

Dome type
1. Install it quickly and tighten the screws to fix the camera.

Note: Please refer to the actual product received.
Add camera to mobile phone app
Power on

1.1 Download App
Download “CamHiPro” or “CamHi” from Google Play Store / Apple App Store or scan the QR code below to get APP information.
![]() | ![]() |
| https://play.google.com/store/apps/details?id=com.hichip.campro | https://apps.apple.com/us/app/camhipro/id1420815722?l=zh&ls=1 |

1.2 Add camera to App
1.2.1 Method 1: Configure network via hotspotConnect the camera to the power supply and place the camera near the mobile device and router.Connect the iPhone to the camera’s wifi hotspot
Open the APP “CamHiPro” and follow the steps below:


Note: When the Wi-Fi connection is successful, you will hear the sound “ding…” fromcamera, if not, please check your Wi-Fi password and reconfigure. Android phone: Open the “CamHipro” app, chick add icon “+”, and follow the steps prompted by the app,follow the steps below:



Go to the WLAN settings of the mobile device and find the network called “IPCAM-XXXXXX” (the camera’s network) in the WiFi list. Enter the password “01234567” to connect. Your mobile device will be connected to the camera’s network.
Note: After successfully connecting to the hotspot of the camera, the Android phone may indicate that the network cannot be connected to the Internet. If you want to continue connecting, please click Always connect to this camera hotspot network.
Return to the camhipro interface and follow the steps

Choose your Wi-Fi and enter the password, then click “Configure wireless and add devices”,camera Configure wireless and added successfully.
Method 2: Connect camera with network cable
Connect the power and network cable to the camera, make sure the network cable is connected to your router and can connect to the Internet through the router, and your phone is also connected to the router’s Wi-Fi.
Open the APP and click “Add Camera”-“IP camera”-“New device”-“Power is on, next step” until “Confirm access network cable” page, then follow the steps below:

If you want to use a network cable to connect to the camera, please click “Not configured yet, add directly” and continue.Then follow the steps of the app to add the camera If you want to change to Wi-Fi connect, please choose “Configure wireless and add devices” and continue, when the configure is finished, you need to unplug the network cable to activate Wi-Fi connect.
1.3 APP Preview and function introduction

- Camera network status
- Display Mode
- Add
- name
- Camera UID
- SD card video playback and backup
- Local video files and pictures
- Camera SettingClick the online camera picture to view

The function that corresponds to the APP icon.

Install Micro SD Card and Record Settings
Install the SD card to the camera, and check the status of the SD card.

Set alarm push and alarm recording

Record playback

Please read instructions in the product information for more operation
Watch on Computer
“Search tool” Install the “Search tool” from CamHi IP camera product information you candownload it at https://anpvizsecurity.com/download/u-easy-amhi-series-c0096.

The search tool can help you find camera in the LAN and modify the IP address of the camera if it does not match your network.
Web access
Double-click the camera in the search tool to open the browser to visit the camera.


In the browser you can configure all parameters of the camera, if you do not use IE browser, some settings cannot be configured.
HiP2P Client” multi-channel management client
Install the “HiP2P Client” client, you can find installation file and instructions in CamHi IP camera product information.

Run the client, the administrator password is empty bydefault, enter the “Config” page, click “Search” to find the ameras in the LAN and add them, or click “Input UID” to add the other remote cameras, you can find the camera’s UID serial number on the label.
After adding the camera, double-click the camera to watch the live video.

In the client, you can manage multiple cameras and watch up to 32 channel live videos at the same time, you can save the video on the computer, you can playback the local video (computer) and remote video (SD card), you can configure parameters of camera etc., please read instructions for more operations.
FAQ
– A:If you forget the password, please reset the camera through the reset button of the camera, press and hold the reset button of the camera for about 15-20s, hear the sound of dong from the camera, then release the button and wait for the camera to reset successfully.
– A: Check whether the Wi-Fi signal is sufficient, the Wi-Fi name and password are correct, the Wi-Fi name and password must be in English characters, the Wi-Fi password length cannot exceed 31 characters.
– A: Please make sure your phone can be connected to the Internet, the camera’s wired/Wi-Fi connection is correct and can be conne-cted to the Internet, If the camera is connected Wi-Fi, whether the Wi-Fi signal of the camera installation location is sufficient, check whether the Wi-Fi name or password has been changed.
– A: Please make sure that the internet connection of the phone and the camera is good, stable and at least 2Mbps, if the camera is connected Wi-Fi, make sure that the signal at the installation location is sufficient.
– A: Please check if the alarm push is turned on and the alarm settings are correct(Setting – Alarm management and notification), whether the APP allows push permission on the mobile phone.
– A: Please check whether the SD card is installed in the camera, whether the SD card is damaged, and whether the time zone of the camera is correct


Thank you for choosing Anpviz security camera! If you have any ouestions about our products and service, Please do not hesitate to contact us :
: www.anpvizsecurity.com
: [email protected]
[email protected]
: @AnpvizTech
: Anpvizsupport
https://www.youtube.com/user/Uinvision/videosMade in China
V1.0.20220518























