

SPRAY GUN & AIR HOSE KIT
MODEL NO: KIT300B
PART NO: 3108000
OPERATION & MAINTENANCE
INSTRUCTIONS
ORIGINAL INSTRUCTIONS
INTRODUCTION
Thank you for purchasing this CLARKE spray gun and an air hose kit.
Before attempting to use this product, please read this manual thoroughly and follow the instructions carefully. In doing so you will ensure the safety of yourself and that of others around you, and you can look forward to your purchase giving you long and satisfactory service.
GUARANTEE
This product is guaranteed against faulty manufacture for a period of 12 months from the date of purchase. Please keep your receipt which will be required as proof of purchase.
This guarantee is invalid if the product is found to have been abused or tampered with in any way, or not used for the purpose for which it was intended.
Faulty goods should be returned to their place of purchase, no product can be returned to us without prior permission.
This guarantee does not affect your statutory rights.
GENERAL SAFETY PRECAUTIONS
Before using your airline accessory kit it is in your own interest to read and pay attention to the following safety rules.
- Keep the work area clean and well-lit. Cluttered areas invite injuries.
- Keep children away. Children must never be allowed in the work area.
- Store idle equipment. When not in use, tools should be locked up in a dry location. Always lock up tools and keep them out of reach of children.
- Stay alert. Watch what you are doing, use common sense. Do not operate any tool when you are tired.
- Check for damaged parts. Before using any tool or equipment, any part that appears damaged should be carefully checked to determine that it will operate properly and perform its intended function.
- Do not operate tools or equipment if under the influence of alcohol or drugs. If there is any doubt, do not operate the equipment.
COMPRESSED AIR EQUIPMENT
- Compressed air can be dangerous. Ensure that you are thoroughly familiar with all precautions relating to the use of compressed air equipment.
- Never direct a jet of compressed air at people or animals.
- Always ensure that the equipment/tool being used as a safe working pressure exceeds the output pressure of the compressor that it is connected to.
- Always ensure that the air supply is turned off at the tool outlet and vent all compressed air from the air hose and the equipment attached to it, before disconnecting air hoses or other equipment from your compressor.
- Ensure all fixed air connections are properly sealed using Teflon tape or pipe sealant.
- Never exceed the operating pressure as stated in the specification.
- We strongly recommend that items contained in this kit be used in conjunction with appropriate eye and face-protecting goggles, glasses, or spray masks available from most DIY and hardware stores.
SPRAY GUN SPECIFIC WARNINGS
- Never spray paint close to any source of heat or flame.
- Always ensure the spraying area has adequate fresh air ventilation.
- Always make sure there is adequate ventilation. Do not spray in confined or enclosed areas.
- Always wear a suitable approved breathing mask when spraying, to protect against inhalation of paint spray or fumes. An air feed mask may be required when spraying toxic types of paint. If in doubt, check with the paint manufacturer.
- Always check the manufacturer’s data sheets on the paint products being sprayed for any particular hazards, and follow the manufacturer’s instructions. Take particular care if spraying isocyanate paints.
- Always disconnect the spray gun from the air supply when it is not in use, and before any disassembly.
- Always keep the spray nozzle in place when spraying.
- Always thoroughly clean the spray gun after use.
- In the case of injury, seek expert medical advice immediately. Never smoke while spraying or preparing paints, or spray near a naked flame, heat source and electric sparks. Many paints are flammable.
- Never exceed the maximum input air pressure of 50 psi (3.5 bar).
NOTE: Products used in this spray gun may be covered by COSHH regulations. - When replacing parts, only use those supplied by Clarke International as stated in the parts list on page 15.
KIT CONTENTS & SPECIFICATIONS
| Spray Gun | |
| Dimensions (L x W x H) | 360 x 160 x 110 mm |
| Max Working Pressure | 3.5 bar / 50 psi |
| Air consumption | 5-8 cfm |
| Cup Capacity | 500 ml |
| Hose | |
| Length | 5 m |
| Bore | 6 mm |
| Working Pressure | 8 bar / 116 psi |
| Max Working Pressure | 10 bar / 145 psi |
SPRAY GUN OPERATION
CAUTION: THE ITEMS IN THIS KIT HAVE A LOWER WORKING PRESSURE THAN MANY COMPRESSORS WILL SUPPLY, THEREFORE, AN AIRLINE REGULATOR SHOULD BE INSTALLED. SEE PAGE 2 FOR WORKING PRESSURES.
CAUTION: AIRLINE LUBRICATORS SHOULD NOT BE USED WITH THESE ITEMS
This professional type gravity-fed spray gun is suitable for use with most conventional paints. The spray gun is fed with paint from the paint container. The airflow through the air cap draws paint into the nozzle assembly, where it is atomized and sprayed forward.
- Your air compressor must be capable of supplying air at 8 CFM for the satisfactory performance of the spray gun.
- Follow all safety precautions when attaching the spray gun to the air hose.

PREPARATION BEFORE PAINTING
- Mix the paint to the correct viscosity for spraying according to the paint manufacturer’s instructions and strain it into the paint container through a fine mesh filter. When mixing the paint, make sure that you have enough thinners left to clean the spray gun after use.
- Do not fill the paint container to more than 3/4 full. Make sure that the top edge of the container and lid are clean and free from damage before mounting the gun on the container. It is also very important to keep the container vent clear.
- Remember that some modern paints require specialist respiratory protection. Always consult the paint manufacturer’s instructions.

WARNING: NEVER ATTEMPT TO SPRAY UNLESS YOU ARE WEARING SUITABLE, APPROVED RESPIRATORY AND EYE PROTECTION. - Ensure that the area in which you will be spraying is clean and dust-free. To obtain the best results, it is vital that the surface to be sprayed is well prepared. It must be clean, free from dust, dirt, and grease. Mask any area that is not to be sprayed and cover adjacent equipment to protect from overspray.
- Check the paint manufacturer’s instructions for any special surface preparation required.
• REMEMBER – TIME SPENT PREPARING SAVES TIME SPENT FINISHING.
PAINT THINNING
Paint thinning is particularly important when spraying. Many paints are supplied ready for brush application and need to be sufficiently diluted for spraying purposes. Always follow the paint manufacturer’s instructions. If in doubt, always consult the paint manufacturer.
A Viscosity Cup (not supplied), will assist in determining the correct thickness of the paint.
The ideal viscosity for most paints is as follows:
| Water-based paints | 35-45 secs |
| Oil-based paints | 15-25 secs |
| Enamel paints | 15-25 secs |
| Primers | 20-30 secs |
| Varnishes | 20-25 secs |
| Aluminum paints | 15-25 secs |
| Wood preservatives | Do not dilute |
| Wood Stains | Do not dilute |
| Smooth masonry paint | Dilute by 10-15% |
- Dip the cup into the paint and fill to the brim. Time is how long it takes for the cup to empty.
- Thin as required until times are achieved.
- Alternatively, if a viscosity cup is not available, the following information can be used as a rough guide.
• Water-based paints (emulsions) 10-20% water.
• Oil-based paints (gloss) up to 10% thinners.
• Cellulose paints up to 50% cellulose thinners. - If in any doubt, contact the paint manufacturer.
- Having mixed the paint thoroughly in a separate container, pour it into the spray gun paint container through a fine filter.
• DO NOT OVERFILL PAINT CONTAINER – never more than 3/4 full.
ADJUSTMENT OF THE SPRAY GUN
ADJUSTING THE PAINT SPRAY PATTERN
- Set the Spray Adjustment regulator according to the paint in use and the spray pattern required to give either a wide, fan-shaped spray pattern or a narrow spray pattern.
• As the width of the spray is increased, paint flow will also need to be increased. - You can adjust the orientation of the fan pattern either vertically or horizontally to suit your requirements by turning the nozzle side wings to the desired position.

ADJUSTING THE AIRFLOW
- To adjust the airflow, turn the airflow Regulator to regulate its supply.
• The airflow needed will vary according to the paint in use, with thicker paints requiring more air.
SPRAYING TECHNIQUES
- To avoid creating a vacuum, remove the vent cap from the top of the paint container before spraying. Replace the cap to avoid spillage when you stop.
- Practice spraying on a piece of material with the same type of surface as the item you wish to spray, e.g. metal for a car body panel, wood for a piece of furniture, etc.
- Always make adjustments to the spray pattern according to the conditions. You may need to increase the paint and airflow when using a wider fan setting.
- To reduce overspray, always use the lowest possible air pressure that produces an acceptable spray pattern.
• If the gun is too far from the surface or the paint is too thin, the paint will start to dry before hitting the surface, resulting in a rough, sandy finish. Allowing overspray to fall on a finished area will also result in a rough finish. Too much paint feed or holding the gun too close to the work will lead to runs and sagging.
• The paint should be agitated by gentle shaking at regular intervals during use to ensure consistency and avoid color differences due to the paint settling in the container.
- To obtain the best results, keep your spray gun level parallel to the surface at all times. Keep the nozzle 23 – 30 cm from the surface and spray evenly from side to side or up and down. Use your arm to control the spray gun, not your wrist.
- The gun should be perpendicular to the surface being covered and moved parallel with it. The stroke should be started before the trigger is pulled and likewise released before the stroke is ended. This gives accurate control of the gun and material.
- Do not spray at an angle as this will lead to paint runs on the surface. Always use a smooth and even stroke.

- When spraying large areas, use a criss-cross pattern as shown.
- Never start or stop the spray gun while it is aimed at the surface to be sprayed. Evenly control the speed of movement of the spray gun.
• Moving quickly over the surface will give a thin coat and slow movement will give a heavy coat.
• Apply one coat at a time. If a further coat is required, make sure you observe the manufacturer’s drying time recommendations before applying a second coat.
• When spraying small areas, keep the output control on a low setting as this will avoid using too much paint and prevent overspray. - Where possible, avoid stopping and starting when spraying. This can lead to too much, or not enough paint being applied.
• The material deposited should always be even and wet. Lap each stroke over the preceding stroke to obtain a uniform finish.
• To ensure the edges are covered, start spraying just to the side of the area being sprayed, and do not stop until the spray has gone past the opposite edge.
• Damage to the needle or nozzle, or any of the airports, will result in a faulty spray pattern. Take care when cleaning or assembling these components.
COMMON PAINT SPRAYING PROBLEMS
| Problem | Cause | Solution |
| Atomization is poor (the paint comes out in blobs). | Paint volume adjustment is incorrect for the air volume (paint is too thick). | Add thinners to paint and re-fill. Adjust air regulator to increase pressure. |
| Over-painting. | Spray gun not clean, resulting in needle valve sticking. | Dismantle spray gun and clean with thinner. |
| Too much paint. | Adjust the volume regulator to reduce paint volume. Try spraying two thin coats of paint. | |
| Viscosity too low. | Check the paint viscosity using a viscosity cup. | |
| Orange peel or fogging. | The wrong solvent was used. | Use different solvents. |
| The spray gun held the wrong distance from the surface. | Hold spray gun at different distances to the target. | |
| Paint too thick. | Thin the paint/test viscosity using a viscosity cup. | |
| The Air pressure is too high. | Reduce air pressure. | |
| Rough texture as if the paint is drying before hitting surface. | The paint is too thin. Air pressure could be too | Add more paint to the container. Reduce air pressure. |
MAINTENANCE
SPRAY GUN MAINTENANCE
It is essential that the spray gun is kept clean. Dried paint in the nozzle assembly or airways will stop the gun from working. For the gun to perform at its best it must be thoroughly cleaned after every use.
CLEANING PROCEDURE
- After use, empty any remaining paint from the paint container, wipe the container clean with a dry, lint-free rag, and fill with thinner. Spray the thinners through the spray gun until it is clean.
- Residue from dirty solvents may clog the narrow air passages in the gun. Use a small cleaning brush and solvent to wash off accumulated paint.
- Wipe down the outside of the gun with a solvent dampened cloth
• DO NOT poke any of the holes in the nozzle with metal instruments. These holes are precision drilled and can be damaged by probing with anything harder than a wooden toothpick. - Make sure that the air inlet vent to the paint container is kept clean. Blockages in this vent will prevent an even material flow through the gun.
• Component parts of spray guns are supplied in matched sets and should only be used together.
• Do not overtighten components, and be careful not to cross-thread any parts on assembly.
• Never use silicone-based lubricants which may cause paint finish defects. - Check the air supply hose regularly for any signs of damage and replace it if necessary. Do not use damaged or leaking hoses.
- Finally, empty the spray gun and dry all components thoroughly. Store in a clean, dry place.
AIR HOSE
The recoil hose included in this kit is fitted with connectors for use with the spray gun.
AIRLINE ACCESSORIES
An extensive range of airline equipment is available from your Clarke dealer including hoses, retractable hose reels, filter/ regulators, in-line regulators, pressure gauges, spray gun cleaning kit, respiratory masks, and safety goggles.
DECLARATION OF CONFORMITY
DECLARATION OF CONFORMITY
This is an important document and should be retained.
We hereby declare that this product(s) complies with the following statuary requirement(s):
Supply of Machinery (Safety) Regulations 2008
The following standards have been applied to the product(s):
EN 1953:2013
The technical documentation required to demonstrate that the product(s) meet(s) the requirement(s) of the aforementioned legislation has been compiled and is available for inspection by the relevant enforcement authorities.
The UKCA mark was first applied in 2021
Product Description: Air Tool
Kit Model number(s): KIT300B, KIT700, KIT1100
Serial/batch Number: N/A
Date of Issue: 22/07/2021
Signed:
KIT1100 UKCA Clarke DOC 072221


DECLARATION OF CONFORMITY
This is an important document and should be retained.
We hereby declare that this product(s) complies with the following directive(s):
2006/42/EC Machinery Directive
The following standards have been applied to the product(s):
EN 1953:2013
The technical documentation required to demonstrate that the product(s) meet(s) the requirement(s) of the aforementioned directive(s) has been compiled and is available for inspection by the relevant enforcement authorities.
The CE mark was first applied in 2011
Product Description: Air Tool Kit
Model number(s): KIT300B, KIT700, KIT1100
Serial/batch Number: N/A
Date of Issue: 22/07/2021
Signed:
KIT1100 CE Clarke DOC 072221

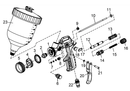
COMPONENT PARTS
| No | DESCRIPTION | No | DESCRIPTION |
| 1 | Body | 13 | Needle Seat Spring |
| 2 | Nozzle | 14 | Connector |
| 3 | Airflow isolation Ring | 15 | Needle Spring |
| 4 | Air Cap | 16 | Needle Regulator Knob |
| 5 | Air Cap Nut | 17 | Logo Sticker |
| 6 | Fan Adjusting Regulator | 18 | Side Sealing Gasket |
| 7 | Seal | 19 | C-clip |
| 8 | Needle Sealing Gasket | 20 | Trigger |
| 9 | Gun/body Sealing Gasket | 21 | Trigger Pin |
| 10 | Needle Assembly | 22 | Airline Connector |
| 11 | Flat Gasket | 23 | Paint Container |
| 12 | Needle Seat | / | Spray Gun Repair Kit |
A SELECTION FROM THE VAST RANGE OF QUALITY PRODUCTS

![]() | ![]() |
![]() | ![]() |
![]() | ![]() |
AIR COMPRESSORS
From DIY to industrial, Plus air tools, spray guns, and accessories.
GENERATORS
Prime duty or emergency standby for business, home, and leisure.
POWER WASHERS
Hot and cold, electric and engine driven – we have what you need
WELDERS
Mig, Arc, Tig, and Spot. From DIY to auto/industrial.
METALWORKING
Drills, grinders, and saws for DIY and professional use.
WOODWORKING
Saws, sanders, lathes, mortises, and dust extraction.
HYDRAULICS
Cranes, body repair kits, transmission jacks for all types of workshop use.
WATER PUMPS
Submersible, electric, and engine drove for DIY, agriculture, and industry.
POWERTOOLS
Angle grinders, cordless drill sets, saws, and sanders.
STARTERS/CHARGERS
All sizes for car and commercial use.
PARTS & SERVICE:
0208 988 7400
Parts Enquiries [email protected]
Servicing & Technical Enquiries [email protected]
SALES: UK 01992 565333 or Export 00 44 (0)1992 565335
Clarke INTERNATIONAL Hemnall Street, Epping, Essex CM16 4LG
www.clarkeinternational.com





• Apply one coat at a time. If a further coat is required, make sure you observe the manufacturer’s drying time recommendations before applying a second coat.

























