king RK1215-RMT-PLG-BLK 1500W Infrared Radiant Heater

WARNING
READ CAREFULLY
Use the heater only as described in this manual. Any other use is not recommended and could result in fire, electric shock, and personal injury. Following these instructions will prevent difficulties that might occur during the installation and use of the heater. Please study the instructions first, as they may save considerable time and trouble during use in addition to providing important safety information. Make sure to save these instructions for future use.
- WARNING To prevent a possible electrical shock, disconnect all power coming to the heater at the main service panel before wiring or servicing.
- WARNING All wiring must be in accordance with the National Electrical Code (Canadian Electrical Code in Canada) and all applicable local codes.
- WARNING Verify power supply and control voltages coming to the heater match the ratings printed on the heater nameplate before energizing.
- WARNING Heater must be installed so the minimum clearances shown in the Specifications table are maintained.
- WARNING This heater is NOT suitable for use in hazardous locations as described by the National Fire Protection Association (NFPA). this heater
has hot and arcing or sparking parts inside. DO NOT use in areas where gasoline, paint or other flammable liquids are used or stored - WARNING The mounting structure and anchoring hardware MUST BE capable of reliably supporting the weight of the heater plus the mounting
bracket if used. Refer to the specifications table for heater weight. - WARNING To prevent a possible fire, DO NOT block air intakes or exhaust openings in any manner. DO NOT allow foreign objects to enter the grill openings as this may cause electric shock, fire or damage to the heater.
CAUTION
RISK OF ELECTRIC SHOCK DO NOT OPEN HEATER SHELL -NO USER-SERVICEABLE PARTS INSIDE
FOR RESIDENTIAL
RATED FOR INDOOR OR WELL-PROTECTED OUTDOOR AREAS.
IMPORTANT SAFETY INSTRUCTIONS
READ CAREFULLY
The infrared heater is designed for safe operation. Nevertheless, installation, maintenance, and operation of the heater can be dangerous. Observing the following procedures will reduce the risk of fire, electric shock, and injury to persons and keep installation time to a minimum. Save these instructions for future use.
- Read all instructions before using this heater.
- Remove the unit from it’s packaging and check to make sure it is in good condition before using it.
- Do not let children play with parts of the package (such as plastic bags).
- Check the household voltage to ensure it matches the heater’s rated specification.
- Check the power cord and plug carefully before use, to make sure that they are not damaged.
- Before unplugging the power cord, be sure to turn off the power, when energizing the unit, be sure your hands are dry to prevent from electric shock.
- This heater is hot when in use. To avoid burns, do not let bare skin touch hot surfaces. If provided, use handles when moving this heater. Keep combustible materials, such as furniture, pillows, bedding, papers, clothes, and curtains at least 3 feet (0.9 m) from the front of the heater and keep them away from the sides and rear.
- Use extreme caution when any heater is used by or near children or invalids and whenever the heater is left operating and unattended.
- Do not use near or in the immediate vicinity of a bath or swimming pool or any source of liquid.
- To protect against electric shock, do not immerse cord or plug in water or any other liquid.
- Do not insert or allow foreign objects to enter any ventilation or exhaust opening, as this may cause an electric shock, fire or damage.
- Always unplug the heater when not in use.
- Connect to properly grounded outlets only.
- Always plug heaters directly into a wall outlet/receptacle. Never use with an extension cord or relocatable power tap (outlet/power strip).
- Do not allow the cord to overhang the countertop where it can be easily pulled by children.
- Do not put fingers or foreign objects into the grill while in operation.
- Do not leave the appliance unattended when in use.
- This heater is not intended for use in bathrooms, laundry, and similar indoor locations. Never locate the heater where it may fall into a bathtub or other water container.
- No liability can be accepted for any damage caused by non-compliance with instructions or any improper use or mishandling.
- This appliance is not intended for use by persons (including children) with reduces physical, sensory, or mental capabilities or lack of experience and knowledge. Supervision is to ensure they do not play with the appliance.
- Use this heater only as described in this manual. Any other use not recommended by the manufacturer may cause fire, electric shock, or injury to persons.
- Do not operate any heater with a damaged cord or plug or after the heater malfunctions, has been dropped, or is damaged in any manner. Disconnect power at the service panel and have the heater inspected by a reputable electrician before reusing it.
- Do not run the cord under the carpeting. Do not cover the cord with throw rugs, runners, or similar coverings. Do not route the cord under furniture or appliances. Arrange the cord away from the traffic area so that it will not be tripped over.
- To disconnect the heater, turn the controls to off, and turn off power to the heater circuit at the main disconnect Panel.
- To prevent overheating of this appliance, keep the air inlets and outlets clean and free of anything that may cause blockage. Check all inlets and outlets from time to time to ensure it is clear of any dirt or dust accumulation. DO NOT COVER. To prevent a possible fire, do not block air intakes or exhaust in any manner.
- A heater has hot and arcing or sparking parts inside. Do not use it in areas where gasoline, paint, or flammable liquids are used or stored.
- Parts of the heater may exceed 392F. Contact with the heating tube, reflector, or metal parts near the heating tube, may cause severe BURNS. Do not touch the heater when in use.
- NEVER place hands under the heating elements. ALWAYS allow the heating element to cool for at least 10 minutes before touching the heating tube or adjacent parts.
- This product contains recyclable materials. Do not dispose of this product as unsorted municipal waste. Please contact your local municipality for the nearest collection point.
CLEARANCES TO COMBUSTIBLES
Clearances to Combustibles in Inches
NOTE:
Ensure that building materials with a low heat tolerance (i.e, awnings, fabrics, plastics, sprinklers, insulation, etc.) are protected against degradation. This may require the heater to be mounted at a distance in excess of the published clearances to combustibles. Contact the material manufacturer for specific details.
Clearances to Combustibles Figure 1
INSTALLATION
Heating Application Chart
NOTE:
Clearances to combustibles published in this manual and on safety labels must be maintained at all times. Factory-recommended mounting heights are listed as a guideline. If infrared heaters are mounted too low or too high, they may result in discomfort or lack of heat.
Coverage Area Chart

NOTES:
- Heaters can provide less-than-average coverage in extremely cold/windy conditions.
- Indoor or well-protected environments will generally exceed average coverage areas.
Heating Application Diagram
Heater Dimensions

Heater Dimensions

WARNING
To Reduce The Risk of Fire
- Caution: Keep combustible materials, such as furniture, pillows, and curtains at least 3 feet (0. 9m) from the front of the heater and keep them away from the sides and rear.
- Caution: Do NOT use with an extension cord or relocatable power tap (outlet/power strip).

- Caution: Hot surface, do NOT touch.
- Caution: Do NOT cover with any objects such as blanket on the heater.
MODEL CHART

INSTALLATION INSTRUCTIONS
TOOLS NEEDED
Pencil, Hammer, Level, Screw-Driver, Power Drill & Drill Bits
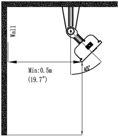
A mounting bracket is provided with the heater which has been specifically designed to allow this product to be secured. Before drilling any holes, check that the surface is solid and that there are no hidden water pipes or electric wires. The heater must be installed no less than 1 ‘7″ from the side walls and no less than 7’9″ off the floor.
- Caution: Select appropriate mounting bolts and anchors for your application.
- ATTENTION! The appliance must be installed on solid surfaces like concrete, wood or metal, etc.
Important:
Ensure that the supply cable is well secured and that it does not come into contact with the reflector of the heater or that it does not lay inside the heated area. The supply cable can be fixed to the metal mounting bracket behind the heater with plastic zip ties.
- This heater should be installed by a competent person, i.e. a qualified electrician.
- Always disconnect the heater from the electricity supply and allow it to cool before installation.
- For ceiling mounting, the lowest part of the heater must be located at or above a minimum height of 7’9″ from ground level, so that the heater can not be touched when in operation.
- For ceiling mounting, there must be a 7’9″ distance from your appliance to the ground.
- When mounted to the ceiling, there must be a distance of 1 ‘7″ between side walls and the appliance.
- Always maintain a minimum distance of 3’3″ from the appliance to people.
- The distance from the front side of the heater to materials such as wood, carton, cloth etc., must be a minimum of 3’3″.
- When mounting to a ceiling, do not position the heater at an angle more than 90° or less than 45°.
- The supply cable must be at the lower end of the heater if the heater is installed at an angle.
- Keep the supply cord away from the body of the heater which will get hot during use.
- Do not install the heater on a flammable surface.
- Observe the minimum safe distance between the heater body and flammable surfaces when mounted.
- The heater should always have a minimum clearance of 1 ‘7″ from a ceiling and adjacent walls.
- If the heater is to be used outside, a weatherproof outlet is recommended.
- Before drilling ensure that there are no wires or water pipes in the area where the heater is to be installed.
- The heater must be installed on the mounting brackets provided.
- Fasten the brackets securely to the mounting surface and the backside of the heater using the nuts and screws supplied.
- Fasten the heater securely on the brackets using the nuts and bolts supplied.
RATED FOR INDOOR OR WELL-PROTECTED OUTDOOR AREAS.
INSTALLATION ACCESSORIES

INSTALLATION ACCESSORIES LIST

ATTENTION!
- Always disconnect the heater from the electricity supply and allow it to cool before attempting to work on it.
- If the heater has collected dust or dirt inside the unit or around the heating element, have to unit cleaned by a qualified service agent.
- The only maintenance required is cleaning the external surfaces of the heater.
- Do not touch the heating element with bare fingers, as residue from your hand could affect the life of the lamp.
If it is accidentally touched, remove the finger marks with a soft cloth moistened with mentholated spirit or alcohol. - Do not attempt to repair or adjust any electrical or mechanical functions on this heater.
- The heater contains no user-serviceable parts. Should the product suffer damage or breakdown, contact the manufacturer.
- Damaged supply cords are to be replaced by the manufacturer, service agent, or similarly qualified person in order to avoid hazards.
CEILING MOUNT INSTALLATION STEPS
- Step 1: Mark hole locations on the mounting surface with spacing as shown.

- Step 2: Select fasteners and anchors of the appropriate type sufficient for your specific wall type (Not provided). Drill holes on your indicator marks.

- Step 3: Insert ceiling anchors into holes.

- Step 4: Secure ceiling brackets to the ceiling using 2 screws each. Make sure fasteners are suitable for your application.

- Step 5: Secure small brackets to the heater using the supplied Eye Nuts. Then insert a bolt-through hole in each small bracket and begin threading a nut onto the end with a few threads of engagement.

- Step 6: Hang the heater onto ceiling-mounted brackets by inserting the bolts through the vertical slot in the bracket and then tighten the nuts completely to secure them in place at the desired angle.

CEILING MOUNT GUIDE

CAUTION: Select the suitable screw according to the heater weight/different model.
The heater must be installed at least 7’9″ above the floor grade.
CHAIN MOUNT INSTALLATION
- Use only noncombustible materials for suspending hangers and brackets.
- A minimum No. 2 chain with a working load limit of 115 lbs. is required.
- Secure the chain to the heater using the provided eye nuts as attachment points.
- Heaters must not be supported by electric supply lines and must be suspended from a permanent structure with adequate load capacity.

CAUTION: Select the suitable screw according to the heater weight/different model. The heater must be installed at least 7’9″ above the floor grade.
WIRING INSTRUCTIONS
This heater must be connected to a 120 V power outlet.
- Step 1: Check UL/CUL label on the heater to verify the 120V rating.
- Step 2: Connect the heater to a 120 V power outlet.
- Step 3: The heater must be mounted with the reflector angled down.
- Step 4: All electrical connections must be in compliance with the National Electric Code (NEC) and local codes for outdoor wiring.
- Step 5: Use only wiring components UL/CUL listed for outdoor use with IPX4 minimum rating.
OPERATING INSTRUCTIONS
Onboard Control Functions:
- POWER SWITCH: Turns on the power, the product is standby mode display (- -);
- FUNCTION BUTTON: Press the button to select heat levels (L 1-L2- standby – off)

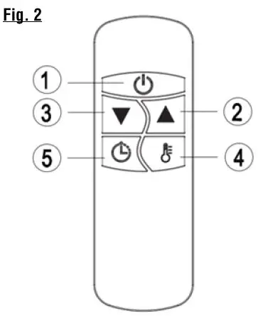
Remote Control Instructions for Model
RK2030-RMT-B / RK2430-RMT-BLK / RK2045-RMT-BLK / RK2445-RMT-BLK
- POWER BUTTON: Turns the heater On/Off.
- UP BUTTON: Increase timer and heat level.
- DOWN BUTTON: Decrease the timer and heat level.
- HEAT LEVEL BUTTON: Use to adjust the heat levels (L 1-L3).
Press the Heat Level button, then use the up and down buttons (buttons 2 and 3) to increase or decrease the heat level. - TIMER BUTTON: To set the timer from DH-24H, which is the number of hours it will run. OH will display and then adjust to the number of hours you would like to set, using the up and down buttons.
Noted: The heaters and their remote controls have the same frequency, so it is possible to control several heaters with just one remote.
Inserting Batteries
Insert 2 AAA/ Alkaline type batteries into your remote control
- Flip to the backside of your remote control and pull off the battery cover. Insert the batteries in accordance with the instructions and polarity of the batteries.
- Change the batteries in the same way depicted above.
NOTICE:
Replace old batteries with the same battery type. Otherwise, your heater may not function well. Remove batteries when the heater is not used for long periods of time to prevent leakage which may damage the remote. Do not allow water or liquids to get into the remote control.
TROUBLESHOOTING
- Check if the power cord is plugged into an electrical outlet. If not, plug it in.
- Check if the electricity at the main circuit breaker is working.
- Error code shows on display.
- E1 Error on display: The control unit has overheated. Turn the unit off and allow it to cool down for 1 hour and restart the heater.
- L 1,2 shows on display, but no heat: Heat Lamp is damaged. Arrange for replacement bulb with local Dealer.
CAUTION:
- Check if the power cord is plugged into an electrical outlet, if not, plug it in.
- Check and verify the power at the main circuit breaker is functioning.
- Error code shows on display
- E1 Error on display: Control unit overheated. Cool down the heater for 1 hour and then restart the heater.
- L 1,2 shows in the display, but no heat: The bulb is damaged. Arrange for replacement bulb with local Dealer.
MAINTENANCE
ATTENTION!
Careful and regular maintenance of your heater is important to achieve the long, efficient operation of your appliance.
- Check the Reflector and IR-Filament at least once a month. If cleaning is necessary, follow the below cleaning and maintenance instructions.
- Check more frequently if the unit is installed in a dusty environment.
- Visually inspect the Reflector, Wire, and Frame for any damage while cleaning the appliance.
- Check the Power Cord and Plug visually while cleaning the appliance. In case of deformation, consult to your technical service.
CLEANING
Regular and careful cleaning helps your infrared heater operate efficiently for many years of trouble-free operation. To clean your heater follow steps below:
- Unplug the power cord before cleaning your appliance.
- Make sure the heater is cool before continuing.
- To keep the heater clean, the outer shell may be cleaned with a soft, damp cloth. You may use a mild detergent if necessary. After cleaning, dry the unit with a soft cloth. (CAUTION: DO NOT let liquids enter the heater).
- DO NOT use alcohol, gasoline, abrasive powders, furniture polish or rough brushes to clean the heater. This may cause damage or deterioration to the surface of the heater.
- DO NOT immerse the heater in the water
- Wait until the heater is completely dry before use.
Storage: Store the heater in a cool, dry location when not in use to prevent dust and dirt build-up. Use packaging cartons to store.
RECYCLING
- At the end of the electrical products’ useful life, they should not be disposed of with household waste.
- Please recycle at an appropriate recycling center.
Contact Information
KING ELECTRIC MFG CO· 9131 10TH AVENUE SOUTH SEATTLE, WA 98108 ·
PH: 206 762 0400
FAX: 206 763 7738
Website: www.kmg-electnc.com.

INSTALLATION


























