
ITM. / ART. 670630
Model / PDT

LED Pendant Light – Sputnik
INSTRUCTION MANUALIMPORTANT: READ
CAREFULLY AND KEEP.
LUMINARIO LED
Marca: ARTIKA
Modelo: PDT-SPC-C3BG
Made in China
Residential use only
Indoor use only
INCLUDED HARDWARE
ITEM | DESCRIPTION | QUANTITY |
![]() | Mounting bracket | × 1 |
![]() | Junction box screw | × 2 |
![]() | Wire connector | × 3 |
![]() | Canopy with hinge attached | × 1 |
![]() | Suspension rod kit | × 1 |
![]() | Canopy screw | × 2 + 1 |
![]() | Light fixture | × 1 |
| WHAT YOU WILL NEED | ![]() | Screwdriver![]() |
STEP-BY-STEP INSTALLATION

CAUTION
WARNING:
Risk of electrical shock. Turn off the circuit breaker at the panel.
Switch off the main electrical supply from the fuse box/circuit breaker before installing the unit or doing any maintenance.
CAUTION
If using a dimmer, it must be LED compatible.
IMPORTANT
The installer and/or user must read, understand and follow these instructions before installing the product. This product must be properly installed before it is used. If instructions are not followed, the manufacturer will not be held responsible for any problems or product malfunction. Failure to follow installation and/or operating instructions voids the warranty.
We recommend that this product be installed by a certified electrician. In some states or provinces, it is a legal requirement for this type of product to be installed by a certified electrician, according to the electrical and building codes in effect in the region where the product is used.
LIGHT FIXTURE ASSEMBLY

HEIGHT ADJUSTMENT
NOTE: It is recommended to make any major adjustments to the height of the light fixture before installation.
Plan the desired height

TUNABLE WHITE TECHNOLOGY (CCT)

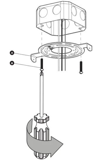
MOUNTING BRACKET INSTALLATION

CONNECTING THE WIRES AND FINAL INSTALLATION

FCC Statement
This equipment has been tested and found to comply with the limits for a Class B digital device, pursuant to part 15 of the FCC Rules. These limits are designed to provide reasonable protection against harmful interference in a residential installation. This equipment generates, uses, and can radiate radio frequency energy and, if not installed and used in accordance with the instructions, may cause harmful interference to radio communications. However, there is no guarantee that interference will not occur in a particular installation. If this equipment does cause harmful interference to radio or television reception, which can be determined by turning the equipment off and on, the user is encouraged to try to correct the interference by one or more of the following measures:
- Reorient or relocate the receiving antenna.
- Increase the separation between the equipment and receiver.
- Connect the equipment into an outlet on a circuit different from that to which the receiver is connected.
- Consult the dealer or an experienced radio/TV technician for help.
Caution: Any changes or modifications to this device not explicitly approved by the manufacturer could void your authority to operate this equipment.
This device complies with part 15 of the FCC Rules. Operation is subject to the following two conditions: (1) This device may not cause harmful interference, and (2) this device must accept any interference received, including interference that may cause undesired operation.
| SATELITE 701 CIRCUITO CENTRO COMERCIAL 2001 NAUCALPAN DE JUÁREZ EDO. DE MÉXICO C.P. 53100 TEL. (555) 374-99-40 | COAPA 702 CALLE PUENTE NO. 186 COL. AMSA. ALCALDIA COYOCAN CIUDAD MÉXICO, C.P. 14380 TEL. (55) 483-90-80 | GUADALAJARA 703 AVE. VALLARTA 4775 CAMICHINES VALLARTA, ESQ. RAFAEL SANZIO ZAPOPAN, JALISCO C.P. 45020 TEL. (333) 777-40-40 |
| QUERETARO 704 BLVD. BERNARDO QUINTANA ARRIOJA NO. 4107 COL. PLAZA DEL PARQUE QUERÉTARO, QRO. C.P. 76169 TEL. (442) 211-67-00 | LEÓN 705 BLVD. JUAN TORRES LANDA NO. 4137, COL. JARDÍNES DE JEREZ, LEÓN, GTO, C.P 37229 TEL. (477) 788-13-00 | ACAPULCO 706 AV.SOLIDARIDAD 34 GRANJAS DEL MARQUEZ ACAPULCO, GRO C.P. 39907 TEL. (744) 434-03-00 |
| MIXCOAC 707 BLVD. ADOLFO LÓPEZ MATEOS NO. 1181 SAN PEDRO DE LOS PINOS CIUDAD DE MEXICO C.P. 11560 TEL. (55) 276-81-60 | AGUASCALIENTES 708 BLVD. AGUASCALIENTES NORTE NO. 802, COL. LAS TROJES AGUASCALIENTES, AGS. C.P. 20311 TEL. (449) 910-97-60 | TOLUCA 709 AV. S.S JUAN PABLO II NO. 501 NTE LT 22 BARRIO DE SAN MATEO METEPEC TOLUCA, EDO MÉXICO C.P. 52140 TEL. (722) 275-70-20 |
| MORELIA 710 PERIFÉRICO INDEPENDENCIA 1000, OR JUANA INÉS DE LA CRUZ MORELIA, MICHOACÁN C.P. 58089 TEL. (443) 322-30-00 | MÉRIDA 711 CALLE 60 NO. 220, FRACC. DEL NORTE MÉRIDA YUCATAN C.P. 97120 TEL. (99) 942-46-50 | CANCÚN 712 SM 21 MZ 4 LT 2 251 BENITO JUAREZ CANCÚN, QUINTANA ROO C.P. 77500 TEL. (998) 881-02-50 |
| CUERNAVACA 713 AV. VICENTE GUERRERO NUM 205, LOMAS DE LA SELVACUERNAVACA, MORELOS C.P. 62270 TEL. (777) 101-05-10 | PUEBLA 714 BLVD. DEL NIÑO POBLANO NO. 2904 COL. CONCEPCIÓN DE LA CRUZ PUEBLA, PUE C.P. 72197 TEL. (22) 2273-5300 | MONTERREY 715 LÁZARO CÁRDENAS 800, VALLE ORIENTE MONTERREY, NL C.P. 66269 TEL. (818) 133-98-00 |
| SAN LUIS POTOSI 716 AV. CHAPULTEPEC NÚM. 200 COLINAS DEL PARQUE SAN LUIS POTOSÍ, SLP C.P. 78260 TEL. (444) 834-1600 | MONTERREY II 717 ALEJANDRO DE RODAS #6767 COL. CUMBRES MONTERREY, NUEVO LEÓN C.P. 64340 TEL. (818) 121-00-7 | INTERLOMAS 718 BLVD. MAGNOCENTRO NO. 4, SAN FERNANDO LA HERRADURA HUIXQUILUCAN, EDO DE MEX CP. 52760 TEL. (555) 950-04-00 |
| XALAPA 719 KM. 1.8 CARR. XALAPA-VER 366, LAS ÁNIMAS XALAPA, VER. C.P. 91190 TEL. (226) 841-63-00 | POLANCO 720 BLVD. MIGUEL DE C SAAVEDRA NO. 397 COL. IRRIGACIÓN CIUDAD MÉXICO C.P. 11500 TEL. (55) 5580-2381 | PUERTO VALLARTA 721 AV. FLUVIAL VALLARTA NO. 134 FRACC. FLUVIAL VALLARTA PUERTO VALLARTA, JALISCO C.P. 48300 TEL. (322) 226-25-80 |
| MONTERREY III 722 CARETERA NAL. KM260+500 NO. 5001 BOSQUES DEL VALLE ALTO MONTERREY, NUEVO LEON CP. 64989 TEL. (818) 317-90-63 | CELAYA 723 AV. TECNOLÓGICO 651 CD INDUSTRIAL CELAYA CELAYA GTO. C.P. 38010 TEL. (461) 192-13-00 | LOS CABOS 724 CARR. SAN JOSE DEL CABO1659 EL TEZAL LOS CABO, B.C C.P. 23454 TEL. (624) 146-71-80 |
| ARBOLEDAS 726 AVENIDA SAN NICOLÁS 10 FRACC. SAN NICOLÁS TLAXCOLPAN TLALNEPANTLA, EDO DE MÉX. C.P. 54030 TEL. (555) 321-3280 | GUADALAJARA II 730 BLVD.. ADOLFO LÓPEZ MATEOS 3100 NUEVA GALICIATLAJOMULCO DE ZUÑIGA, JALISCO C.P. 45645 TEL. (333) 3612-6594 | VERACRUZ 732 BLVD. ADOLFO RUIZ CORTINEZ 1228 FRACC. S.U T.S.E.M. BOCA DEL RÍO, VERACRUZ C.P. 94294 TEL. (229) 923-65-00 |
| MEXICALI 750 C. SAN LUIS RÍO COLORADO KM. 7.5 EX EJIDO DE COAHUILA MEXICALI, BAJA CALIFORNIA CP.21397 TEL. (686) 580-45-30 | HERMOSILLO 751 BLVD. LUIS DONALDO COLOSIO NO. 416 COL. VILLA SATÉLITE HERMOSILLO, SONORA C.P. 83200 TEL. (66) 283-33-00 | TIJUANA 762 CALLES LAS ROCAS 1400, LOS ARENALES TIJUANA, BAJA CALIFORNIA C.P. 22548 TEL. (664) 622-65-00 |
| SUCURSAL TIJUANA II BLVD. RODOLFO S. TABOADA NO. 8943 COL. ZONA URBANA RÍO TIJUANA TIJUANA, BAJA CALIFORNIA C.P. 22320 TEL. (664) 633-35-55 | ENSENADA 754 B LVD. REFORMA 4179 CARLOS PACHECO ENSENADA, BAJA CALIFORNIA C.P. 22832 TEL. (64) 6152-9600 | CD. JUAREZ 755 RANCHO AGUA CALIENTE 6911 PRADERA DORADA CD. JUAREZ, CHIHUAHUA C.P. 32610 TEL. (656) 227-68-00 |
| CHIHUAHUA AV. DE LA JUVENTUD 7513 FRACCIONAMIENTO DE LAS | MONTERREY III 722 CARETERA NAL. KM260+500 NO. 5001 COL. BOSQUES DEL VALLE ALTO MONTERREY, NUEVO LEON CP. 64989 TEL. (818) 317-90-63 | LEON II 725 BLVD. EUGENIO GARZA ZADA NO. 102 FRACC. LOMAS DEL CAMPESTRE LEÓN, GUANAJUATO, C.P 37150 |
| Artika For Living Inc. 1756, 50th Avenue Montréal (Lachine), Québec Canada H8T 2V5 | 1-866-661-9606 [email protected] www.artika.com | Customer Service Monday to Friday 9 am – 5 pm EST |
| Service à la clientèle Lundi au vendredi 9 h à 17 h H.N.E. | Atención al cliente Lunes a viernes 9 a.m. – 5 p.m. hora del Este |




























