MouKey MA20-1 Powered Bookshelf Speakers

To customers
Thank you very much for your support and trust in our company. In order to use this product more better.
Please keep this manual properly in order to learn more about the connection method and using points of the product.
Features
- Three-way audio system
- Handmade wooden speakers
- 5.0 Bluetooth function
Product specifications
- Speaker model: MA20-1
- Rated output power L/R: 25W+25W
- Signal to noise ratio L/R≥75dB(A)
- Input sensitivity: ≥800mV±50mV
- Line distortion: <0.33%@1Khz 0dB
- Frequency response: 40Hz-20KHz±3dB(5W/4Ω)
- Woofer: 4 inches
- Midrange unit: 2 inches
- Tweeter: 1 inches
- Box size:169x156x251mm
- Net weight:5.5Kg
- Gross weight:6.2Kg
- Packing size:430x187x349mm
WARNING:To reduce risk of fire or electric shock, do not expose this apparatus to be rain or moistured.
Thank you for purchasing Moukey MA20-1 multimedia speakers, please read this manual carefully before operating this system.
- Read these instructions.
- Keep your user manual.
- Pay attention to all warnings.
- Follow all instructions.
- Do not use this product near water.
- Cleaning only with dry cloth.
- Do not use this product near water and never put this product into liquids or allow liquids to drip or spill on it.
- Do not place appliance filled with water on this product, such as vase; nor place any form of open fire such as lit candle.
- Do not block any ventilation openings. Please leave evough space around the speakers to ensure good ventilation (the distance should be above 5cm). Install in accordance with the manufacturer’s instructions.
- Do not put this product near any heat sources, such as radiator, heat register, stove or other apparatus (including amplifier) .
- Do not disregard the safety purpose of the polarized or grounding-type plug. A polarized plug has two blades with one wider than the other. A grounding type plug has two blades and a third grounding prong. The wide blade or the third prong is provided for your safety. If the provided plug does not fit into your outlet, consult an electrician for replacement of the outlet.
- Protect the power cord from damage or getting pinched particularly at plugs, receptacles and the point where they exit from the apparatus.
- Only using attachments/accessories specified by the manufacturer.
- Please turn off this product during lightning storms or when no using it for long periods.
- Only refer all servicing to qualified service person. Servicing is required when the product is damaged, such as power supply cord or plug, liquid spilled or objects fallen into the product, has been exposed to rain or moisture, does not operate normally, or has been dropped.
- The main plug is used to be the disconnecting devices. The disconnecting device shall remain readily operable.
- The maximum ambient temperature is 45°C/113°F
- do not use strong acid, strong alkali and other chemical solvents to clean the surface of product. Please use neutral solvent or water to clean the product.
Using only with the cart, stand, tripod, bracket, table specified by the manufacturer or which are sold with the apparatus. Please to be careful when moving the cart/apparatus combination in order to avoid injury from tip-over. Disposal of this product properly. This marking indicates that this product should not be disposed with other household wastes throughout the EU. To prevent the possibility damage for the environment or human health from uncontrolled waste disposal, recycle it responsiblly to promote the sustainable reuse of material resources. To return your used device, please use the return and collection systems or contact the retailer. For environmental safty recycling, they can deal with this product. This equipment is a class ll or double insulated electrical appliance. It has been designed in such a way that it does not require a safety connection to electrical earth.
WARNING DO NOT INGEST BATTERY, CHEMICALBURN HAZARD This product contains a coin/button cell battery. If the coin/button cell battery is swallowed, it can cause severe internal burns in just 2 hours and can lead to death. Keep new and used batteries away from children. If the battery compartment does not close securely, please stop using the product and keep it away from children. If you think batteries might have been swallowed or placed inside any part of body, please seek immediate medical attention. The battery (in remote control) shall not be exposed to heat enviorment such as sunshine or fire.
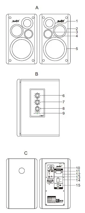
OVERVIEW
- A: Front view
- B: Side view
- C: Rear view

- Silk film tweeter x1
- Midrange 2 inch x1
- Vent
- Remote control receiver light
- Bass 4 inch x1
- Treble adjustment knob
- Bass adjustment knob
- Volume adjustment knob
- Audio source status indicator (red AUX input, blue is Bluetooth status)
- AUX RCA input interface
- AUX 3.5mm input interface
- Speaker connection port
- Monitor output interface
- Power switch button
- Power cord

- Press the master volume control on the active speaker or press the “AUX” button on the remote control to select LINE IN input. The indicator turns to red.
- Using audio cable to connect audio source to the speaker.
- Play your device and adjust the volume properly.

Matching
- Turn on speaker and switch to Bluetooth Mode by pressing the Bluetooth button of the remote control or press the master volume control on the back panel of the active speaker. The colour of indicator will be blue.
- Find the “set up section” on your source devices (mobile phones, tablets, etc.) and search for nearby Bluetooth devices, you will find “Moukey MA20-1” in the list.
- Match your device to “Moukey MA20-1”
Note:
- Bluetooth connectivity and compatibility may be different among from different source devices, depending on the software versions of source devices.
- To enjoy the Bluetooth functions of this product more better, please ensure your mobile device supports AZDP and AVRCP profile.
Function explanation

- Mute button: Press once to mute, press again to resume playback.
- Power button: Press once to shut down. And the machine enters the standby state; Press again to turn on, the machine enters normal working state.
- Volume reduction: press lightly or press the volume for a while to decrease volume continuously.
- Volume up: Tap or press the volume for a while to increase volume continuously.
- Bluetooth selection button: Press the machine to enter the bluetooth state, the side indicator will be blue. If the bluetooth is not connected, the blue indicator flashes that reminds the customer to connect to the bluetooth.
- Play pause button: Press once to pause, press again to resume playback.
- Previous song: Click the previous song on the machine to play.
- Next song: Click the machine to play the next song.
Battery loading
Please refer to the illustration to open the battery compartment, insert the CR 2025 battery and close the compartment
Note:
- Do not place the remote control in places that are hot and humid.
- Do not charge the batteries
- Remove the batteries when unused for long period of time.
- The battery should not be exposed to excessive heat such as direct sun, fire or similar.
- Danger of explosion if battery is incorrectly replaced, Replace only with the same or equivalent type.

- 2.5 meters 0.75 square transparent line 1PCS
- 1.5 meters lotus head line 1PCS
- 1.5m 3.5mm to RCA cable 1PCS

Precautions
- Please pay attention to the correct connection method. The positive and negative polarity cannot be connected wrongly.
- Please be careful do not to use the product under high temperature or direct sunlight.
- Please be careful do not to use the product in a humid environment.
- Please be careful do not to use the product in an environment where water splashes.
System installation and placement
The sound effect of the system will be slightly affected by the listening environment. If you want to produce a good sound effect, you should consider properly your current location environment before the actual installation.
- Appropriately placed in a position where the ears are relatively parallel (Figure 1)
- If you need a natural stereo effect, you can install left and right speaker systems in the symmetrical and equidistant positions of the listening position
- The installation of the speakers should face inward and form a total angle of 60 degrees with the listening position. The left and right speakers are each 30 degrees (see Figure 2)

troubleshooting
Sometimes something wrong may be caused by other devices, please check other devices or the using of power supply equipment.
| Problem | Inspection | Solution |
| No power | Whether the device is connected | Please connect the power cord plug to the AC power outlet |
| Whether the device is connected No sound or low sound | Is the setting of the conn- ecting device correct | Please set the sound source and volume of the device correctly |
| Whether the connection line is correct | Please connect the cable properly | |
| Is the volume setting in the correct position | Please adjust the volume knob clockwise to the appropriate position | |
| Whether the power is on | Please pull the switch on the rear panel of this device to the “1” position | |
| Power indicator doesn’t light up | Whether the power is on | Please pull the switch on the rear panel of this device to the “1” position |
| Whether the system is stand by | Turn on, turn off again or press the power button of the remote control | |
| Only one speaker system produces sound | Whether the signal input line is connected properly | Connect the audio cable again |
| The remote control does not work | Is the remote control battery inserted properly | Re-insert the battery properly |
| Is the remote control battery can be used properly | Replace with new battery | |
| Is the volume setting to be the correct position | Is the volume adjusted to the correct position | Please turn the VOLUME knob on the side of the device counterclockwise to decrease the volume |
| Is the input level from the connected device properly? | Please adjust the output level of the connected device properly |
FCC Statement
Changes or modifications not expressly approved by the party responsible for compliance could void the user’s authority to operate the equipment.
This equipment has been tested and found to comply with the limits for a Class B digital device, pursuant to Part 15 of the FCC Rules. These limits are designed to provide reasonable protection against harmful interference in a residential installation. This equipment generates uses and can radiate radio frequency energy and, if not installed and used in accordance with the instructions, may cause harmful interference to radio communications. However, there is no guarantee that interference will not occur in a particular installation. If this equipment does cause harmful interference to radio or television reception, which can be determined by turning the equipment off and on, the user is encouraged to try to correct the interference by one or more of the following measures:
- Reorient or relocate the receiving antenna.
- Increase the separation between the equipment and receiver.
- Connect the equipment into an outlet on a circuit different from that to which the receiver is connected.
- Consult the dealer or an experienced radio/TV technician for help
This device complies with part 15 of the FCC rules. Operation is subject to the following two conditions (1)this device may not cause harmful interference, and (2) this device must accept any interference received, including interference that may cause undesired operation.




















