KidKraft 63239A Assembly Instruction Manual
KidKraft is here to help!
If you have any issues with your item or need any assistance, please contact us. Email us with the item number, description of the problem, part number and batch code.
(Your batch number is located on the bottom left of this sheet of paper.)
www.kidkraft.com/assembly-instructions
Contact Us!
U.S. / MEXICO
KidKraft
4630 Olin Road
Dallas, Texas 75244
www.kidkraft.com
[email protected]
1.800.933.0771
972.385.0100
EUROPEAN REGIONS
KidKraft Netherlands BV
Olympisch Stadion 29
1076DE Amsterdam
The Netherlands
www.kidkraft.com
[email protected]
+31 (0)20 305 8620
CANADA
KidKraft
4630 Olin Road
Dallas, Texas 75244
www.kidkraft.com
[email protected]
1.800.933.0771
972.385.0100
AUSTRALIA
KidKraft
Suite 7101,
2 Locomotive Street
Australian Technology Park
Eveleigh, NSW 2015
www.kidkraft.com.au
[email protected]
ALL OTHER REGIONS
[email protected]
Item Number
63239A
Parts and Hardware
All hardware dimensions are approximate.



Step 1

Step 2

Step 3

Step 4

Step 5

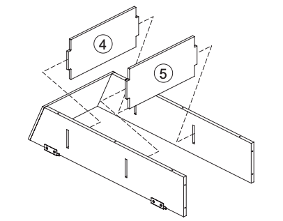
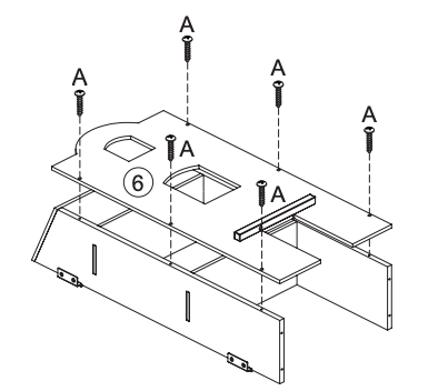
Step 6

Step 7

Step 8

Step 9

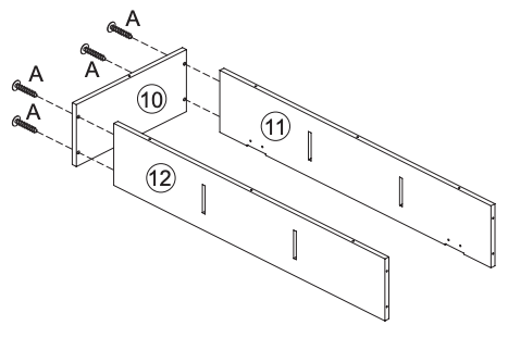
Step 10

Step 11

Step 12

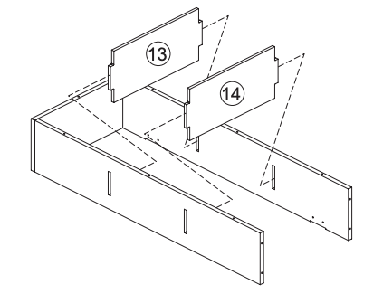
Step 13

Step 14

Step 15

Step 16

Step 17

Step 18

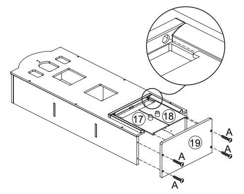
Step 19

Step 20

Step 21

Step 22

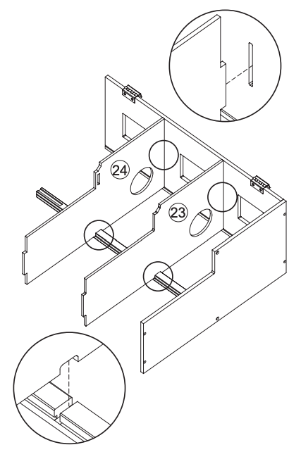
Step 23

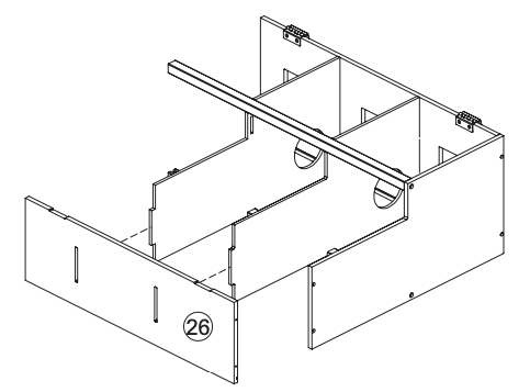
Step 24

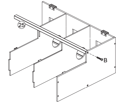
Step 25

KidKraft 63239A Assembly Instruction Manual – Download [optimized]
KidKraft 63239A Assembly Instruction Manual – Download



















