KiCA 6 Massage Device

Overview

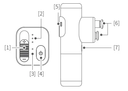
- Gear button
- Mode indicator
- Battery indicator
- Power button/Mode button
- Charging port
- Flat head (Non-removable)
- Trigger button
Flat Head
Massage flat major muscle groups on the back.
Spherical Head
Relax soft tissues and sensitive muscles.
Gentle Head
Promote the absorption of essential oil.
U-shaped Head
Massage neck (not cervical vertebrae) and tendon.
Start to Use
Massage Head Combination
- The device can be used directly with the built-in massage head (two flat head), on it, or combine with another one depending on your needs. See complete combination as below.

Power ON / Start running / Power Off
- Power ON: Long press the power button until hear the tone. Start running: The device will start running after powering on, single tap trigger button to stop. Single tap again to restart.

- Do not touch the middle and the back of the two massage heads while the product is running to avoid injuries.

Power Off
- Long press the power button until hear the tone to power off. If there is no operation within 10 minutes, it will power off automatically.
Massage modes
- Single tap mode button to switch modes cyclically. Slide the gear button to adjust rotate speed.

Locked Motor Protection
- Do not press the massage head firmly to block the motor rotation while using, otherwise it will reduce the service life of the product!
- This product has locked motor protection function. If the rotation is blocked for 3 seconds, it will stop running automatically after a beep sound. Single tap the trigger button to start again.
Intelligent Protection
- This product has intelligent protection function. After working for 10 minutes continuously, a beep sound will be issued, and the product will stop running automatically. Single tap the trigger button to start again.
Battery Indicator

Charging
- Do not use it while charging.

Specifications
- Product Name: KiCA 3 Massage Device
- Product Model: A3S
- Operating Voltage Range: 10.8V~12.6V
- Operating Temperature Range: 0℃~+40℃
- Charging Temperature Range: 0℃~+40℃
- Battery Capacity: 2200mAh
- Charging Time: About 4.5 hours
- Weight: About 614g
- Size: 97.4×46×182.8mm
- Theoretical Battery Life: About 20 hours (flat head, kneading, low speed)
List
- KiCA 3 ×1
- Storage Bag ×1
- Spherical Head ×2
- Gentle Head ×2
- U-shaped Head ×2
- USB-C Cable ×1
- Manual ×1

Contraindications
- Cancers
- Metal bone anastomosis (do not use the device directly in the fracture area)
- Osteoporosis
- Vein thrombosis and pulsation
- Hypertension
- Pregnant woman
- Varicose veins
- Acute inflammation
- Do not massage the bony area
- Do not massage surgical site
- Do not massage the cervical vertebrae and spine
- Kidney stones (do not use the device near the kidneys)
- Do not massage one episode for more than 5 minutes
Safety Instruction
- It is recommend to massage your body after wearing dry clothes or placing a clean and dry towel on massage part, then gently press and move the device.
- High-speed and high-pressure massage can only be used to soft tissues without feeling pain or maladjustments. Do not massage head and any skeletal sites with high speed and high pressure.
- Massage the same part of the body with high speed and high pressure for a long time will.
- Please keep your fingers, hair or, any other body hair away from the extendable part of the device to prevent pinching and clipping.
- Do not discard or misuse this device.
- Do not modify this device by yourself without permission.
- Do not operate or charge the device when nobody was around.
- This device is for adults only.
- People with contraindicated symptoms should use this device with doctor’s permission.
Notice
- Make sure the massage head is not blocked by external force when the device is power on. If it is blocked, it will pause for a while and try to restart.
- DO NOT contact the product with water or other liquid for the massage device is not waterproof.
- DO NOT disassemble the product except marked detachable. It need send to after-sales or authorized service center to fix it if you accidentally disassemble it and cause abnormal work. The relevant costs are borne by users.
- Prolonged continuous operation may cause the motor surface temperature to rise, please operate carefully.
- DO NOT drop or strike the product. If the product is abnormal, contact After-sales support.
Storage and Maintenance
- Keep the product out of the reach of children and pets.
- DO NOT leave the product near heat sources such as a furnace or heater. DO NOT leave the product inside of a vehicle on hot days.
- Please storage the product in a dry environment.
- DO NOT overcharge or overuse the battery, otherwise, it will cause damage to the battery core.
- Never use the product when the temperature is too high or too low.
Precautions when discarding the product
The lithium ion battery used by the product is a recyclable and renewable valuable resource. When discarding it, please have it handled by a professional agency that can recycle chargeable batteries. Before discarding the product, power it off and take the lithium ion battery out from it following the steps below. The battery is to be disposed of safely.
- Disassemble the top housing with help of a professional tool.
- Pull out the batter terminals from the PCBA.
- Use a professional cutter to cut off the bottom housing and then take out the battery.
FCC
This device complies with Part 15 of the FCC Rules. Operation is subject to the following two conditions:
- This device may not cause harmful interference.
- This device must accept any interference received, including interference that may cause undesired operation.
NOTE
This equipment has been tested and found to comply with the limits for a Class B digital device, pursuant to part 15 of the FCC Rules. These limits are designed to provide reasonable protection against harmful interference in a residential installation. This equipment generates uses and can radiate radio frequency energy and, if not installed and used in accordance with the instructions, may cause harmful interference to radio communications.
However, there is no guarantee that interference will not occur in a particular installation. If this equipment does cause harmful interference to radio or television reception, which can be determined by turning the equipment off and on, the user is encouraged to try to correct the interference by one or more of the following measures:
- Reorient or relocate the receiving antenna.
- Increase the separation between the equipment and receiver.
- Connect the equipment into an outlet on a circuit different from that to which the receiver is connected.
- Consult the dealer or an experienced radio/TV technician for help.
NOTE
The manufacturer is not responsible for any radio or TV interference caused by unauthorized modifications to this equipment. Such modifications could void the user’s authority to operate the equipment.
Find More Features

This document is subject to change without notice.
Warranty
Warranty Card

Warranty
- Within one year from the date of selling, the product is malfunctioning under normal due to non-artificial reasons.
- The malfunction of the product is not caused by artificial reasons such as unauthorized disassemble or conversion or addition.
- The buyer is able to provide the certificate of maintenance service: the warranty card, the legitimate receipts, invoices, or screenshot of purchasing.
The followings cases are not included under the warranty
- Unable to provide legitimate receipt and warranty card with buyer’s info.
- The damage caused by human or irresistible factor.
More details about after-sales policy, please refer to after-sales page on website: https://www.kica-tech.com/en/support
Our company reserves the right of final interpretation on the above-mentioned after sales terms and limitations.
Manufactured by: Guilin Feiyu Technology Incorporated Company Website www.kica-tech.com






















