
ATA004 72 Inch Shelf Floor Lamps
Instruction Manual
Assembly Instructions
IMPORTANT SAFETY INSTRUCTIONS:
This product contains a polarized plug, meaning one blade is wider than the other, as a feature to reduce the risk of electric shock. This plug will fit in a polarized outlet only. If you notice that the plug does not fit correctly in the outlet, reverse the plug until it fits in. If the plug is unable to fit the outlet please contact a qualified electrician.
Only connect the polarized plug with an extension cord if the plug can be fully inserted.
PLEASE DO NOT ALTER THE PLUG.
Max Wattage: (1) 150 watt incandescent or (2) 42 watt CFL equivalent. (Incandescent/CFL are not included) (3) A9 watt LED light bulb is included Spare Part Included: One extra screw and one two-sided bolt
Customer Service:
Please contact us via our email. We are available Monday to Friday trom 9am-5pm PST if you need any help with your new lamp. [email protected]
You are also welcome to visit our website at www.atamin.com and use the contact feature if you have any questions.


Step 1
Begin assembling the base of the lamp by screwing (B) four poles (D) clockwise into the bottom board (C) until tight and place the cushions (A) to cover each hole. Then screw the two-sided bolts (E) into each pole and place board (F) on top of the two-sided bolts.
Step 2
Screw four poles (D) into the exposed part of the two-sided bolts (E) then place another board (F) on the bolts again and then screw the two-sided bolts (E) onto the poles.

Step 3
Screw four poles (D) into the two-sided bolt (E) and screw two sided bolts in the poles (D) again. Place the charging station (G) on the exposed part of the two-sided bolts (E).

Step 4
Screw four poles (D) into the exposed part of two-sided bolts (E). Then, screw four two sided bolts (E) into the poles (D) and place the lamp holder board (G) on the exposed part of the two sided bolts (E). Then, put the lamp holder into the larger hole and drop the pull chain into the smaller hole, then tighten the lamp holder using the screw on the wire.

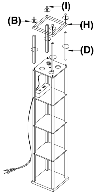
Step 5
Screw poles (D) into the exposed part of the two-sided bolt (E) and use the screws (B) to tighten the top wooden frame (H) into the poles (D). Then, apply the caps (I) to cover the holes on the frame.
Step 6
Remove the lamp shade (J) from the box and slightly fold each crease to create a squared-like lampshade. Place one shade frame (K) on the lamp shade (J) and fasten the shade frame into the clips located inside the lamp shade to set the shape of the shade. Repeat the previous action with the second shade frame (K) at the bottom. Insert the assembled shade into the top of the lamp and.

Step 7
Use the wire clamps (L) to hide any wires behind the poles (D).

















