hcd TBL-09548 Side Table with Outlets

PARTS LIST
| PART/ILLUSTRATION | (QTY) | DESCRIPTION |
![]() | (1) | tabletop |
![]() | (1) | outlet frame |
![]() | side support | |
![]() | side support | |
![]() | (1) | base |
![]() | (1) | outlet |
![]() | (1) | hex wrench (4mm) |
![]() | (8) | pan head, hex socket screws (¼” x 12mm) |
![]() | (4) | pan head, hex socket screws (¼” x 32mm) |
![]() | (2) | pan head, phillips recess screws (#6 x 12mm |
![]() | (4) | washers |
![]() | (1) | wrench |
![]() | (2) | casters |
![]() | (2) | locking casters |
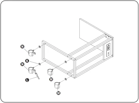
ASSEMBLY
- Do not fully tighten screws until the end.

USE CARTON AS A WORKING SURFACE TO PREVENT
TABLETOP DAMAGE DURING ASSSEMBLY. - Do not fully tighten screws until the end.

- Fully tighten all screws.


Honey-Can-Do International
5300 St. Charles Road, Berkeley, IL 60163 USA
877.242.2636 | honeycando.com | [email protected]
©2021 Honey-Can-Do International, LLC | All Rights Reserved
Visit www.youtube.com/myhoneycando to watch our assembly videos.
































