

Undercounter Refrigeration 2 – 4 Door
SPECIFICATION, INSTALLATION AND OPERATION MANUAL
READ ALL INSTRUCTIONS BEFORE USE
Models:
AXR.UCGN.2 / AXR.UCGN.2G
AXR.UCGN.3 / AXR.UCGN.3G
AXR.UCGN.4 / AXR.UCGN.4G
Revision: 02 – 11/02/2021 – A
innovative solutions
Introduction
Your New Airex Product
Thank you for choosing this quality Airex product. All Airex products are designed and manufactured to meet the needs of food service professionals. By caring for and maintaining your new Airex product in accordance with these instructions, will provide many years of reliable service.
Stoddart is a wholly Australian-owned company, which manufactures and/or distributes a comprehensive range of foodservice equipment for kitchens, food preparation and presentation. Stoddart products are manufactured and/or engineered in Australia to provide excellent results whilst offering value for money, ease of use, and reliability.
Carefully read this instruction booklet, as it contains important advice for safe installation, operation and maintenance. Keep this booklet on hand in a safe place for future reference by other operators or users.
Disclaimer
The manufacturer and distributor cannot be held responsible or liable for any injuries or damages of any kind occurred to persons, units or others, due to abuse and misuse of this unit in regards to installation, removal, operation, servicing or maintenance, or lack of conformity with the instructions indicated in this documentation.
All units made by the manufacturer are delivered assembled, where possible, and ready to install. Any installation, removal, servicing, maintenance and access or removal of any parts, panels or safety barriers that is not permitted, does not comply in accordance to this documentation, or not performed by a TRAINED AND AUTHORISED SPECIALIST will result in the IMMEDIATE LOSS OF THE WARRANTY.
The manufacturer cannot be held responsible or liable for any unauthorised modifications or repairs. All modifications or repairs must be approved by the manufacturer in writing before initiating. All modifications or repairs performed to this unit must be performed at all times by a TRAINED AND AUTHORISED SPECIALIST.
Stoddart design, manufacture and distribute Food Service Equipment (appliances) exclusively for the commercial market. This appliance is not designed nor intended for household or domestic use and must not be used for this purpose.
This product is intended for commercial use, and in line with Australian electrical safety standards the following warnings are provided:
- This product is not intended for use by persons (including children) with reduced physical, sensory or mental capabilities, or lack of experience and knowledge, unless they have been given supervision or instruction concerning the use of the product by a person responsible for their safety. Children should be supervised to ensure that they do not play with the product
- If the supply cord is damaged, it must be replaced by the manufacturer, its service agent or similarly qualified persons in order to avoid a hazard
Warranty & Registration
Australia and New Zealand Warranty
Warranty Period
All Stoddart manufactured and distributed products are covered by Stoddart’s standard Australia and New Zealand Product Warranty (minimum 12 month on-site parts and labour, terms and conditions apply). Further to this standard warranty, certain products have access to an extended warranty. Full terms, conditions and exclusions can be found using the below Link/QR code.
Warranty Registration
To register your new product, Follow the below Link/QR code.
www.stoddart.com.au/warranty-information
General Precautions
When using any electrical unit, safety precautions must always be observed. Our units have been designed for high performance. Therefore, the unit must be used exclusively for the purpose for which it has been designed.
- All units MUST be installed according to the procedures stated in the installation section of this manual
- In the case of new personnel, training is to be provided before operating the equipment
- DO NOT use this unit for any other purpose than its intended use
- DO NOT store explosive substances such as aerosol cans with a flammable propellant in or near this unit
- Keep fingers out of “pinch point” areas
- Unit is not waterproof DO NOT use jet sprays, hoses or pour water over/on the exterior of the unit
- Only use this unit with voltage specified on the rating label
- DO NOT remove any cover panels that may be on the unit
- DO NOT use sharp objects to activate controls
- DO NOT use sharp objects to remove ice from the unit
- If any fault is detected, refer to troubleshooting
- The manufacturer declines any liability for damages to persons and/or things due to an improper/wrong and/or unreasonable use of the machine
- Only specifically trained/qualified Technicians (Stoddart, one of our service agents, or a similarly qualified persons) should carry out any and all repairs, maintenance and services
Installation
Product Overview
| IMPORTANT | |
| This unit is not designed to cool down hot/warm product. It only maintains the product at the controlled 0°C – 6°C | |
| CAUTION | |
| This unit includes refrigeration components. Cold surfaces can burn DO NOT touch these surfaces |

Setting Up
| WARNING | |
| Improper installation, adjustments, alterations, service or maintenance can cause property damage, injury or death. |
Handling
- Use suitable means to move the unit;
- For smaller items use two people
- For large items a fork lift, pallet trolley or similar (the forks should reach completely beneath the pallet)
Unpacking
- Check the unit for damage before and after unpacking. If unit is damaged, contact the distributor and manufacturer
- Should any item have physical damage, report the details to the freight company and to the agent responsible for the dispatch within seven (7) days of receipt. No claims will be accepted or processed after this period
- The unit is supplied fully assembled
- Remove all protective plastic film, tapes, ties and packers before installing and operating
- Clean off any remaining residue from the interior/exterior of the unit using a clean cloth dampened with warm soapy water
Positioning
- When moving the unit, ensure the cabinet is upright at all times
- When positioning the unit, avoid direct sunlight, warm drafts and heated areas for the unit to maintain the normal operating temperature
- Do not position the unit in:
- Wet areas
- Near heat and/or steam sources
- Near flammable substances
- Ensure the unit is positioned on a level surface to allow all the condensation to properly burn off and prevent the burn off tray overflowing
- Allow an air gap between the unit and other objects or surfaces. A minimum gap of 100mm from all sides is recommend for normal operational use (if the unit is near any heat sensitive material we suggest you allow additional space), example below
- After positioning the unit, allow the refrigeration gas to settle for at least 2 hours before switching ON

- Please consult national and local standards to ensure that your unit is positioned in accordance with any existing requirement
Refrigeration
The system is fully operational as soon as it leaves the factory. No addition setup is required.
| WARNING | |
| SYSTEM CHARGED WITH FLAMMABLE REFRIGERANT R290 This unit must be serviced in accordance with AS/NZS 1677:1998 |
Climate Classes
The unit has been designed and tested to operate at climate class 4. Refer to the Technical Specifications of this manual or the unit rating label for the climate class number.
| CLIMATE CLASSES | ||
| Test Room Climate Class | Ambient temperature °C | Relative humidity % |
| 0 | 20°C | 50 |
| 1 | 16°C | 80 |
| 2 | 22°C | 65 |
| 3 | 25°C | 60 |
| 4 | 30°C | 55 |
| 5 | 40°C | 40 |
| 6 | 27°C | 70 |
| 7 | 35°C | 75 |
| N | +16°C – +32°C | – |
| SN | +10°C – +32°C | – |
| ST | +18°C – +38°C | – |
| T | +18°C – +43°C | – |
Electrical Connection
Information
| WARNING | |
| This unit must be installed in accordance with AS/NZS 60335.1 Some procedures in this manual require the power to the equipment to be turned off and isolated. Turn the power OFF at the power point and unplug the power supply lead by the plug body. If the power point is not readily accessible turn the equipment off at the isolation switch or the circuit breaker in the switchboard. Attach a yellow “CAUTION-DO NOT OPERATE” tag. This must be performed where relevant unless the procedures specify otherwise. FAILURE TO DO SO MAY RESULT IN ELECTRIC SHOCK. |
Single Phase Units:
- Supplied and fitted with an appropriately rated plug and lead, indicated as: – 10A plug & lead fitted
Notes:
- If the supply cord is damaged, it must be replaced by the manufacturer, its service agent or similarly qualified persons in order to avoid a hazard. Please contact Stoddart for parts and we will advise how to do this in order to avoid any electrical hazard
- The power cable should be dry and/or isolated from moisture or water
Plumbing
The unit is supplied with a condensate burn-off tray. No additional drainage or plumbing is required.
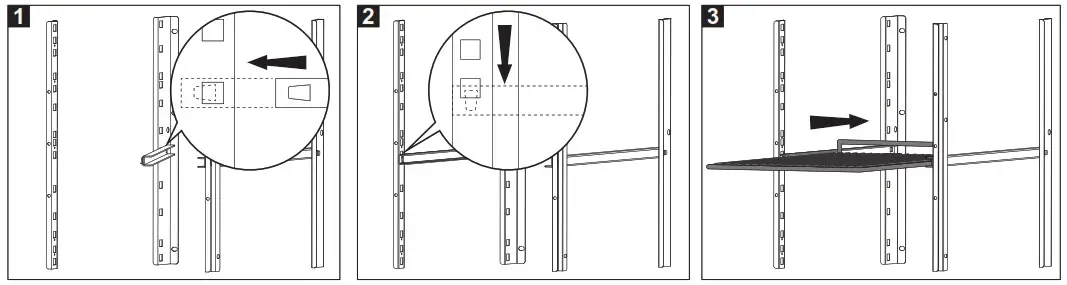
Adjustable Shelves
Shelf Installation
Note: Do not use pliers when installing shelf clips
- Insert the back clip of the tray slide into the upright rail
- Insert the front clip of the tray slide into the upright rail, then pull downward. Ensure both tray slides (two slides per shelf) are positioned at the same height
- Slide the shelf into position

Specifications
General Drawing
AXR.UCGN.2G
| Model | AXR.UCGN.2 |
| W x D x H (mm) | 1360 x 700 x 840 |
| Weight | 92kg |
| Capacity | 196 Litres |
| Operation | 0°C – 6°C |
| Refrigerant | R290 |
| Climate Class | 4 |
| Max Ambient | 40°C |
| Power | 220 – 240V 10A plug & lead |
AXR.UCGN.3
| Model | AXR.UCGN.3 |
| W x D x H (mm) | 1795 x 700 x 840 |
| Weight | 114kg |
| Capacity | 294 Litres |
| Operation | 0°C – 6°C |
| Refrigerant | R290 |
| Climate Class | 4 |
| Max Ambient | 40°C |
| Power | 220 – 240V 10A plug & lead |

AXR.UCGN.3G
| Model | AXR.UCGN.3G |
| W x D x H (mm) | 1795 x 700 x 840 |
| Weight | 130kg |
| Capacity | 294 Litres |
| Operation | 0°C – 6°C |
| Refrigerant | R290 |
| Climate Class | 4 |
| Max Ambient | 38°C |
| Power | 220 – 240V 10A plug & lead |

AXR.UCGN.4
| Model | AXR.UCGN.4 |
| W x D x H (mm) | 2230 x 700 x 840 |
| Weight | 132kg |
| Capacity | 421 Litres |
| Operation | 0°C – 6°C |
| Refrigerant | R290 |
| Climate Class | 4 |
| Max Ambient | 40°C |
| Power | 220 – 240V 10A plug & lead |

AXR.UCGN.4G
| Model | AXR.UCGN.4G |
| W x D x H (mm) | 2230 x 700 x 840 |
| Weight | 152kg |
| Capacity | 421 Litres |
| Operation | 0°C – 6°C |
| Refrigerant | R290 |
| Climate Class | 4 |
| Max Ambient | 38°C |
| Power | 220 – 240V 10A plug & lead |

Operation
Initial Start-up & Operation
| IMPORTANT | |
| This unit is not designed to cool down hot/warm product. It only maintains the product at the controlled 0°C – 6°C |
Controller

Initial Start Up
- Before switching ON the unit, ensure the unit is installed correctly
- Once switched ON, check that the air is flowing within the unit
- After 45 minutes check the cabinet temperature has reached 0°C – 6°C
- Leave the unit to operate for 1-2 hours to remove any fumes or odours
- Clean the whole unit, including the shelves, before placing in product
Food Temperature
- Ensure the unit is maintaining temperature is between 0°C – 6°C
- Ensure the doors are CLOSED when not loading to maintain temperature
- Do NOT place warm/hot items in the unit to chill, placing warm/hot items in the unit can lead to food spoilage and possibly food poisoning
Loading Restrictions
- Air vents must NOT be covered
- There should NOT be any overhang of products on the shelves
- Shelves are only designed to hold one layer of product. Overloading can break/damage the shelves
- Remove some products if the shelves are flexing or bending
- Shelves should be adjusted to allow air space around all the product for even refrigeration and efficient operation of the Refrigerator. Leave an air space of at least 50mm above the product for air circulation
Defrost Cycle – Automatic
- The system has an automatic defrost system which improves the energy efficiency of the unit and minimises temperature fluctuations
- After the unit is first switched ON, the first defrost cycle will occur automatically after 6 hours. If the unit is NOT turned OFF, the unit will defrost automatically 4 times per day or every 6 hours
- If air is not circulating properly, a manual defrost cycle can be made. Normal automatic defrost cycles will still occur every 6 hours even if a manual cycle has been run in between cycles. Check the electronic controller section for more information
- The defrost cycle terminates when the temperature of the evaporator coil rises to 6°C or after 30 minutes. Products will remain refrigerated during defrost cycle if the doors remain closed
- For changing of defrost cycle settings, contact Stoddart or an approved service technician
Defrost Cycle – Manual
The unit may need to be manually defrosted:
- Press and hold the DEFROST button for 5 seconds
- The defrost cycle will start immediately and the Defrost LED illuminates. The defrost will last a maximum of 30 minutes
After Service – Information
- The unit should NOT be turned OFF after service
- The unit will maintain set temperature after service
- Switch OFF lights and door heaters to minimise power. Ensure all doors are closed
After Service – Storage
- Products can either be stored in the unit or placed in night storage. Do NOT place warm items in the unit to chill over night
- All storage of product should comply with local health standards and regulations
Temperature Adjustment
- The temperature range of this unit is 0°C – 6°C. The recommended operating temperature is 2°C – 4°C
- Different modes require different temperatures
- The temperature probe only measures the temperature of the water/air, NOT the food temperature

KEY FUNCTIONS:
| To display target set point; in programming mode it selects a parameter or confirm an operation. | |
| To start a manual defrost. | |
| To see the maximum stored temperature; in programming mode it browses the parameter codes or increases the displayed value. | |
| To see the minimum stored temperature; in programming mode it browses the parameter codes or increases the displayed value. | |
| To switch the instrument OFF, if onF = oFF. | |
| Not enabled. |
KEY COMBINATIONS:
| To lock and unlock the keyboard. | |
| To return to the room temperature display. |
HOW TO SEE THE SET POINT:
![]()
- Push and immediately release the SET key, the display will show the set point value
- Push and immediately release the SET key or wait 5 seconds to display the probe value again
HOW TO CHANGE THE SET POINT:
- Push the SET key for more than 2 seconds to change the set point value
- The value of the set point will be displayed and the “°C” LED starts blinking
- To change the set point value push the
or
arrows within 10 seconds - To memorise the new set point value push the SET key again or wait 10 seconds
Note: To enter in programming mode. (Contact the Stoddart Service Department)
Cleaning and Maintenance
Cleaning
General Information
- Cleaning is recommended for health and safety purposes and to prolong the life of the unit
- DO NOT use abrasive pads or cleaners on the stainless steel or any other metal parts of the unit
- DO NOT use industrial chemical cleaners, flammable cleaners, caustic based cleaners or bleaches and bleaching agents, as many will damage the metals and plastics used on this unit
- DO NOT remove any screws and/or panels for cleaning (unless directed)
- This unit is NOT waterproof, DO NOT hose, DO NOT pour water directly onto the unit, DO NOT immerse in water
Corrosion Protection
- Stainless steel exhibits good resistance to corrosion however, if not properly maintained stainless steel can rust and/or corrode
- Any sign of mild rust and/or corrosion should be thoroughly cleaned with warm soapy water and dried as soon as possible
- NEVER use abrasive pads or cleaners for cleaning
- All metal surfaces should be checked while cleaning for damage, scuffs or scrapes as these can lead to rust and further damage to the product
- Mild rust and/or corrosion can be treated with a commercial cleaning agent that contains citric/oxalic/nitric/phosphoric acid. DO NOT use cleaning agents with chlorides or other harsh chemicals as this can cause corrosion. After treatment, wash with warm (not hot) soapy water and dry thoroughly
- Thoroughly wipe the surfaces dry after cleaning. DO NOT let water pool on the unit. Check crevices and folds for pooling
- When using, ensure all liquids and moisture is cleaned up straight away. Food liquids such as juices from vegetables and fruits should not be left on preparation surfaces
- DO NOT leave items on the stainless steel such as cutting boards, rubber mats and bottles
Surface Finish
- To protect the polished surface of the stainless steel, it should be dried using a clean dry soft cloth. A light oil can be applied to enhance the stainless steel surface, using a clean cloth apply the oil in the same direction as grained polished finish
- Some commercial stainless steel cleaners can leave residue or film on the metal; this may trap fine particles of food on the surface, thus deeming the surfaces not food safe
| IMPORTANT | |
| Threaded fasteners can loosen in service. Regular inspection and adjustment should be carried out as required | |
| IMPORTANT | |
| Some commercial stainless steel cleaners leave residue or fi lm on the metal that may entrap fi ne particles of food, deeming the surface not FOOD SAFE | |
| WARNING | |
| This unit is NOT waterproof, DO NOT hose. DO NOT pour water directly onto the unit. DO NOT immerse in water | |
| WARNING | |
| This unit includes refrigeration components. Cold surfaces can burn DO NOT touch these surfaces |
Cleaning Schedule
- Regular cleaning is recommenced for the unit. This will help to maintain and prolong the efficiency of the unit
Materials Required
- Stainless Cleaner
- Non Abrasive Cleaning pad
- Clean Sanitised Cloth
- Paper Towel
- Warm Soapy Water
- Appropriate PPE (Personal Protective Equipment)
Refrigerator
- Isolate the unit from the power supply
- Remove shelves and wash separately in a dishwasher or kitchen sink, thoroughly wipe dry after cleaning
- Using a good quality nylon brush remove crumbs and small food items
- Clean using a clean cloth dampened (not wet) with clean warm soapy water until all soil has been removed
- Thoroughly wipe dry with a soft cloth after cleaning, do NOT allow to air dry. Do NOT let water pool, check crevices and folds
Door Seal
- Clean the door seal using a clean cloth dampened (not wet) with warm water
Display Glass
- Clean the glass with a glass cleaner or warm (not hot) soapy water, and a sponge
- Using a squeegee, remove all water from the glass
External Surfaces
- Using a clean cloth dampened (not wet) with clean warm soapy water until any grime has been removed
- Using a clean sanitised cloth, thoroughly wipe the stainless steel and metal parts dry. Do NOT let water pool on the unit. Check crevices and folds
Ventilation Panels / Filter
- Use a vacuum and/or brush to remove dust and debris from the filter and all ventilation panels
- Do NOT use water or a hose to remove dust or debris
Condenser
Periodic cleaning of the condenser can extend the life of the unit. This must be done by a qualified service technician. Contact the Stoddart service department
Troubleshooting
Troubleshooting Procedures
- If any faults/issues occur with the unit, follow the below troubleshooting procedures
- If the troubleshooting procedures do not correct the problem, contact the Stoddart Service Department
| WARNING | |
| Technician tasks are only to be completed by qualified service people. Check faults before calling service technician. |
(O) = Operator (T) = Technician Task
| Problem | Possible Causes | Task | Possible Corrective Action |
| Unit does not operate/start | The mains isolating switch on the wall, circuit breaker or fuses are OFF at the power board | 0 | Turn isolating switch, circuit breaker or fuses ON |
| The main switch of the unit is OFF | 0 | Turn the main switch ON | |
| Condenser unit Is OFF | 0 | Turn ON condenser unit | |
| Electrical wiring damaged | T | Replace / Fix electrical wiring | |
| Condenser unit broken | T | Replace / Fix refrigeration unit | |
| Faulty electronic controller | T | Replace controller | |
| Main circuit board is not | T | Replace / Fix circuit board | |
| Refrigeration circuit board(s) is hot | T | Replace / Fix circuit board(s) | |
| Unit Is too warm | Ambient air entering the units | 0 | Door not closing / sealing |
| 0 | Move unit / exhaust fan | ||
| 0 | Open baffle | ||
| Warm Items In unit | 0 | “Pre-chill / Remove Items /Walt 30mln for Items to chill” | |
| Alr not circulating | 0 | Remove some Items / Clear air vents / Grills | |
| Too many Items in the unit (overloaded) | 0 | Remove some Items | |
| Items obstructing air vents / grills | 0 | Re-position items | |
| Defrost cycle is ON / Just finished | 0 | Wait 30min for cabinet to cool | |
| Evaporator coil fins blocked | 0/T | Clean fins / Run defrost cycle | |
| Evaporator coil Iced up | T | “Adjust defrost cycle to match environment / Remove warm items / Fix or replace door seals” | |
| Temperature probe broken / disabled | T | Replace / Enable probe | |
| Set point temperature too high | T | Adjust the set point temperature | |
| Temperature probe damaged | T | Replace temperature probe | |
| Evaporator fans not operating | T | Replace / Fix fans | |
| Undercharge | T | Add refrigerant | |
| Faulty electronic controller | T | Replace controller | |
| Direct sunlight | 0 | Block sunlight, window shades | |
| Unit Is too cold | Temperature probe broken/disabled | T | Replace / Enable probe |
| Faulty electronic controller | T | Replace controller | |
| Continuous cycle setting ON (integral units) | T | Turn OFF continuous cycle | |
| Set point temperature too low | T | Adjust set point temperature |
Alarm Signals
| Display | Cause |
| EE | Data or memory failure |
| P1 | Probe failure |
| HA | Maximum temp. alarm |
| LA | Minimum temp. alarm |
| EA | External alarm |
Disposal
If the appliance is no longer of use, please dispose in an environmentally correct way. Contact a qualified service technician:
- To recover all refrigerant
- To remove the compressor or remove the oil from the compressor
The distributor / retailer can contact their local metal recycling centre to collect the remaining cabinet, shelves, etc.
There may be special requirements or conditions. Information on the disposal of refrigeration appliances can be obtained from:
- Your supplier
- Government authorities (The local council, Ministry of the Environment, etc.)
Discarded electric appliances are recyclable and should not be discarded in the domestic waste! Please actively support us in conserving resources and protecting the environment by returning this appliance to the collection centres (if available).
Dispose of packaging in accordance to applicable legal regulations.
Australia
| Service / Spare Parts Tel: 1300 307 289 Email: [email protected] Email: [email protected] | www.stoddart.com.auAustralian Business Number: 16009690251 | Sales Tel: 1300 79 1954 Email: [email protected] |
New Zealand
| Service / Spare Parts Tel: +617 3440 7600 Email: [email protected] Email: [email protected] | www.stoddart.com.au | Sales Tel: +617 3440 7600 Email: [email protected] |
International
| Service / Spare Parts Tel: +617 3440 7600 Email: [email protected] Email: [email protected] | www.stoddart.com.au | Sales Tel: +617 3440 7600 Email: [email protected] |

Due to continuous product research and development, the information contained herein is subject to change without notice.
www.stoddart.com.au www.stoddart.co.nz
innovative solutions
Revision Date: 11/02/2021























