pure boxing 8918PP Kids Pro Freestanding Reflex Punching Bag
LIMITED WARRANTY
Global Quality Brands® warrants this product to be free from defects in workmanship and materials under normal use and conditions for a period of 90 DAYS FROM THE DATE OF ORIGINAL PURCHASE. This Limited Warranty is not transferable and is available only for the original purchaser of the Product. The Company’s obligation under this warranty is limited to replacing or repairing the Product, at the discretion of the company.
All warranty coverage extends only to the original retail purchaser from the date of purchase, GQ Brands obligation under this warranty is limited to replacing or repairing, at Global Quality Brands® option. All products for which a warranty claim is made must be received by Global Quality Brands® and accompanied by sufficient proof of purchase (photocopy of the original store receipt, indicating the date of purchase). All freight and handling fees are the responsibility of the consumer to pay, both to and from Global Quality Brands®. All warranty claims must be pre-authorized by Global Quality Brands® preauthorization can be obtained by calling 866-498-5269.
This warranty does not cover ordinary wear and tear, weathering, failure to follow directions, improper installation, improper maintenance, or acts of nature, (such as damage caused by wind, lightning, snow, water, or ice) weather damage, damage caused by unauthorized repair work or damage caused by improper use of the products are not covered by the product warranty. No other warranty beyond that specifically set forth above is authorized by GQ Brands®.
GLOBAL QUALITY BRANDS® IS NOT RESPONSIBLE OR LIABLE FOR INDIRECT, SPECIAL OR CONSEQUENTIAL DAMAGES ARISING OUT OF OR IN CONNECTION WITH THE USE OR PERFORMANCE OF THE PRODUCT OR OTHER DAMAGES WITH RESPECT TO ANY ECONOMIC LOSS, LOSS OF PROPERTY, LOSS OF REVENUE OR PROFITS, LOSS OF ENJOYMENT OR USE, COST OF REMOVAL, INSTALLATION OR OTHER CONSEQUENTIAL DAMAGES. SOME STATES DO NOT ALLOW THE EXCLUSION OR LIMITATION OF INCIDENTAL OR CONSEQUENTIAL DAMAGES. ACCORDINGLY, THE ABOVE LIMITATION MAY NOT APPLY TO YOU. THE WARRANTY EXTENDED HEREUNDER IS IN LIEU OF ALL OTHER WARRANTIES AND GLOBAL QUALITY BRANDS®, SPECIFICALLY DISCLAIMS ANY IMPLIED WARRANTY OF MERCHANTABILITY OR FITNESS FOR A PARTICULAR PURPOSE IS LIMITED IN ITS SCOPE AND DURATION TO THE TERMS SET FORTH HEREIN. SOME STATES DO NOT ALLOW LIMITATIONS ON HOW LONG AN IMPLIED WARRANTY LASTS
ACCORDINGLY, THE ABOVE LIMITATION MAY NO APPLY TO YOU. THIS WARRANTY GIVES YOU SPECIFIC LEGAL RIGHTS. YOU MAY ALSO HAVE OTHER RIGHTS, WHICH VARY FROM STATE TO STATE: WHILE EVERY ATTEMPT IS MADE TO ENSURE THE HIGHEST DEGREE OF PROTECTION IN ALL EQUIPMENT, WE CAN NOT GUARANTEE FREEDOM OF INJURY. THE USER ASSUMES ALL RISK OF INJURY DUE TO USE OR INSTALLATION. ALL MERCHANDISE IS SOLD ON THIS CONDITION, WHICH NO REPRESENTATIVE OF GQ BRANDS® CAN WAIVE OR CHANGE.
CHOKING HAZARD
Small Parts NOT for children under 3 years of age. Adult assembly required.
PROP 65 WARNING
THIS PRODUCT CAN POSSIBLY EXPOSE YOU TO CHEMICALS INCLUDING Dl(2-ETHYLHEXYL) PHTHALATE (DEHP). WHICH IS KNOWN TO THE STATE OF CALIFORNIA TO CAUSE CANCER AND BIRTH DEFECTS OR OTHER REPRODUCTIVE HARM. FOR MORE INFORMATION GO TO WWW.P65WARNINGS.CA.GOV.
Please read these warnings and the information in this manual in its entirety. Failure to comply with the following instructions may increase the risk of serious injury and/or death:
IMPORTANT: Be sure to stay at least 5ft away from any doorway or obstruction when using this bag. Avoid any area where people may pass by and cause contact that may result in an injury. Included Boxing gloves need to be worn when using the Bag to ensure safety. Boxing sports are contact sports. Any contact sport can be dangerous and result in serious injury. This equipment will provide limited protection but will not protect against serious injury. Anyone using this equipment must assume the risk of any injury.
- Adult assembly and supervision required.
- This bag is intended for children ages 6 and up. Not recommended for children under: 3 years of age.
- Never wear rings, jewelry or sharp objects while using this product.
- Always moisten needle prior to first inflation, during necessary re-inflation after vigorous use, or after extended period of inactivity.
- Always check the base for stability prior to use.
- The product bounces back when in use. To avoid injury keep at a safe distance during play.
- DO NOT over-inflate bag
- DO NOT allow other persons or children to stand or sit near the bag while in use.
- DO NOT store punching bag outdoors or where exposed to moisture or extreme temperatures.
- DO NOT wear glasses or helmets when using the bag.
- DO NOT use the bag if it will not fully inflate.
- This punching bag is only designed for normal residential use. It is NOT intended for commercial applications and/or in public areas such as schools, parks, day cares, commercial/communal gyms, etc.
- Indoor use – position so that there is 8 feet of distance between the bag and foreign objects.
- Outdoor use – position well away from water on flat firm ground; ideally grass.
- Ensure area under and around punching bag is clear of any toys/obstacles that may cause injury.
- Keep bag away from hot surfaces or open flames while in use or stored away.
- ALWAYS secure the bag against unauthorized and unsupervised use.
- Dispose of all packaging materials safely and per local ordinance
- Keep bag away from sharp or pointy objects and pets.
- Before each use, inspect and replace any worn, defective or missing parts.
- Immediately discontinue use if any breakage to the frame are found. Failure to do this may result injury and/or further damage to the product.
- Height adjusts from 49″ to 57″
- Dispose of all packaging materials safely and per local ordinance
- Warm up at least 5-10 minutes before each workout and to cool down for at least 5-10 minutes afterwards.
- As with any sport, the participant is subject to a certain amount of risk. Cardio exercise, by its very nature, contains an element of risk of injury for which the user must be responsible.
- Please retain this information for future reference
PARTS LIST
ASSEMBLY INSTRUCTIONS
STEP 1:
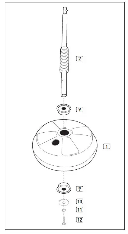
- Part 1 (x1): Base
- Part 2 (x1): Bottom Pole
- Part 9 (x2): Base Cap
- Part 10 (x1) : Washer
- Part 11 (x1): Spring Washer
- Part 12 (x1) : Screw
Place both Base Caps (2) at the bottom and top middle areas of the Base (1). On the bottom of the base, place the Washer (10), Spring Washer (11), and Screw (12) and install. Once the Screw has been installed, place from the top of the base, the Bottom Pole (2) and secure tightly.
STEP 2:
- Part 3 (x1): Middle Pole
Using the Snap and Click button on the bottom pole, push down and slide the Middle Pole so it finds the correct opening.
STEP 3:
- Part 4 (x1): Upper Pole
- Part 12 (x1): Adjustable Knob
With the smaller opening facing upwards to install the Speed Bag, slide the Upper Pole (4) to the Middle Pole until you find a proper height size.
NOTE: Every indent on the Upper Pole is an appropriate size for the Adjustable Knob to be installed on. Once the right height has been chosen, secure the Adjustable Knob (12).
NOTE: Failure to secure in an indent can scratch the Upper Pole and/or can cause the pole to slide off the Base.
STEP 4:
- Part 5 (x1: Speed Bag
- Part 14 (x1): Hand Pump
Find the Speed Bag (5) opening on top of it, and inflate with the Hand Pump (14) until the ball is round and safe to punch. Do not over inflate the Speed Bag, doing so may rupture the Bag and/or may explode during use.
NOTE: The Needle of the Hand Pump can be found and stored away when not in use on the handle itself.
STEP 5:
- Part 11 (x1): Spring Washer
Once Inflated, place a Spring Washer (11) between the Speed Bag and the Upper Pole and twist the Speed Bag clockwise to secure tightly.
STEP 6:
It is required that the Base be filled with either sand or water to stabilize and keep it grounded while in use. Locate the opening to the side of the middle Base Cap on the top part of the Base. Fill with your preferred weight method
STEP 7:
- Part 7 (x1): Base Cap
- Part 8 (x1):Cap Ring
Make sure That the Cap Ring (8) is inside the Base Cap (7) to prevent it from bending or releasing from the opening. Place Base Cap on opening to prevent weight to escape while in use.
FREQUENTLY ASKED QUESTIONS
Question: “Is there any maintenance I need to do for this?”
Answer: Before each use, you should always double-check to make sure all your bolts are tight and secure. If any of the conditions are found, tighten bolts and/or secure any adjustable components. If there is any damage, or if the adjustable components do not stay secured, cease use of the unit immediately and secure from further use .
Question: “Something was missing from the packaging,” “I need to purchase a replacement part” or “I discovered a damaged piece. What should I do?”
Answer: Contact customer service. You must have your proof of purchase and/or order confirmation available to be considered for warranty replacement. You must report missing pieces within 30 days from the date of purchase.\
Question: “How should I clean my bag?”
Answer: you should clean this equipment with a solution of warm water and non-corrosive and/or non-abrasive soap. Dampen a rag with this solution an swipe completely dry before using.\
CUSTOMER SERVICE
Thank you for purchasing: MODEL# 8918PP
If you have an issue with your item, do not return it. Please report items that are damaged or missing parts to the manufacturer GQ Brands within three days of delivery. Contact customer service at customerservice@gqbrands.com to open a ticket. At GQ Brands®, we want all of our customers to be completely satisfied with their purchases. Take time to review the contents of the product you have just received to make sure that all of the parts are included. If you find that any parts are missing or damaged, we will provide replacement parts at no charge within 30 days of purchase.
Please Note: In the interest of better quality and value, we are constantly improving and updating our product information. Most up to date manuals, warnings and product information can be found at:
https://www.globalqualitybrands.com/warnings
References
GQ Brands | Trampolines, Fitness and Sporting Goods Manufacturer
Pure Fun | Trampolines, Playground Equipment, Sporting Goods and more! – Pure Fun Trampolines
Product Registration | GQ Brands
P65WARNINGS.CA.GOV
Pure Fun | Trampolines, Playground Equipment, Sporting Goods and more! – Pure Fun Trampolines
Product Installation and Use Warnings | GQ Brands
Pure Fun | How-To Video: Kids Jumper Trampoline 9001KJ - YouTube

LIMITED WARRANTY





















