EMGA FT005 Dynamic Junior Whisk 190 Gardemixer

WARNING
Never operate your appliance without being immersed in liquid. Turn off the appliance before removing from liquid.
After using it, unplug the machine. Do not allow liquid to enter the motor during use or cleaning. Disconnect the appliance before moving whisk tools. In case of an accidental immersion of the motor, be careful of any electrocution shock : disconnect immediately the plug of the machine. This product includes moving tools. Take care when using it and when cleaning it as there is a risk of cuts. This appliance may be used by children at least 8 years old and by persons with reduced physical, sen-sory or mental capacities or without experience or knowledge if they are correctly supervised or if they have been given instructions on how to use the appliance safely, and if they correctly understand the risks involved. Children must not play with the appliance. Cleaning and care by the user must not be performed by unsupervised children. These appliances are intended to be used for commercial applications, for example in kitchens of restaurants, canteens, hospitals and in commercial enterprises such as bakeries, but-cheries etc but not for continuous mass production of food. That appliance has not to be not be cleaned with a water jet or a steam cleaner. Double insulation : when servicing, use only identical replacement parts .
USE
Dough, creams, light purees can easily be prepared for example
- 2 to 50 white eggs may slowly be whisked up at reduced speed and finalized at high speed ensuring an incomparable density and uniformity.
- But also sponge cake mixtures, almond pastes, souffles Chantilly whipped cream, creams and sauces, pancake mixtures, meringues, whipped cheese, mayonnaise etc.
- This appliance is only for use for preparing food: for any other use, please contact us.
OPERATION
Operation for JUNIOR WHISK
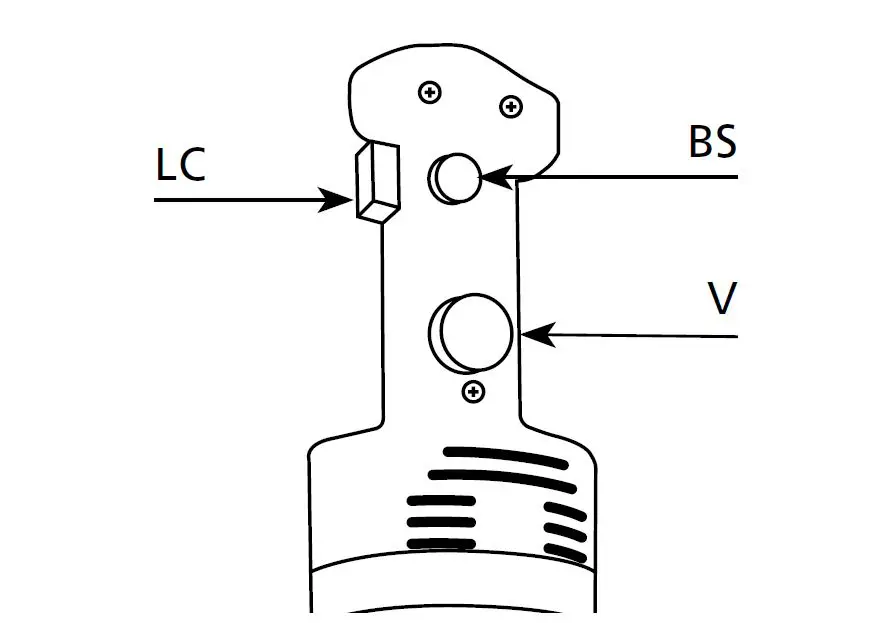
Hold the Junior whisk by the handle with one hand. keep a finger on the (LC) switch without pressing it. With the other hand press the (BS) safety switch. Press and hold down the safety button then press on the control lever (LC), the JUNIOR is now working and you can release the security button. Release the (LC) switch to turn the machine off. While using the mixer you can change the mixing speed by turning the speed variator knob V.
Operation for MASTER WHISK
To operate the dynamic MASTER WHISK., connect the plug. Push on the security button (BS) and press the control lever (LC), the MASTER WHISK is now working and you can release the security button (BS). If you want your mixer to operate by itself, just push the Locking Switch Button (LSB).Only for the USA and Canada. While using the mixer you can change the mixing speed by turning the speed variator knob. To stop the MASTER WHISK, release the control lever (LC).
Precautions for the use of the appliance
- Never run the appliance outside a recipient. After each use unplug the appliance.
- For higher effectiveness we recommend holding the appliance in a slanting position without the whisk tools touching the
- bot-tom of the pan as shown in the sketches opposite 2/3 of the way down the tube.

Never use accessories not recommended by the manufacturer. They may be a hazard for the user and may damage the device. Only use original items and accessories.
CARE
- The appliance can be cleaned using a sponge or a slightly damp cloth.
- To clean the inside of the whisk tools, run the appliance with the whisk tools in clean water for 3 seconds.
- Clean the stand in clean water using washing up liquid if necessary.
- Be careful risk of cuts when cleaning the mixer with the whisk tools.
- NEVER clean the appliance using a hose.
- NEVER immerse the motor block in liquid.
MAINTENANCE
It is preferable to regularly check
- That the power cable is in good condition the copper wires in the cable should not be visible.
- That the appliance is watertight.
- That the whisk tools are sharp.
- If the power cable is damaged, it must be replaced by the manufacturer, its after selfs service or people of similar qualification to avoid danger.
ELECTRIC REQUIREMENTS
The mixer of a class 2 category double insulation powered by a single phase alternating current and does not require a “u” ground plug. The installation must be protected by a ground fault circuit breaker and 10 A calibre fuse. Use a standard 10/16 A single phased socket. Check that the electricity supply voltage and the value on the mixer specifications plate are compatible.
ELECTRICAL DIAGRAM

CERTIFICATE OF CONFORMITY CUSTOMER SERVICE AND WARRANTY
This machine is in accordance with CE standards 
Customer service and warranty
Should your unit require service, contact your distributor for the nearest authorized service centre if you wish your unit to be serviced by the manufacture ship it to
CANADA SERVICE CENTRE DYNAMIC INTERNATIONAL LTD
3227 boul. Pitfield
Saint-Laurent Quebec H4S-1H3
Toll free phone: 1-800-267-7794
Toll free fax: 1-877- 668-6623
Local Phone: (514) 956 0127
Local Fax: (514) 956 8983
USA SERVICE CENTRE DYNAMIC USA
1320 route 9 # 1352 – Champlain, NY – 12919
Toll free phone :1-800-267-7794
Toll free fax :1-877- 668-6623
DYNAMIC FRANCE S.A.S.
518 rue Leo Baekeland – B.P.57 85290 Mortagne-sur-Sevre Cedex – FRANCE
Tel +33 (0)2 51 63 02 72
Fax : +33 (0)2 51 63 02 73
e-mail : [email protected]
Warranty
Your new Dynamic product is warranted to the original purchaser, for a period of one year, from the date of purchase. DYNAMIC warrants products to be free of manufacturing defects for a period of one year from the day of original shipment, covering all parts and labor. Damage caused by impro-per use, accident and/or abuse are not considered to be manufacturing defects. DYNAMIC will repair or replace, at its discretion, defective products returned to an authorized warranty repair center, freight prepaid one way. Unauthorized work on the products during the warranty period will void this warranty. The portion below must be sent to the Service Centre within 10 days from the purchase date.





















